北京新增本土100+366,45例社会面筛查发现!
11月17日0时至24时,北京新增100例本土确诊病例和366例无症状感染者(含8例无症状感染者转确诊病例,其中218例已通报),413例隔离观察人员、45例社会面筛查人员,无新增疑似病例;新增1例境外输入确诊病例和3例无症状感染者,无新增疑似病例。治愈出院45例,解除医学观察的无症状感染者19例。
社会面筛查人员45例
【朝阳区】
确诊病例1:朝阳区金盏嘉园C区。
确诊病例2、3:朝阳区金盏嘉园D区。
确诊病例4:朝阳区建国路18号珠江绿洲。
确诊病例5:朝阳区康营家园24区。
无症状感染者4:朝阳区裕民东里。
无症状感染者5:朝阳区东辛店村206号。
无症状感染者6:朝阳区蟹岛西路9号。
无症状感染者7:朝阳区安慧北里秀园。
无症状感染者8:朝阳区金隅汇景苑。
无症状感染者9:朝阳区慧谷阳光。
无症状感染者10:朝阳区环东路6号。
无症状感染者11:朝阳区万子营东村142号。
无症状感染者12:朝阳区驼房营南路梵谷水郡。
无症状感染者13:朝阳区金盏嘉园B区。
无症状感染者14、15:朝阳区金盏嘉园C区。
无症状感染者16:朝阳区赢秋苑1号楼底商。
无症状感染者17:朝阳区首开熙悦尚郡。
无症状感染者18:朝阳区康营家园15区。
【海淀区】
确诊病例6:海淀区紫金庄园。
确诊病例7:海淀区花园北路35号。
确诊病例8:海淀区花园路街道甲13号院。
确诊病例9:海淀区茉莉园二期。
确诊病例10:海淀区东王庄小区西二区。
无症状感染者19:海淀区中关村南大街19号院。
无症状感染者20: 海淀区健德公寓。
【门头沟区】
确诊病例11:门头沟区西山社区。
无症状感染者23: 门头沟区龙泉三家店新河西路小区。
无症状感染者24: 门头沟区西老店19号。
【东城区】
无症状感染者1:东城区兴化小区西里康鸿家园。
无症状感染者2:东城区香饵胡同1号楼。
无症状感染者3:东城区左安浦园。
【丰台区】
无症状感染者21: 丰台区新华街四里小区。
【石景山区】
无症状感染者22: 石景山区古城街道37°公寓。
【通州区】
无症状感染者25: 通州区玉甫上营村63号。
【顺义区】
无症状感染者26: 顺义区楼台村南庙胡同25号。
【昌平区】
无症状感染者27: 昌平区北七家镇东沙各庄村。
无症状感染者28: 昌平区龙跃苑三区。
无症状感染者29: 昌平区旗胜家园。
无症状感染者30: 昌平区天通苑西三区。
无症状感染者31: 昌平区香屯村184号。
【大兴区】
无症状感染者32: 大兴区狼垡四村铁信巷南2排。
无症状感染者33: 大兴区民顺路6号院。
无症状感染者34: 大兴区新苑南区。
隔离观察人员413例
确诊病例12至18:现住东城区;
无症状感染者35至63:现住东城区;
确诊病例19:现住西城区;
无症状感染者64至89:现住西城区;
确诊病例20至49:现住朝阳区;
无症状感染者90至186:现住朝阳区;
确诊病例50至83:现住海淀区;
无症状感染者187至202:现住海淀区;
确诊病例84至86:现住丰台区;
无症状感染者203至222:现住丰台区;
确诊病例87、88:现住门头沟区;
无症状感染者226至233:现住门头沟区;
无症状感染者223、224、225:现住石景山区;
无症状感染者234至239:现住房山区;
无症状感染者240至251:现住通州区;
确诊病例89:现住顺义区;
无症状感染者252至267:现住顺义区;
确诊病例90:现住昌平区;
无症状感染者268至354:现住昌平区;
确诊病例91:现住大兴区;
无症状感染者355至361:现住大兴区;
确诊病例92:现住密云区。
无症状感染者362:现住怀柔区。
无症状感染者363:现住平谷区。
无症状感染者364、365、366:现住经开区。
境外输入确诊病例
境外输入确诊病例:中国籍,11月12日从法国到达北京首都机场,经闭环管理送至集中隔离酒店,11月17日诊断为确诊病例。
上述病例均已转至定点医院,已开展流行病学调查,按要求落实管控措施。
北京卫健委提醒:疫情防控,人人有责,每个人都是疫情防控主体。请市民朋友减少聚集性活动,不聚餐聚会,少走亲访友,少参加宴请宴会,非必要不前往人员密集场所,积极接种疫苗,坚持戴口罩、勤洗手、常通风,保持安全社交距离,进入公共场所配合扫码测温、查验核酸阴性证明等各项防控措施。若外出就餐要配合测温扫码查验,非进餐时科学佩戴口罩,在店内外候餐区、取餐区要避免人员聚集,保持安全社交距离,注意手卫生,提倡隔位就坐,倡导无接触式点餐、结账。
请与官方公布的病例活动轨迹有交集人员,风险地区进返京人员,接到电话、短信、健康宝异常提示风险人员,立即主动向所在社区(村)、工作单位、居住酒店电话报备,本人和同住人居家或居店不外出、不接待来访亲友,接受流调时,要如实报告个人信息和行程轨迹,配合做好集中隔离、居家隔离、健康监测、核酸检测等各项防控措施。
经开区通报新增风险点位
11月18日凌晨,北京经开区疾病预防控制中心发布关于开展到访风险点位自报备工作的公告——
11月14日10时至12时,前往海梓府小区南边公园的所有人员。
11月15日11时至12时,前往瀛海兴海便民服务市场的所有人员。
11月16日11时至13时,前往瀛海足球公园路边草地的所有人员。
11月17日10时至12时,前往瀛海兴海便民服务市场右手边砖墙沙堆的所有人员。
请立即主动向社区(村)、单位、居住酒店报备,按照高风险人员配合落实各项防疫措施。请居家隔离的居民足不出户,加强健康监测,配合核酸检测。
有交集请报备!
瀛海镇防控办电话
010-69277007
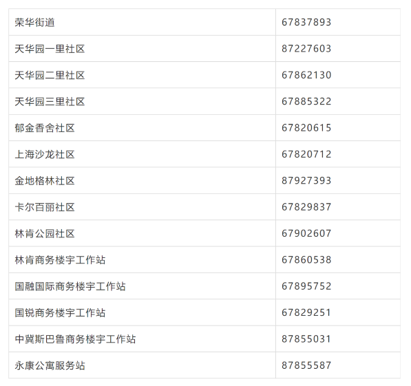
荣华街道及各社区联系电话

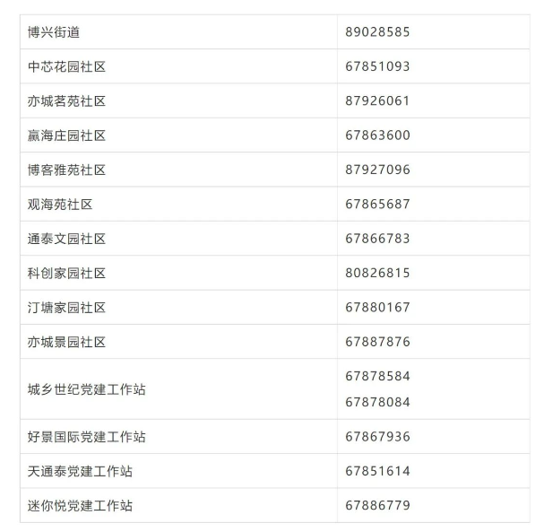
博兴街道及各社区联系电话

转载自北京日报