北京昨新增本土197+174,四区通报新增风险点位涉医院、多条地铁
11月15日0时至24时,北京新增197例本土确诊病例和174例无症状感染者(含10例无症状感染者转确诊病例,其中170例已通报),321例隔离观察人员、40例社会面筛查人员,无新增疑似病例;新增5例境外输入确诊病例(含1例无症状感染者转确诊病例)和4例无症状感染者,无新增疑似病例。治愈出院46例,解除医学观察的无症状感染者16例。
社会面筛查人员
【西城区】
确诊病例1:现住西城区白广路41号。
【朝阳区】
确诊病例2:现住朝阳区世华泊郡。
确诊病例3:现住朝阳区南湖东园二区。
确诊病例4:现住朝阳区美景东方。
确诊病例5:现住朝阳区康营家园6区。
确诊病例6:现住朝阳区康营家园29区。
确诊病例7:现住朝阳区花家地东路3号。
确诊病例8:现住朝阳区和平村E区。
确诊病例9:现住朝阳区东大桥路甲16号楼。
无症状感染者1:现住朝阳区褡裢坡村266号。
无症状感染者2:现住朝阳区褡裢坡村266号。
无症状感染者3:现住朝阳区东辛店村190号。
无症状感染者4:现住朝阳区金兴路2号院。
无症状感染者5:现住朝阳区京旺家园四区。
无症状感染者6:现住朝阳区京旺家园一区。
无症状感染者7:现住朝阳区林奥嘉园。
无症状感染者8:现住朝阳区楼梓庄村。
无症状感染者9:现住朝阳区石各庄村。
无症状感染者10:现住朝阳区天畅园。
无症状感染者11:现住朝阳区万象新天三区。
无症状感染者12:现住朝阳区望京西园二区。
无症状感染者13:现住朝阳区西坝河北里。
【海淀区】
确诊病例10:现住海淀区水岸家园。
确诊病例11:现住海淀区东王庄小区。
无症状感染者14:现住海淀区半壁店第二社区。
无症状感染者15:现住海淀区水岸家园。
【丰台区】
确诊病例12:现住丰台区造甲村。
无症状感染者16:现住丰台区东大街西里。
无症状感染者17:现住丰台区广安康馨家园。
无症状感染者18:现住丰台区角门北路8号院。
无症状感染者19:现住丰台区丽泽雅园。
【顺义区】
确诊病例13:现住顺义区赵全营镇禧瑞墅。
【昌平区】
确诊病例14:现住昌平区路庄村。
确诊病例15:现住昌平区讲礼新村。
无症状感染者21:现住昌平区金科帕提欧。
无症状感染者22:现住昌平区顺沙路19号院一区。
无症状感染者23:现住昌平区云趣园一区。
【大兴区】
确诊病例16:现住大兴区金科嘉苑。
确诊病例17:现住大兴区八家村。
【通州区】
无症状感染者20:现住通州区通瑞嘉苑。
隔离观察人员
确诊病例18至24:现住东城区;
无症状感染者24至35:现住东城区;
确诊病例25至28:现住西城区;
无症状感染者36至39:现住西城区;
确诊病例29至122:现住朝阳区;
无症状感染者40至118:现住朝阳区;
确诊病例123至132:现住海淀区;
无症状感染者119至135:现住海淀区;
确诊病例133至142:现住丰台区;
无症状感染者136至143:现住丰台区;
无症状感染者144:现住石景山区;
无症状感染者145:现住门头沟区;
确诊病例143:现住房山区;
无症状感染者146:现住房山区;
确诊病例144至148:现住通州区;
无症状感染者147、148、149:现住通州区;
确诊病例149至161:现住顺义区;
无症状感染者150至155:现住顺义区;
确诊病例162至175:现住昌平区;
无症状感染者156至163:现住昌平区;
确诊病例176至185:现住大兴区;
无症状感染者164至172:现住大兴区;
确诊病例186、187:现住延庆区。
无症状感染者173、174:现住经济技术开发区。
境外输入确诊病例
确诊病例1:韩国籍,11月12日从韩国到达北京首都机场,经闭环管理送至集中隔离酒店,11月15日诊断为确诊病例。
确诊病例2:中国籍,11月11日从中国香港到达北京首都机场,经闭环管理送至集中隔离酒店,11月15日诊断为确诊病例。
确诊病例3:中国籍,11月13日从德国到达北京首都机场,经闭环管理送至集中隔离酒店,11月15日诊断为确诊病例。
确诊病例4:中国籍,11月11日从中国香港到达北京首都机场,经闭环管理送至集中隔离酒店,11月15日诊断为确诊病例。
确诊病例5:中国籍,11月12日从法国经韩国到达北京首都机场,经闭环管理送至集中隔离酒店,11月13日诊断为无症状感染者,11月15日诊断为确诊病例。
上述病例均已转至定点医院,已开展流行病学调查,按要求落实管控措施。
北京市卫健委提醒,科学规范佩戴口罩是预防新冠病毒感染的有效措施之一。在室内或者室外人员密集场所时,乘坐厢式电梯和飞机、火车、地铁、公交车等公共交通工具时,在餐厅、食堂处于非进食状态时,在医院就诊、陪护、进行核酸检测时,以及出现呼吸道症状时,均应规范佩戴口罩,尤其是老年人和有基础性疾病患者,建议外出全程正确佩戴口罩。
每个人都是自己健康的第一责任人,请广大市民朋友切实履行个人防疫责任,增强防护意识,坚持戴口罩、勤洗手、常通风、保持安全社交距离等良好卫生习惯,避免用手接触口眼鼻;保持良好生活规律,保证充足睡眠,清淡饮食,均衡营养;做好自我健康监测,尽量不去人员密集、通风不良的场所;进入公共场所配合扫码测温、查验核酸阴性证明等各项防控措施,守护好自己和家人的身体健康。
北京积水潭医院回龙观院区
发热门诊恢复医疗工作
北京积水潭医院11月16日发布公告:北京积水潭医院回龙观院区发热门诊,自2022年11月16日8时起,全面恢复医疗工作。
11月15日晚,北京丰台、延庆、顺义、大兴通报了新增感染者详情及所涉风险点位。
丰台区
丰台疾控15日晚通报,11月13日15时-15日15时丰台区新增53例新冠肺炎病毒感染者,均已转至定点医院。涉及风险点位如下:
11月13日
9:40左右 丰益众菜市场;
9:48左右 会来斋吴记牛羊肉店;
11:30左右 物美新华街店;
13:00-19:40 东城区东方银座写字楼;
14:05左右 果多美(韩庄子二里店);
14:10左右 美利达自行车丰台店;
14:29左右 百栗香(广联超市南侧店);
17:40左右 黄门老灶涮肉芳群路;
17:46-19:00 红帽铁板烧;
18:29左右 禧酥记;
18:32左右 稻香村(万柳店);
18:42左右 牛奶便利店(丰台区丰桥路7号院东侧8号楼底商)。

延庆区
北京延庆15日晚通报,11月15日22时27分,延庆区新增1名核酸阳性人员,为集中隔离观察人员,居住地为延庆区香水园街道中交富力雅郡5号院1号楼1单元。无新增风险点位。已第一时间科学精准采取针对性措施,开展筛查、流调、判密等各环节工作。
顺义区
顺义区疾控中心15日晚通报,11月14日18时-15日18时,顺义区新增28名核酸检测阳性人员,均已转运定点医院治疗。其中,24名为隔离医学观察人员;2名为发热门诊就诊、陪诊人员,2名为常态化核酸检测阳性人员,以上4人溯源清晰,均为区外感染。
特别是2名发热门诊就诊、陪诊人员,自觉在医院停车场等候,提前报备院方、陈述症状,使院方充分准备、必要防护、及时治疗,有效控制了院感风险,行为值得点赞。
这28名核酸检测阳性人员居住地所在的天竺镇楼台村,高丽营镇文化营村、张喜庄村、高丽营四村、T3空间小区,李桥镇李家桥村、南半壁店村,后沙峪镇双裕东区、西田各庄村、古城村,李遂镇李遂村,南法信镇东海洪村,南彩镇河北村,马坡镇衙门村,石园街道五里仓二社区的相关区域已采取临时管控措施。已对上述区域人员进行核酸检测,结果均为阴性。判定的密接人员均已落实管理措施。
人员1:为顺义区通报确诊病例的密切接触者,已于11日集中隔离医学观察。无新增风险点位。
人员2、3、4、5:为顺义区通报确诊病例的关联人员,已于11日居家隔离医学观察。无新增风险点位。
人员6、7:为顺义区通报确诊病例的密切接触者,已于12日集中隔离医学观察。无新增风险点位。
人员8:为顺义区通报确诊病例的密切接触者,已于12日晚集中隔离医学观察。
11月12日
9:10左右 顺义区李桥镇李家桥村停车场核酸采样点;
10:00左右 顺义区李桥镇李家桥村金林兴旺粮油店;
10:10左右 顺义区李桥镇李家桥村平价生鲜超市;
10:30左右 顺义区李桥镇李家桥村金林兴旺粮油店。
人员9、10、11、12:为顺义区通报确诊病例的密切接触者,已于13日集中隔离医学观察。无新增风险点位。
人员13:为顺义区通报确诊病例的密切接触者,已于13日集中隔离医学观察。
11月12日
5:30-6:40 海淀区双清路16号金航道大院;
14:50-16:30 朝阳区安翔路8号社区生活广场;
21:40左右 朝阳区小红门乡牌坊村路6号。
人员14:为顺义区通报确诊病例的密切接触者,已于13日集中隔离医学观察。
11月12日
8:30左右 密云区西大桥路5号对面核酸采样点;
9:10左右 密云区车站路青田联华超市;
9:30左右 密云区车站路福芳煦酒家;
10:00-16:00 密云区沙河村福顺街15号。
人员15:为外区确诊病例的密切接触者,已于13日集中隔离医学观察。
11月12日
10:00-10:10 顺义区南法信镇卫生院对面小广场核酸采样点;
10:55左右 顺义区南法信镇东海洪村立华丽萍商店;
11:05左右 顺义区南法信镇东海洪村龙乐超市。
人员16:为外区确诊病例的密切接触者,已于13日集中隔离医学观察。
11月12日
6:30-19:30 朝阳区曙光西里甲5号凤凰置地广场H座。
人员17:为顺义区通报确诊病例的关联人员,已于14日居家隔离医学观察。
11月12日
10:00-12:00 顺义区安泰大街6号院汲漾美肤美容院;
12:00-17:00 朝阳区劲松南路爱彼医疗机构;
19:50左右 顺义区后沙峪镇安平街5号院2号楼。
11月13日
9:00-17:00 昌平区天通苑南街顶秀青溪小区21号楼;
17:40左右 顺义区高丽营镇夏县营村核酸采样点。
人员18:为顺义区通报确诊病例的关联人员,已于14日居家隔离医学观察。无新增风险点位。
人员19:为外区确诊病例的密切接触者,已于14日集中隔离医学观察。
11月12日
17:10-19:30 朝阳区慧忠北里第二社区泛生子核酸采样点、昌平区天通西苑三区太平庄中二街18号脏脏串店、昌平区天通西苑三区太平庄中二街木子美发店、昌平区天通苑北街道天通西苑二区16号百食特进口商品折扣店。
11月13日
9:00-9:40 密云区河南寨镇金钩村如意街;
15:00-15:05 顺义区石园街道五里仓社区核酸采样点。
人员20:为顺义区通报确诊病例的密切接触者,已于14日集中隔离医学观察。
11月12日
16:00左右 顺义区高丽营镇五村核酸采样点。
人员21:为外区确诊病例的关联人员,已于14日居家隔离医学观察。
11月12日
5:50-20:20 顺义区李桥镇王家场西9号、通州区潞河名苑3号楼、通州区金源泉小区8号楼、通州区梨花园9号楼、朝阳区惠民园6号楼、朝阳区十里堡甲1号院爱这城一期1号楼、朝阳区兴隆家园11号楼、朝阳区雅成一里6号楼、朝阳区珠江罗马嘉园东区50号楼、朝阳区银谷美泉3号楼。
11月13日
5:30-19:50 顺义区李桥镇王家场西9号、通州区潞城镇孙各庄西区7号楼、通州区西营前街29号楼、通州区格兰晴天7号楼、通州区新通国际花园北区23号楼、朝阳区孛旺花园6号院5号楼、朝阳区朝阳路财满街67号院7号楼、朝阳区石佛营西里46号楼、朝阳区驼房营西里13号楼、朝阳区福润四季A区13号楼、顺义区小天竺路36号北京空港奥竺宾馆;
20:00左右 顺义区天竺镇天竺村核酸采样点;
20:10左右 顺义区天竺镇天竺村薛记小吃店;
20:30左右 顺义区小天竺路36号北京空港奥竺宾馆。
人员22、23:为顺义区通报确诊病例的密切接触者,已于14日集中隔离医学观察。无新增风险点位。
人员24:为外区确诊病例的密切接触者,已于14日下午集中隔离医学观察。
11月12日-13日
6:50-19:30 朝阳区曙光西里甲5号凤凰置地广场H座、A座。
11月14日
9:40左右 顺义区马坡镇衙门村核酸采样点;
11:09左右 顺义区马坡镇衙门村菜鸟驿站。
人员25:为发热门诊就诊人员。
11月12日
7:45-19:00 顺义区裕华路28号北京奥冠英有限公司;
19:10左右 顺义区裕华路华大基因核酸采样点。
11月13日
14:10左右 顺义区空港街道优山美地河堤公园核酸采样点。
11月14日
16:20左右 顺义区医院发热门诊。
人员26:为发热门诊就诊人员的陪同人员,是人员25的同住人。
11月13日
14:10左右 顺义区空港街道优山美地河堤公园核酸采样点。
11月14日
16:20左右 顺义区医院发热门诊。
人员27:为常态化核酸检测阳性人员。
11月12日
7:50左右 顺义区李遂镇李遂村核酸采样点;
10:00左右 顺义区旺泉街道宏城花园22号楼李遂熏肉店;
10:30左右 顺义区仁和镇塔河村中石化加油站;
11:45-16:00左右 朝阳区劲松南路爱彼医疗机构;
18:00左右 顺义区旺泉街道宏城花园22号楼李遂熏肉店。
11月13日
8:20左右 顺义区李遂镇李遂村核酸采样点。
11月14日
8:00左右 顺义区李遂镇李遂村核酸采样点。
人员28:为常态化核酸检测阳性人员。
11月12日-14日
6:50左右 顺义区高丽营镇羊坊村宝诚福小吃部;
7:00-18:00 顺义区高丽营镇前渠河村第一渔场绿化工地(其间:14日17:50左右 顺义区南彩镇河北村核酸采样点)。
大兴区
据“这里是大兴”15日晚消息,11月14日15时-11月15日15时,大兴区新增17名新冠肺炎病毒感染者,其中15名为隔离管控人员、2名为社会面筛查人员,全部转入定点医院治疗。具体在京活动轨迹如下:
11月10日
08:50-09:15 大兴区瀛海镇北京达盛昌五金建材销售中心(京岚线南大红门加油站东北侧约280米);
09:35-09:40 大兴区青云店镇北辛屯村乐购生鲜购物超市底商煎饼店;
15:30-15:40 大兴区青云店镇北辛屯村中国移动(北辛屯环路与双北路交叉口北180米);
16:45-16:50 大兴区青云店镇北辛屯村南临街菜鸟驿站;
18:10-18:30 大兴区天宫院街道果然美生鲜生活超市(金科天宸荟店);
19:25-19:50 大兴区青云店镇北辛屯村内五金建材店(北辛屯西路东);
22:00-22:10 地铁4号线(天宫院-生物医药基地);
22:50-23:00 地铁4号线(生物医药基地-天宫院)。
11月11日
06:40-07:00 大兴区黄村镇狼垡四村东路11号世纪华联超市(2018店);
07:35-07:50 大兴区中建一局安装公司(天河北路天宫院派出所东南侧约130米);
09:55-10:05 大兴区黄村镇北京邮电大学世纪学院对面饭馆;
10:10-10:20 大兴区黄村镇狼垡三村“香辣久久鸭”;
10:30-11:20 大兴区兴丰街道绿色兴华市场(兴华大街中段27号);
10:35-11:00 大兴区青云店镇北辛屯村内河南正宗牛肉胡辣汤;
12:40-13:30 兴14路公交车(长丰园二区-大兴中医院);
13:20-13:25 大兴区青云店镇北辛屯村南临街菜鸟驿站;
13:30-13:40 大兴区黄村镇社保卡服务点;
13:40-14:30 兴14路公交车(仁和医院-长丰园二区);
15:55-16:20 大兴区青云店镇胖子面馆(北辛屯村双北路路北安徽板面旁)。
11月12日
5:20-05:45 967路公交车(长丰园二区-地铁大葆台站);
05:50-07:00 地铁房山线大葆台站-6号线车公庄西站;
07:25-07:40 西城区沙县小吃(百万庄东社区店);
10:30-11:05大兴区兴丰街道妙秀竹胸部养护中心(阳光乐府店)及门口核酸检测点;
12:00-12:20 西城区沙县小吃(百万庄东社区店);
14:05-14:15 大兴区青云店镇北辛屯村内东北菜店;
15:00-15:35 大兴区黄村镇狼垡四村铁信巷7号宏达超市(葆台路店);
17:30-18:15 6号线车公庄西站-4号线西红门站;
18:15-18:50 兴79路公交车(地铁西红门站-长丰园二区)。
11月13日
09:20-09:30 大兴区兴丰街道妙秀竹胸部养护中心(阳光乐府店);
13:15-15:20 东城区叶叶菩提(前门旗舰店);
16:40-16:45 大兴区青云店镇北辛屯村内山东呛面馒头(北辛屯主街路西);
16:45-16:55 大兴区青云店镇北辛屯村丹济堂药店;
18:00-18:10 大兴区高米店街道华联超市(香留园店)。
11月14日
13:35-13:45 大兴区兴丰街道仁和医院门诊楼咨询台;
14:10-14:20 大兴区兴丰街道高济百康大药房(兴丰大街2号);
15:25-15:30 大兴区天宫院街道阳光百益大药房(金科嘉苑店);
19:40-19:50 大兴区天宫院街道阳光百益大药房(金科嘉苑店)。
请与上述风险点位有时空交集人员、接到健康宝弹窗提示人员,立即主动向所在社区(村)、工作单位、居住酒店报告,配合落实各项管控措施。
在此提醒广大市民朋友,当前疫情病毒存在传播速度快、隐匿性强的特点,请广大市民继续理解、支持和配合各项防疫要求,切实履行好个人主体责任,增强防护意识,坚持戴口罩、勤洗手、常通风,少聚集、保持安全社交距离,非必要不流动,坚决遏制疫情传播反弹。
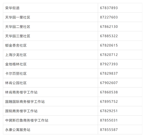
荣华街道及各社区联系电话

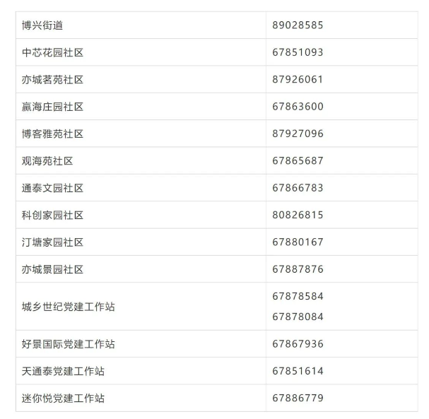
博兴街道及各社区联系电话

来源:北京日报