北京新增本土感染者25例,3例社会面筛查发现!市疾控提醒
11月3日0时至15时,北京新增本土新冠肺炎病毒感染者25例,其中,隔离观察人员22例、社会面筛查人员3例;昌平区10例、密云区5例、朝阳区4例、海淀区3例、通州区2例、门头沟区1例;轻型20例、无症状感染者5例。
相关情况:
感染者459:闭环管理人员,11月2日报告核酸检测结果为阳性,11月3日诊断为确诊病例,临床分型为轻型。
感染者460、462、483:为感染者414同一单位工作人员,现住海淀区车公庄西路21号院。作为密切接触者进行集中隔离,11月2日报告核酸检测结果为阳性,11月3日感染者460、483诊断为确诊病例,临床分型均为轻型,感染者462诊断为无症状感染者。
感染者461:现住朝阳区东泽园1号院2号楼。作为风险人员进行居家隔离,11月3日报告核酸检测结果为阳性,当日诊断为无症状感染者。
感染者463:现住昌平区北郝庄村128号楼。作为感染者416的密切接触者进行集中隔离,11月2日报告核酸检测结果为阳性,11月3日诊断为确诊病例,临床分型为轻型。
感染者464、466、468、471:均为感染者416的同一单位工作人员,现住址分别为昌平区金科帕提欧小区6号楼、龙跃苑四区12号楼。作为密切接触者进行集中隔离,11月2日、3日报告核酸检测结果为阳性,11月3日感染者464、471诊断为无症状感染者,感染者466、468诊断为确诊病例,临床分型均为轻型。
感染者465:为感染者433的同一单位工作人员,现住朝阳区东坝金驹家园F区209号楼。作为密切接触者进行隔离,11月2日报告核酸检测结果为阳性,11月3日诊断为确诊病例,临床分型为轻型。
感染者467、469、472:为感染者416的亲属,现住址分别为昌平区香堂村果园小区6号楼、讲礼村255号、香堂村果园小区4号楼。作为密切接触者进行集中隔离,11月2日、3日报告核酸检测结果均为阳性,11月3日感染者467、472诊断为确诊病例,临床分型均为轻型,感染者469诊断为无症状感染者。
感染者470:为感染者402的同一家庭成员,现住密云区瑞海姆公寓2号楼。作为密切接触者进行集中隔离,11月3日报告核酸检测结果为阳性,当日诊断为确诊病例,临床分型为轻型。
感染者473、482:现住密云区涧桥山小区20号楼。作为感染者454的密切接触者进行集中隔离,11月3日报告核酸检测结果为阳性,当日诊断为确诊病例,临床分型均为轻型。
感染者474:为感染者383的同一家庭成员,现住密云区悦欣汇小区2号楼。作为密切接触者进行集中隔离,11月2日报告核酸检测结果为阳性,11月3日诊断为确诊病例,临床分型为轻型。
感染者475:通过社会面核酸筛查发现,现住朝阳区东晓景鑫方盛五金建材店单位宿舍。11月2日进行常态化核酸检测,11月3日报告结果为阳性,当日诊断为确诊病例,临床分型为轻型。
感染者476:通过社会面核酸筛查发现,现住朝阳区金泽家园A区2号楼。11月2日进行常态化核酸检测,11月3日报告结果为阳性,当日诊断为确诊病例,临床分型为轻型。
感染者477:现住通州区宋庄镇白庙村南街26号。作为密切接触者进行隔离,11月3日报告核酸检测结果为阳性,当日诊断为确诊病例,临床分型为轻型。
感染者478:通过社会面核酸筛查发现,现住通州区永乐店小安村100号。11月2日进行常态化核酸检测,11月3日报告核酸检测结果为阳性,当日诊断为确诊病例,临床分型为轻型。
感染者479:现住昌平区北京服装学院北校区。作为密切接触者进行集中隔离,11月3日报告核酸检测结果为阳性,当日诊断为确诊病例,临床分型为轻型。
感染者480:为感染者398的同一家庭成员,现住密云区上河湾南区14号楼。作为密切接触者进行集中隔离,11月3日报告核酸检测结果为阳性,当日诊断为确诊病例,临床分型为轻型。
感染者481:现住昌平区新龙城1期15号楼。11月1日乘坐G72次列车抵京,作为风险人员进行居家隔离,11月3日报告核酸检测结果为阳性,当日诊断为确诊病例,临床分型为轻型。
经流行病学调查分析,本市近日发生多起聚集性疫情,截至目前,朝阳区东坝停车场关联聚集性疫情累计报告病例13例;昌平区北七家关联聚集性疫情累计报告病例20例;海淀区车公庄西路21号院关联聚集性疫情累计报告病例5例。
当前本市聚集性疫情和京外输入散发病例交织,疫情防控处于关键期。要慎终如始坚持“外防输入、内防反弹”,压紧压实“四方责任”,社区(村)、市场商超、文娱健身、酒店民宿、餐饮机构等公共场所要切实履行主体责任,加强风险人员和风险点位排查管控,设立人员台账,实时更新,动态管理,严格落实扫码测温、查验核酸阴性证明等防控措施,加强人员健康教育,督促做好戴口罩、勤洗手、保持安全社交距离等个人防护措施。要做好集中隔离、居家隔离和居家健康监测规范管理、风险评估和服务保障工作,居家隔离、居家健康监测人员及其同住人员严格居家,足不出户,配合做好核酸检测、健康监测,一旦出现发热、干咳、乏力、嗅觉味觉减退等症状,不自行购药服药,立即报告社区并配合相应管控措施。
医务人员、流调人员、检测人员、社区工作者、公安干警、志愿者等一线疫情防控人员要做好个人防护,在近距离接触高风险人群、收集清运垃圾、环境消毒时,请务必规范穿戴防护服、手套、N95口罩、防护面屏或护目镜、鞋套等防护用品,做好手部卫生,确保自身健康安全。
请广大市民朋友继续坚持不去中高风险地区和7日内出现本土疫情的县(市、区、旗)旅行或出差,进返京人员严格执行进返京防疫政策,主动向社区、单位、宾馆等相关部门报备,抵京后进行3天2检,抵京24小时内完成一次核酸检测,间隔24小时后、72小时内完成第二次核酸检测,阴性结果未出前居家不外出,7日内不聚餐、不聚会、不前往人员密集场所。
11月3日,北京朝阳区、海淀区、丰台区、昌平区、平谷区、通州区、密云区通报新增感染者情况、风险点位。
朝阳区
11月2日15时至11月3日15时,朝阳区新增新冠肺炎病毒感染者5名,其中2人通过社会面筛查发现,其余3名为隔离观察人员,已转入定点医院治疗。
涉及主要风险点位:
10月29日
8:30-19:00,东晓景村鑫方盛五金建材店
19:30-20:00,马各庄路大骨汤牛肉拉面店
10月30日
8:30-19:00,东晓景村鑫方盛五金建材店
9:00-10:40,嘉品MALL马路西侧公园(金铃狮园)
10:55-11:30,东坝中路30号院金泰商城
14:00-15:00,东坝中街北京奥林匹克花园二期彩票店(公交站单店东和东坝家园西站之间)
18:55-19:15,金驹家园F区210号楼底商沉香酒业
19:00-21:00,东坝郊野公园
19:15-21:50,西域美食老马食府(东坝南二街店)
19:15-19:45,马各庄路大骨汤牛肉拉面店
19:45-19:50,马各庄路大骨汤牛肉拉面店隔壁小超市
10月31日
9:00-11:00,嘉品MALL马路西侧公园(金铃狮园)
17:20-17:50,马各庄路大骨汤牛肉拉面店
19:00-21:00,东坝郊野公园
11月1日
8:00-8:40,659路公交车(铁十六局站-酒仙桥南站)
8:30-19:00,东晓景村鑫方盛五金建材店
8:40-11:30,华信医院南门、5号挂号窗口、核磁检查室、眼科
9:40-11:15,嘉品MALL马路西侧公园(金铃狮园)
11:44-12:30,659路公交车(酒仙桥南站-铁十六局站)
14:30-15:00,364路公交车(焦庄桥西站-管庄路口北站), 506路(管庄路口北站-四惠东站)
15:30-16:00,506路(四惠东站-管庄路口北站),364路公交车(管庄路口北站-焦庄桥西站)
16:00-16:30, 高碑店乡西店村49号楼正己律师事务所
16:35-17:05,金泽家园A区北门底商福贵生鲜大卖场
19:15-19:45,马各庄路大骨汤牛肉拉面店
19:45-19:50,东晓景村东坝便利小超市
20:00-20:30,金泽家园A区北门底商福贵生鲜大卖场
11月2日
8:30-9:00,东泽园1号院2号楼果蔬超市
8:30-19:00,东晓景村鑫方盛五金建材店
19:15-19:45,马各庄路大骨汤牛肉拉面店
请与上述活动轨迹有时空交集或接到健康宝弹窗提示的人员,立即主动向所在社区(村)、工作单位、居住酒店报告,或者拨打朝阳疾控部门热线电话87789709报告。特别提醒,10月27日至11月1日到访过东坝郊野公园的人员,立即主动报备。同时本人及同住人居家不外出。
截至目前,涉及朝阳区风险点位和人员均已落实隔离管控措施,涉及外区风险信息已同步横传。
东泽园1号院2号楼2单元实行“区域封闭,足不出户,上门服务”;
东泽园1号院2号楼其他单元及东泽园1号院1号楼、4号楼、5号楼、7号楼、8号楼(含底商)实行网格化管理,“人不出网格、错峰取物”。
金驹家园F区209号楼1单元实行“区域封闭,足不出户,上门服务”;
金驹家园F区209号楼其他单元及金驹家园F区除209号楼外其他楼宇(含底商)实行网格化管理,“人不出网格、错峰取物”。
金泽家园A区2号楼、5号楼,金泽家园C区8号楼实行“区域封闭,足不出户,上门服务”;
金泽家园A区其他楼宇及底商(除2号楼、5号楼外)实行“人不出区、错峰取物”;
金泽家园B区(含底商)、金泽家园C区其他楼宇及底商(除8号楼外)实行网格化管理,“人不出网格、错峰取物”。
鑫方盛五金建材实行“区域封闭,足不出户,上门服务”;
北京轻工商业大厦其他楼宇(除鑫方盛五金建材外)实行网格化管理,“人不出网格、错峰取物”。
下一步,将根据疫情发展及核酸检测结果动态调整管控措施。
丰台区
2022年11月2日15时至11月3日15时,丰台区新增新冠肺炎病毒感染者1例,为外区通报病例的密切接触者,已转入定点医院。现住址为丰台区王佐镇佃起村514号,工作地为小鬼当佳儿童摄影(方庄店)。除居住地和工作地以外,新增风险点位如下:
10月28日
10:08左右 汉堡王(方庄时代);
11:08-12:45 龙潭公园;
21:20、21:43左右 佃起村便民生活超市;
21:22左右 郑州老汤烩面(佃起村);
21:27左右 中国兰州马艾萨牛肉面(云岗西路);
10月29日
9:56左右 汉堡王(方庄时代);
10:00-10:03 天保堂平价大药房(方庄店);
10:05左右 方庄地铁站A口核酸采样点;
10:58-15:00左右 龙潭公园;
10月30日
9:42左右 汉堡王(方庄时代);
20:33 北京赑亿超市(农机路店);
10月31日
11:43左右 东直门交通枢纽核酸采样点;
11:45左右 便利蜂(东直门地铁站E口旁);
13:46-14:00 中国兰州马艾萨牛肉面(云岗西路);
14:08左右 鑫利源蛋糕(云岗店);
14:15-23:01 竞技时空网咖(王佐路);
11月1日
0:07左右 郑州老汤烩面(佃起村);
21:54左右 西域美食中国兰州牛肉面(云岗西路)。
请与上述风险点位有时空交集或接到健康宝弹窗提示的人员,立即主动向居住地所在社区、工作单位、居住酒店报告,配合落实各项防控措施。
通州区
11月3日,通州区新增2例确诊病例,临床分型均为轻型。
病例1涉及风险点位:
病例1,现住宋庄镇白庙村,为通州区11月2日确诊病例的密切接触者,3日凌晨报告核酸检测结果为阳性。
经初步流调,病例1涉及新增风险点位如下:
10月31日
8:19左右,宋庄镇北刘村常态化核酸采样点(白师路与北刘路交叉路口往北约50米)
8:25-17:30左右,工作地库房(师姑庄村委会北500米白师路东侧)
11月1日
8:12左右,北刘村常态化核酸采样点
8:18-17:30左右,工作地库房(师姑庄村委会北500米白师路东侧)
11月2日
8:16左右,宋庄镇白庙工业区核酸采样点
10:30-10:45、14:10-14:45左右,白庙村委会
病例2涉及风险点位:
病例2,现住永乐店镇小安村,为漷县二街市场蔬菜商户,11月2日参加常态化核酸检测,3日凌晨报告核酸检测结果为阳性。均已转入定点医院治疗。
经初步流调,病例2涉及主要风险点位如下:
10月29日
3:38-6:16左右,八里桥批发市场蔬菜批发区
6:40-7:33左右,牛堡屯农贸市场(张家湾镇中街村漷马路北)
7:33-11:51左右,漷县镇漷县便民中心蔬菜摊位(漷县二街市场)
10月30日
3:20-5:52左右,八里桥批发市场蔬菜批发区
6:30-7:26左右,牛堡屯农贸市场
7:26-12:12左右,漷县镇漷县便民中心蔬菜摊位(漷县二街市场)
10月31日
8:31-8:33左右,永乐店镇老槐庄村南食用菌展馆门口常态化核酸采样点
12:33-12:35左右,永乐店镇小安村秀英超市
11月1日
2:40-5:00左右,八里桥批发市场蔬菜批发区
5:20-6:04左右,牛堡屯农贸市场
6:04-11:14左右,漷县镇漷县便民中心蔬菜摊位(漷县二街市场)
11月2日
2:51-5:00,八里桥批发市场蔬菜批发区(期间4:00左右,市场内常态化核酸采样点)
5:48-6:26左右,牛堡屯农贸市场
6:26-10:46左右,漷县镇漷县便民中心蔬菜摊位(漷县二街市场)
请与上述风险点位有时空交集或接到健康宝弹窗提示的人员,立即主动向所在社区(村)、工作单位、居住酒店报告,配合落实各项防控措施。
平谷区
11月2日15时至3日15时,平谷区未出现新增新冠肺炎病毒感染者。正在对前期确诊病例开展深入流调溯源、排查管控和核酸检测等工作。
以下人员请报备:
10月29日17:00—10月30日21:16,到访平谷区兴谷街道谷丰东路6号崔记铁锅炖鱼粘卷子人员。
10月28日17:00—10月30日0:20,到访北环东路5-4号天火炉烤肉人员。
10月28日以来所有到访平谷镇和平街村平翔路2号东顺利晶网咖人员。
10月28日18:00—21:00;10月29日8:00—21:00,到访过平谷区北环东路19-8号八宝居美食人员。
10月31日15:55—15:59,到访北京市平谷区迎宾街1号院22号楼平谷华联F1-16、F2-15 麦当劳华联店人员。
10月31日18:00—24:00,到访平谷区中卫世纪城1-2层1-6 5G能量舱人员。
密云区
11月3日0时至15时,密云区新增5例新冠肺炎病毒感染者,均为隔离管控人员,具体情况如下:
感染者1,现住密云区首创悦欣汇小区,作为密云区10月31日确诊病例的密接人员集中隔离,11月2日报告核酸检测结果为阳性,11月3日诊断为确诊病例。
感染者2,现住密云区果园街道瑞海姆小区,作为密云区10月31日确诊病例的密接人员集中隔离,11月3日报告核酸检测结果为阳性,当日诊断为确诊病例。
感染者3、4,现住密云区果园街道涧桥山小区,工作地为密云华润万象汇,作为密云区11月2日确诊病例的密接人员集中隔离,11月3日报告核酸检测结果为阳性,当日诊断为确诊病例。
感染者5,现住密云区果园街道上河湾南区,作为密云区10月31日确诊病例的密接人员集中隔离,11月3日报告核酸检测结果为阳性,当日诊断为确诊病例。
新增风险点位:
10月28日
10:30-10:43,杭州小笼包(涧桥山店)
10月29日
19:07-19:30,云阿朵一碗水煮肉片米饭(富民街店)
10月30日
11:24-11:40,杭州小笼包(涧桥山店)
18:30左右,虎头军煎饼店(国泰百货密云店)
19:15左右,川南臭豆腐店(鼓楼南大街门洞下)
19:29左右,烤冷面店(鼓楼南大街门洞下)
19:52左右,润安堂大药房(涧桥山店)
10月31日
16:35左右,孙记福乐天老北京烧饼店(兴云店)
16:40左右,兴云中医医院核酸采样点(兴云路36号)
11月1日
19:55左右,北京赑亿超市(涧桥山店)
凡与上述行程有时空交集人员、接到健康宝弹窗提示人员、10月28日至11月1日期间到访过密云华润万象汇的人员、进返京人员,请立即主动向社区(村)和单位报备,配合落实各项防疫措施。请居家隔离的居民足不出户,加强健康监测,配合核酸检测。
昌平区
11月2日15时至3日15时,昌平区新增8名确诊病例和3名无症状感染者,均系隔离观察人员,目前已转至定点医院隔离治疗。
新增病例详情、涉昌平区风险点位:
确诊病例1:为确诊病例的同事,居住地为南邵镇景昌南街3号院1号楼。
10月29日
21:25—21:32左右 华联生鲜超市(昌平区国慧村店)
确诊病例2:为确诊病例的同事,居住地为小汤山镇金科帕提欧小区6号楼。
在昌平区无新增社会风险点位
确诊病例3:为确诊病例的同事,居住地在外区,工作地为北七家社区卫生服务中心。
10月30日
11:14—11:44左右 长城汽车4S店(昌平西关环岛南500米),期间曾使用一层卫生间
12:17—13:30左右 城南街道南口路29号(其中12:24—13:05左右 谷田稻香餐厅;13:05—13:15左右 B区一层北侧卫生间)
10月31日
7:20—7:30左右 昌平区瑶光路李记烧饼店(北七家店)
16:20左右 北七家镇秦北路西侧临时接种点附近卫生间
确诊病例4:为确诊病例的亲属,居住地为崔村镇香堂文化新村果园小区6号楼,工作地为南邵镇东营村东侧再生资源利用大院。
11月1日
8:00—8:40左右 昌平北环早市
确诊病例5:为确诊病例的亲属,居住地为崔村镇香堂文化新村果园小区6号楼。
在昌平区无新增社会风险点位
确诊病例6:为确诊病例的密切接触者,居住地为城南街道北郝庄村128号,11月1日居住在昌平区顺沙路110号(渔场家属院)1号楼。
10月30日18:00—21:00,10月31日11:00—13:00、18:00—20:00,11月1日11:00—13:00 昌平区城南街道北郝庄村“好吃好串”店
确诊病例7:为确诊病例的密切接触者,高校在校学生。
在昌平区无新增社会风险点位
确诊病例8:为外省返京人员,居住地为回龙观街道新龙城小区15号楼。11月1日晚乘坐G72次抵京后,进行居家隔离观察。
在昌平区无新增社会风险点位
无症状感染者1:为确诊病例的同事,居住地在外区,工作地为北七家社区卫生服务中心。
在昌平区无新增社会风险点位
无症状感染者2:为确诊病例的同事,居住地为龙泽园街道龙跃苑四区12号楼。
在昌平区无新增社会风险点位
无症状感染者3:为确诊病例的亲属,居住地为小汤山镇讲礼村255号。
10月30日
10:30—13:00左右 昌平区龙脉温泉酒店华乐宫
以上人员涉外区风险点位已横传至相关区。与上述风险点位有同时空交集人员、接到健康宝弹窗提示人员,请立即主动向所在社区(村)、工作单位、居住酒店报告,本人和同住人员居家或居店不外出,配合落实好各项防控措施。
海淀区
11月3日0时至15时,海淀区新增本土新冠肺炎病毒感染者3例,均为隔离观察人员,已转入定点医院治疗。现将相关情况通报如下:
感染者1—3,现住地为海淀区甘家口街道车公庄西路21号,均为11月1日海淀区通报病例的同事,11月1日作为确诊病例的密切接触者进行集中隔离,11月2日核酸检测结果为阳性。
在此提醒广大市民朋友,切实履行好个人主体责任,增强防护意识,坚持不去中高风险地区和7日内出现本土疫情的县(市、区、旗)旅行或出差,进返京人员严格执行进返京防疫政策,主动向社区(村)、工作单位、居住酒店等相关部门报备,抵京后进行3天2检,抵京24小时内完成一次核酸检测,间隔24小时后、72小时内完成第二次核酸检测,7日内不聚餐、不聚会、不前往人员密集场所。
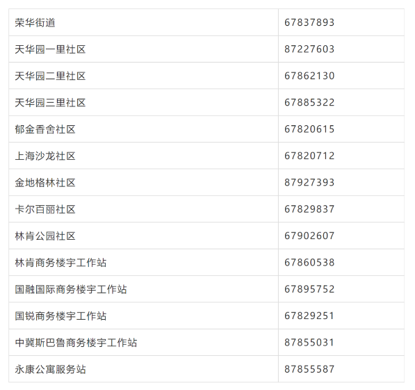
荣华街道及各社区联系电话

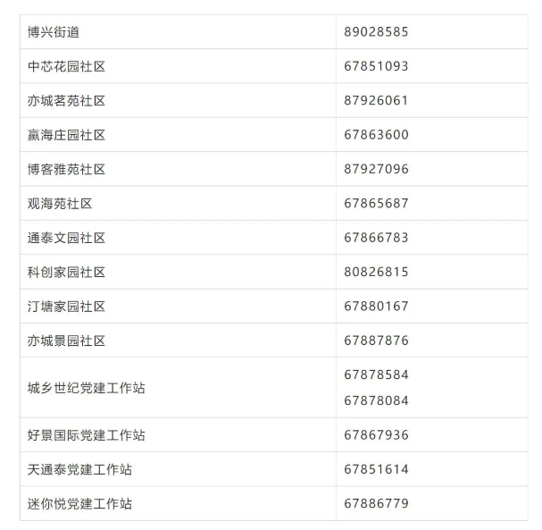
博兴街道及各社区联系电话

综合自北京日报