北京本土感染者+12,涉及这些风险点位,有交集请报告!
10月18日0时至24时,北京新增本土新冠肺炎病毒感染者41例,其中,隔离观察人员40例、社会面筛查人员1例;朝阳区16例,海淀区9例,西城区7例,东城区6例,丰台区、顺义区、怀柔区各1例;轻型33例、无症状感染者8例。另有1例无症状感染者转确诊病例已通报。
10月19日0时至15时,北京新增本土新冠肺炎病毒感染者12例,均为隔离观察人员;朝阳区6例,西城区、海淀区各3例;轻型8例、无症状感染者4例。
感染者情况
感染者186至190、192:现住址分别为朝阳区王四营乡柏阳景园A区6号楼、5号楼、21号楼、2号楼、12号楼,朝阳区王四营乡白鹿司路2号院9号楼。作为感染者158的密切接触者进行集中隔离,10月18日报告核酸检测结果为阳性,当日诊断为确诊病例,临床分型均为轻型。
感染者191:现住西城区北礼士路乙56号。作为感染者120的密切接触者进行集中隔离,10月17日报告核酸检测结果为阳性,10月18日诊断为确诊病例,临床分型为轻型。
感染者193、195:闭环管理人员。10月18日报告核酸检测结果为阳性,当日感染者193诊断为确诊病例,临床分型为轻型,感染者195诊断为无症状感染者。
感染者194、200:现住东城区东直门街道东营房八条1号院2号楼。作为感染者145、157的密切接触者进行集中隔离,10月18日报告核酸检测结果为阳性,当日诊断为确诊病例,临床分型均为轻型。
感染者196、197、199:现住址分别为海淀区北下关街道学院南路甲82号院3号楼、海淀区北下关街道中关村南大街12号院18号楼。作为感染者143的密切接触者进行集中隔离,10月18日报告核酸检测结果为阳性,当日感染者196、197诊断为无症状感染者,感染者199诊断为确诊病例,临床分型为轻型。
感染者198、207:为感染者180的同一家庭成员,现住址与感染者180相同。作为其密切接触者进行集中隔离,10月18日报告核酸检测结果为阳性,10月18日、10月19日诊断为无症状感染者。
感染者201:现住东城区体育馆路街道沙土山后街18号。作为感染者122的密切接触者进行集中隔离,10月18日报告核酸检测结果为阳性,当日诊断为确诊病例,临床分型为轻型。
感染者202:现住东城区崇文门外街道新景家园东区10号楼。作为感染者101的密切接触者进行集中隔离,10月18日报告核酸检测结果为阳性,当日诊断为无症状感染者。
感染者203:通过发热门诊就诊筛查发现,现住朝阳区东坝乡华瀚福园D区426号,在校学生。自述10月14日出现发热症状,10月18日到发热门诊就诊,报告核酸检测结果为阳性,当日诊断为确诊病例,临床分型为轻型。
感染者204:作为感染者148的密切接触者进行隔离,10月19日报告核酸检测结果为阳性,当日诊断为确诊病例,临床分型为轻型。
感染者205、210、211:为感染者158的同一家庭成员,现住址与感染者158相同。作为其密切接触者进行集中隔离,10月18日报告核酸检测结果为阳性,10月19日感染者205、211诊断为确诊病例,临床分型为轻型,感染者210诊断为无症状感染者。
感染者206:现住朝阳区豆各庄乡御景湾中区7号楼。作为风险人员进行居家隔离,10月18日报告核酸检测结果为阳性,10月19日诊断为无症状感染者。
感染者208:现住海淀区北下关街道中关村南大街12号院18号楼,作为风险人员进行居家隔离,10月18日报告核酸检测结果为阳性,10月19日诊断为确诊病例,临床分型为轻型。
感染者209:作为感染者148的密切接触者进行隔离,10月19日报告核酸检测结果为阳性,当日诊断为确诊病例,临床分型为轻型。
感染者212:现住西城区新街口街道富国里6号楼。作为感染者130的密切接触者进行集中隔离,10月19日报告核酸检测结果为阳性,当日诊断为确诊病例,临床分型为轻型。
感染者213:现住海淀区北下关街道学院南路甲82号院3号楼,作为感染者143的密切接触者进行集中隔离,10月18日报告核酸检测结果为阳性,10月19日诊断为确诊病例,临床分型为轻型。
感染者214:为感染者182的同一家庭成员,现住址与感染者182相同。作为其密切接触者进行集中隔离,10月19日报告核酸检测结果为阳性,当日诊断为确诊病例,临床分型为轻型。
感染者215:为感染者192的同一家庭成员,现住址与感染者192相同。作为其密切接触者进行集中隔离,10月19日报告核酸检测结果为阳性,当日诊断为无症状感染者。
今天下午,东城区、海淀区、朝阳区、西城区相继通报新增感染者情况及风险点位。
请与风险点位有时空交集或接到健康宝弹窗提示的人员,立即主动向居住地所在社区、工作单位、居住酒店报告,配合落实各项防控措施。
朝阳新增13例感染者
部分区域调整管控措施
10月18日15时至10月19日15时,朝阳区新增新冠肺炎病毒感染者13名,已转入定点医院治疗。其中1名为主动就诊发现,为在校学生,居住地为东坝乡华翰福园D区426号楼;其余12名均为隔离观察人员。
涉及主要风险点位:
10月10日
7:05-7:15 机场南路1号晋味轩饼屋(机场店)
10月11日
7:40-7:45 机场南路东里21号附近罗森便利店(小天竺路店)
10月12日
7:30-7:35 机场南路东里21号附近罗森便利店(小天竺路店)
15:45-16:30 东坝金泽家园C区东方艺人理发店
10月13日
7:20-7:25 机场南路东里21号附近丽竺便利店
7:25-7:30 机场南路1号晋味轩饼屋(机场店)
18:00-16日21:00 海棠公社9号楼3单元
10月14日
7:45-7:50 机场南路东里21号附近早阳鲜包店
10:10-18:00 五方天雅汽配城C4238号
11:20-11:30 世纪华联购物中心(富力又一城店)
12:50-13:45 笑口福包子炒肝(富力又一城店)
13:35-13:40 华翰福园D区门口超市
18:40-18:50 海棠公社底商京京便利店
19:10-22:05 柏阳景园A区小区活动中心
10月15日
9:30-11:00 十里河体育中心
11:55-12:05 东大桥路尚都A座一层瑞幸咖啡
12:00-15:00 五方天雅汽配城B3-38
12:10-14:55 东大桥路尚都A座6层纯白舞蹈空间店
13:30-15:30 柏阳景园A区小区活动中心
13:40-14:50 东大桥路尚都A座水墨推拿按摩(东大桥店)
16:00-16:40 垡头东鹏市场
16:00-18:10 富力又一城C区8号楼2单元
19:00-21:30 柏阳景园A区小区活动中心
19:00-21:00 路家小馆(富力又一城店)
10月16日
8:20-8:25 柏阳景园北门蜂巢快递柜
9:20-17:40 五方天雅汽配城C4238号
11:20-13:45 朝悦百汇市场
12:16-13:35 老君堂村4排22号熏肉大饼店
14:00-14:20 白鹿司村南265号祥龙物流公司货场
14:25-14:50 富力又一城笑口福包子炒肝店门口
14:50-15:00 富力又一城彩票站
16:30-17:05 东四环中路189号芳圆里ID MALL地下一层公共卫生间
17:45-17:50 五方桥下京哈辅路南侧中石化加油站
18:00-18:45 王四营乡道口村西16号道口便民服务社区农贸市场
20:00-20:15 盒马鲜生超市(天达路店)
20:20-20:35 京客隆超市(天达路店)
20:35-20:45 爱折扣(天达路店)
10月17日
9:25-9:50 10:00-10:05 王四营乡道口村西16号道口便民服务社区农贸市场
10月18日
8:00-18:40 华信医院发热门诊和心内科
截至目前,
王四营乡白鹿司路2号院3号楼、7号楼、9号楼实行“区域封闭,足不出户,上门服务”;
白鹿司路2号院及底商(除3号楼、7号楼、9号楼外)实行“一楼一网格、人不出网格、错峰取物”;
柏阳景园A区及底商实行“区域封闭,足不出户,上门服务”;
柏阳景园C区、海棠公社南区及以上区域周边底商及社会单位实行“网格化管理、人不出网格、错峰取物”。
东坝乡华瀚福园D区426号楼及底商实行“区域封闭,足不出户,上门服务”;
华瀚福园D区其他楼宇及底商(除426号楼及底商外)实行“一楼一网格、人不出网格、错峰取物”;
华瀚福园D区东南侧朝阳区实验小学东坝校区、教委国资中心幼儿园采取停课措施,所有师生员工居家健康监测3天,非必要不外出。
北京求实职业学校机场校区实行“区域封闭,足不出户,上门服务”。
下一步,将根据疫情发展及核酸检测结果动态调整管控措施。
西城新增3例感染者
无新增风险点位
10月18日15时至10月19日15时,西城区新增新冠肺炎病毒感染者3名,均为隔离观察人员,均已转运至定点医院进行治疗。
感染者1-3:均为已通报感染者的密切接触者,10月19日报告核酸检测阳性,由120转运至定点医院进行治疗,无新增风险点位。
东城新增4例感染者
均为隔离观察人员
10月18日15时至19日15时,东城区新增新冠肺炎病毒感染者4名,均为隔离观察人员,目前已转入定点医疗机构。现将有关情况通报如下:
病例基本情况
感染者1:居住地为东城区东直门街道东营房八条1号院2号楼,工作地为银河SOHO SUGAR健身房。
感染者2:居住地、工作地同感染者1。
感染者3:居住地为东城区体育馆路街道沙土山后街18号。
感染者4:居住地为东城区崇外街道新景家园东区10号楼,工作地为国瑞购物中心B1层。
主要风险点位
10月14日
3:35-3:45 便利蜂(春平广场店)
3:45-8:10 波点网咖(春平广场分店)
14:00-15:00 好特卖(银河SOHO店)
22:08-23:20 晋面人家刀削面(北京INN3号楼店)
10月15日
11:00-11:15 烤炉鸡蛋灌饼(南竹竿胡同1号1-11)
15:27-16:04 晋面人家刀削面(北京INN3号楼店)
16:40-17:00 泰鼎油泼面(东水井胡同5号楼1层)
17:00-17:10 便民超市(南竹杆胡同8号楼)
18:10-18:25 烟酒超市(东营房八条1号院2号楼下)
海淀新增3例感染者
均为隔离观察人员
10月18日0时至24时,海淀区新增本土新冠肺炎病毒感染者9例(其中3例昨日已通报)。10月19日0时至15时,海淀区新增本土新冠肺炎病毒感染者3例。以上感染者均为隔离观察人员,均已转入定点医院治疗。
感染者1,现住地为海淀区北下关街道学院南路甲82号院3号楼2单元,为10月16日海淀区通报病例的同单元住户,10月16日作为确诊病例的密切接触者转运至集中隔离点,10月18日核酸检测结果为阳性。涉及主要风险点位:
10月14日
8:30-9:25 钢研市场、大慧寺南路乙18号附近公共卫生间
10月15日
7:00-8:00 四道口水产批发市场
10:30-12:10 北京海洋馆
12:12-12:15 北京海洋馆外广场烤冷面手抓饼摊
15:40-17:10 当代商城(中关村店)三层
感染者2,现住地为海淀区北下关街道中关村南大街甲8号院7号楼6单元,为10月18日海淀区通报病例的家人,10月18日作为确诊病例的密切接触者转运至集中隔离点,当日核酸检测结果为阳性。涉及主要风险点位:
10月15日
9:00-11:00 超市发(双榆树店)
感染者3,现住地为海淀区北下关街道中关村南大街8号院7号楼6单元,为10月18日海淀区通报病例的家人,10月18日作为确诊病例的密切接触者转运至集中隔离点,当日核酸检测结果为阳性。涉及主要风险点位:
10月15日
10:15-10:28 躺碑庙公园核酸采样点
15:15-18:30 吉里国际艺术区N1-B展厅
20:00-22:19 兰州老马家美食(天秀路店)
10月16日
9:40-15:30 大兴区青云店东回城村西四巷3号
16:30-18:30 吉里国际艺术区N1-B展厅
20:00-22:00 柳林小馆(双榆树店)
感染者4,现住地为海淀区北下关街道中关村南大街12号院18号楼1单元,为10月16日海淀区通报病例的同单元住户,10月16日作为确诊病例的密切接触者转运至集中隔离点,10月18日核酸检测结果为阳性。涉及主要风险点位:
10月15日
9:06-9:40 护国寺小吃店(护国寺总店)
11:40-13:00 川小巷成都老火锅
13:00 游氏老北京宫廷奶酪(护国寺店)
13:17-13:33 地铁4号线(平安里地铁站B口-魏公村站B口)
感染者5,现住地为海淀区北下关街道学院南路甲82号3号楼2单元,为10月16日海淀区通报病例的同单元住户,10月16日作为确诊病例的密切接触者进行居家隔离,当日核酸检测结果为阳性。涉及主要风险点位:
10月14日
9:30-9:32 钢研社区13号院自行车维修店
10:00-10:08 物美超市(明光桥西店)
15:00-16:30 653路公交车(中国农业科学院-慧忠北里北)
19:00-20:40 653路公交车(大屯南-中国农业科学院)
10月15日
10:19-11:12 钢研市场
11:15-11:20 北京稻香村(大慧寺店)
20:00-20:45 物美超市(联想桥店)
感染者6,现住地为海淀区北下关街道中关村南大街12号院18号楼1单元,为10月16日海淀区通报病例的同单元住户,10月16日作为确诊病例的密切接触者进行居家隔离,10月18日核酸检测结果为阳性。
感染者7,现住地为海淀区北下关街道学院南路甲82号院3号楼2单元,为10月16日海淀区通报病例的同单元住户,10月16日作为确诊病例的密切接触者进行居家隔离, 10月18日核酸检测结果为阳性。涉及主要风险点位:
10月15日
8:20-8:50 麦当劳(中关村南大街店)
8:53-9:15 中关村南大街17号韦伯时代大厦C座12层
12:15-12:22 中关村南大街17号韦伯时代大厦C座12层
感染者8-9,为闭环管理人员,10月5日起进行闭环管理,10月18日核酸检测结果为阳性。
有交集,速报告!
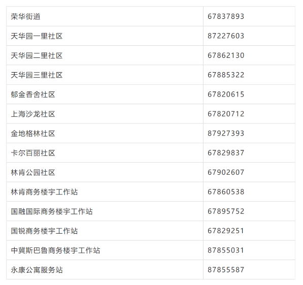
荣华街道及各社区联系电话

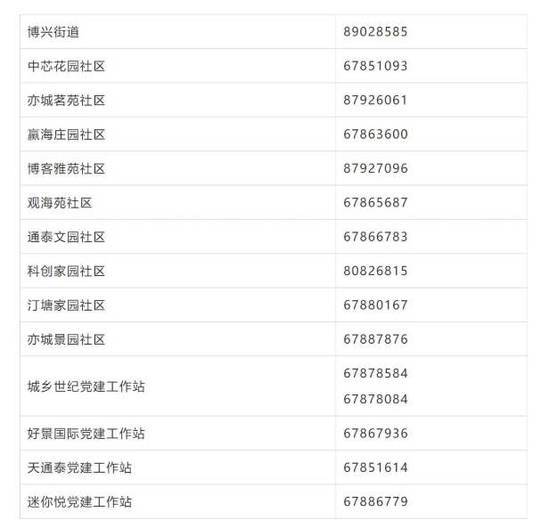
博兴街道及各社区联系电话

北京疾控提醒,本市疫情防控形势严峻复杂,处于关键时刻,要加强风险人员排查,尤其是学校、幼儿园、托育机构,商超市场,建筑工地,文娱健身,餐饮机构等人员密集场所要建立人员台账,实施动态管理,排查风险人员时要如实提供全口径人员信息,快速落实风险人员及点位的排查管控,配合各项防控措施;加强防疫管理,安排专人对所有进入人员逐人扫码测温、查验核酸阴性证明,确保“逢进必扫、逢扫必验、不漏一人”,加强洗手间、电梯、扶梯等重点场所及地垫、拖把、水龙头、门把手等公共用品的清洁消杀。
加强校园防疫管理,重视在校师生健康教育,督促学生严格遵守科学规范佩戴口罩、勤洗手、常通风、不聚集、不扎堆、保持安全社交距离等常态化防控措施,一旦出现发热、干咳、乏力、嗅觉味觉减退、鼻塞、流涕、咽痛、结膜炎、肌痛和腹泻等11类新冠肺炎相关症状,即使在周末假期也要第一时间报告学校,到医院发热门诊进行排查,就诊期间要严格遵守相关防疫要求。为保障学校和学生安全,倡导学生家长及同住人员落实好各项防疫规定,不聚餐、不聚会、不前往人员密集场所。
请与官方公布的病例活动轨迹有交集人员,风险地区进返京人员,接到电话、短信、健康宝弹窗、健康宝黄码或红码提示风险人员,立即主动向社区、单位、宾馆等报告,配合做好集中隔离、居家隔离、健康监测、核酸检测等各项防控措施。
综合自北京日报