曾有密接人员乘坐997路,若有交集请报告!北京卫健委重要提醒
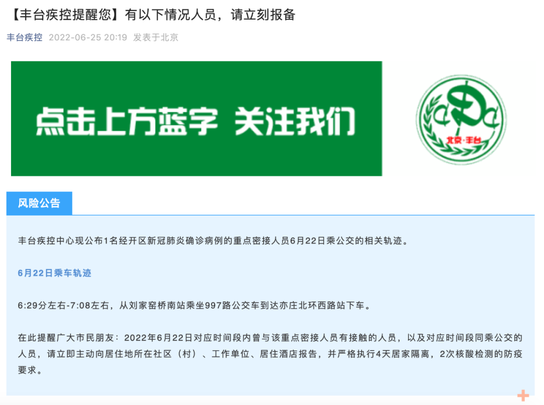
6月25日,丰台疾控中心公布1名经开区新冠肺炎确诊病例的重点密接人员6月22日乘公交的相关轨迹。
6月22日
6:29左右-7:08左右,从刘家窑桥南站乘坐997路公交车到达亦庄北环西路站下车。
在此提醒广大市民朋友:2022年6月22日对应时间段内曾与该重点密接人员有接触的人员,以及对应时间段同乘公交的人员,请立即主动向居住地所在社区(村)、工作单位、居住酒店报告,并严格执行4天居家隔离,2次核酸检测的防疫要求。

6月25日,在北京市新型冠状病毒肺炎疫情防控工作第376场新闻发布会上,丰台区副区长孔钢城介绍,6月25日0时至15时,丰台区新增新冠肺炎病毒感染者1例,为中国玺靖海佳美食家地下一层相关风险人员,已转至定点医院。
新增病例居住地和工作地均为万达广场(西铁营店)10层。新增风险点位如下:
6月17日
8:20左右,肯德基(后沙西铁营万达餐厅);
11:15左右,三路居93号院旁洗车店;
11:50左右,中国玺靖海佳美食家地下一层;
19:40左右,中国玺靖海佳美食家地下一层;
6月18日
11:20左右,中国玺靖海佳美食家地下一层;
15:40左右,泰洁洗衣(三路居店);
18:45左右,中国玺靖海佳美食家地下一层;
6月19日
13:50左右,鱼你在一起(西铁营万达店);
6月24日
00:20左右,佑安医院核酸采样点;
11:50左右,右安门村委会院内核酸采样点;
北京市卫健委提醒,请市民朋友切实履行个人防疫责任,按规定进行核酸检测,进入商务楼宇、餐饮机构、文娱健身等公共场所严格落实扫码测温、查验证明等防疫措施,不能以亮码代替扫码。
请与官方公布的病例活动轨迹有交集人员,特别是到过风险点位和接触过风险人员的,要立即向社区、单位报告。
如接到社区或疾控中心通知为风险人员,要如实报告个人信息和行程轨迹,不外出,不接待来访亲友,配合落实各项防控措施,一旦出现发热、干咳等新冠肺炎相关症状,要立即报告并配合相应管控措施。
如有交集,立即报备!
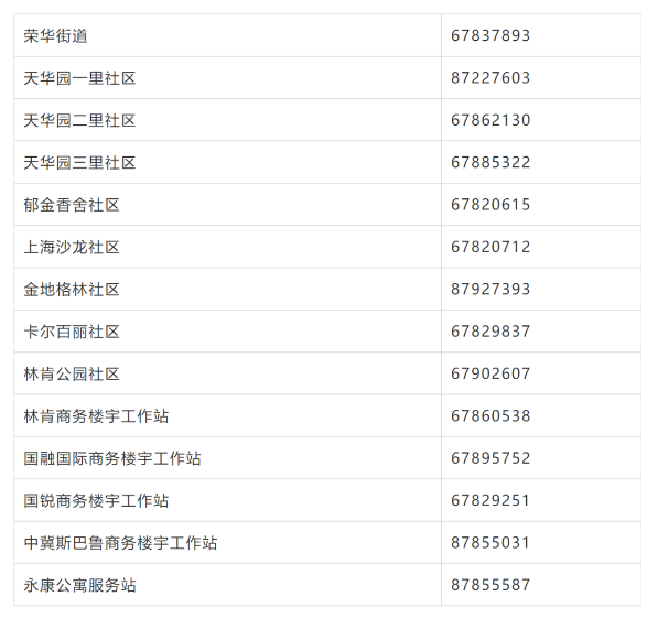
荣华街道及各社区联系电话

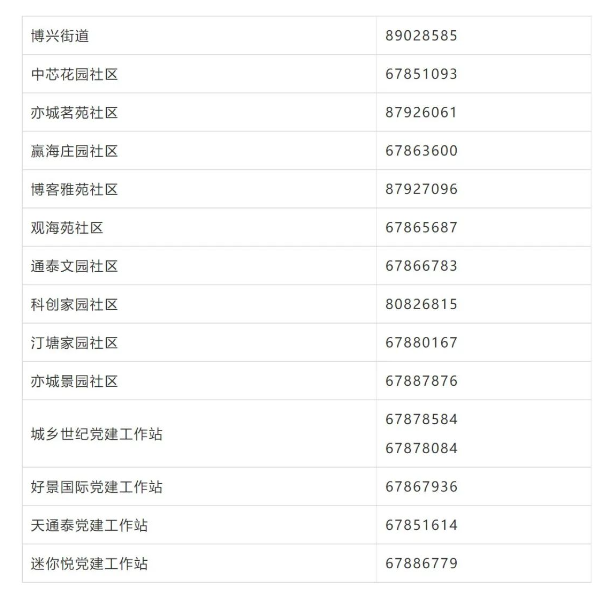
博兴街道及各社区联系电话

综合自北京日报