北京增5例本土感染者,19日通报感染者风险点位速览
6月19日0时至24时,北京新增4例本土确诊病例和1例无症状感染者,无新增疑似病例;无新增境外输入确诊病例、疑似病例和无症状感染者。治愈出院9例。

确诊病例1至4:现住昌平区大汤山村双兴苑小区,6月19日诊断为确诊病例。
无症状感染者:现住朝阳区玲珑山小区,涉天堂超市酒吧(工体西路6号)相关人员,6月19日诊断为无症状感染者。
上述病例均已转至定点医院,已开展流行病学调查,按要求落实管控措施。
北京卫健委提醒,市民朋友要继续坚持疫情防控不放松,严格遵守各项防疫规定,进入公共场所配合全员扫码测温、查验核酸阴性证明,科学佩戴口罩,注意手卫生,保持安全社交距离。
要切实履行个人防疫责任,按规定期限进行核酸检测,与官方公布的病例活动轨迹有交集人员,特别是到过风险点位和接触过风险人员的,立即向社区报告,配合落实健康监测等防控措施,一旦出现发热、干咳、乏力、嗅觉味觉减退、鼻塞、流涕、咽痛、结膜炎、肌痛和腹泻等11类新冠肺炎相关症状,要立即向社区、单位报告,并配合相应管控措施。

如有交集,立即报备!
24小时值班电话
荣华街道值班电话:010-67828528
博兴街道值班电话:010-89028585
亦庄镇值班电话:010-67881505
瀛海镇值班电话:010-69277007
经开区疾控值班电话:010-67803017
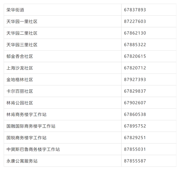
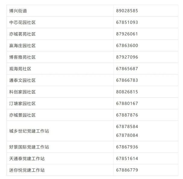
北京经开区各街道及社区联系电话如下
荣华街道及各社区联系电话

博兴街道及各社区联系电话

综合自北京日报