北京本土感染者+7,新通报1例社会面筛查感染者,有交集请报备

摄影 李磊
6月15日,在北京市新型冠状病毒肺炎疫情防控工作第366场新闻发布会上,市疾控中心副主任刘晓峰介绍,6月14日0时至24时,北京新增本土新冠肺炎病毒感染者63例,朝阳区41例,东城区7例,丰台区6例,海淀区3例,经开区2例,西城区、石景山区、房山区、通州区各1例;普通型2例、轻型23例、无症状感染者38例;隔离观察人员62例,社会面筛查人员1例。
6月15日0时至15时,北京新增本土新冠肺炎病毒感染者7例(感染者2290至2296),朝阳区3例,西城区、海淀区、丰台区、昌平区各1例;普通型1例,轻型6例;均为隔离观察人员。均已转至定点医院隔离治疗,相关风险点位及人员已管控落位。
6月14日发布会后感染者情况:
感染者2253:通过社会面核酸筛查发现,现住朝阳区八里庄街道八里庄西里,工作地点为南京大牌档(朝阳区慈云寺远洋店),为感染者2229(天堂超市酒吧到访人员)的同事。6月14日报告核酸检测结果为阳性,当日诊断为无症状感染者。
在北京市新型冠状病毒肺炎疫情防控工作第366场新闻发布会上,朝阳区副区长孟锐介绍,6月14日0时至24时,朝阳区新增新冠肺炎病毒感染者41名;6月15日0时至15时,朝阳区新增新冠肺炎病毒感染者3名,均已转入定点医院治疗。
15日朝阳区新增风险点位:
新增风险点位
6月7日
2:40-3:00,工体西路6号不二熊剧本桌游馆
11:00-15:00,光华东里8号楼食味悠然
6月8日
9:00-19:00,朝外大街18号丰联广场22层太和鼎信管理顾问公司
9:00-19:40,金掌勺东北菜馆(武圣路店)
10:25-10:30,高碑店北路19号丝路食府
11:00-15:00,光华东里8号楼食味悠然
11:00-13:30,润枫水尚5号院16号楼英派斯健身馆
13:00-13:30,李喜旺牛腩饭(四惠东店)
13:40-14:00,汝河羊汤(朝阳大悦城店)
13:55-14:00,蜜雪冰城(四惠东店)
14:10-14:15,姚家园113号果鲜佳园水果超市
19:45-19:50,超市发超市(农光里店)
20:00-20:10,朝阳北路20号院薛记炒货(陆港城店)
20:20-21:25,六丁火木炭烤肉(常营店)
21:20-21:25,85度C蛋糕店(常营V中心店)
21:30-24:00,音畔KTV(铭泽生活广场店)
22:45-22:50,金鑫创业园乐乎城市青年社区添乐超市
6月9日
1:10-1:30,工体西路6号不二熊剧本桌游馆
4:05-4:15,7-11便利店(东三环白家庄路店)
4:05-4:10,7-11便利店(左家庄路国门大厦店)
8:30-9:30,紫光园青年小馆(青年路店)
9:00-16:50,干杨树甲16号爱空间标准家装体验馆
9:00-19:00,朝外大街18号丰联广场22层太和鼎信管理顾问公司
10:00-11:00,京通苑13号中百世贸商城大汇生鲜超市
10:00-12:00,新房路1号动漫大厦乐刻健身馆(三间房玲珑山店)
11:00-11:10,法雅体育工厂店(棕榈泉店)
12:20-13:10,食尚麻辣小火锅(锦裕广场店)
12:20-12:45,康家沟145号1层桥头烧烤店
15:20-15:25,枣营南里东门顺兴烟酒超市
18:30-22:00,日坛上街食里九香店
19:00-19:05,华腾园6号楼全时汇超市
19:10-19:15,国大药房(劲松店)
20:00-21:05,世纪华联超市(前祁家庄店)
21:25-21:30,肉卷也疯狂(四惠东地铁站店)
21:30-21:35,惠河南街信安门27号楼底商正宏超市
21:40-22:30,青年路113号好滋味重庆旋转小火锅
6月10日
9:00-18:00,朝外大街18号丰联广场22层太和鼎信管理顾问公司
12:30-12:55,安徽板面馆(锦裕写字楼店)
14:10-14:20,老罗牛肉拉面馆(石佛营店)
14:30-15:00,Wang·Studio理发店(石佛营店)
18:00-22:00,悠唐购物中心海底捞火锅
19:30-21:30,朝外大街18号丰联广场捞王锅物料理店
6月11日
8:40-9:00,石佛营西里小区南门早餐店
14:00-15:00,高碑店村1338号高碑店集贸市场
15:05-15:10,惠河南街义安门46号-108电脑维修店
朝阳一地升为中风险
刘晓峰介绍,截至2022年6月14日24时,经市疾控中心评估,按照《北京市新冠肺炎疫情风险分级标准》,朝阳区1地调整风险等级如下:朝阳区十八里店乡吕家营村近14天累计报告4例本土确诊病例,即日起由低风险地区升级为中风险地区。
截至目前,全市共有中风险地区4个。
涉酒吧聚集性疫情
已报告327例感染者
刘晓峰介绍,6月9日至15日15时,本市累计报告327例新冠肺炎病毒感染者,均涉天堂超市酒吧聚集性疫情。
其中,天堂超市酒吧(工体西路6号)到访人员226例,酒吧工作人员7例,到访人员的续发关联人员94例。涉及14个区和经开区,其中,朝阳区168例,西城区26例,东城区25例,丰台区23例,通州区20例,海淀区15例,昌平区14例,大兴区11例,门头沟区7例,经开区6例,房山区5例,石景山区、顺义区、怀柔区各2例,密云区1例。
当前本市疫情防控仍处于关键阶段,要继续坚持“快、严、准、实、细”防控要求,全力以赴,争分夺秒,快速排查涉疫风险人员和点位,采取快速灵活、科学精准的综合防控措施,加强流调溯源、信息横传、落位管控,尽快阻断病毒传播链条。要加强封管控区规范管理和服务保障,确保风险不外溢,居家隔离人员要足不出户,落实核酸检测、抗原自测、健康监测等防疫措施,强化主动报告意识,密切关注本人及同住人员身体健康状况,按要求测量并报告体温,一旦出现发热、干咳、乏力等新冠肺炎相关症状,不自行购药、服药,立即向社区报告并配合相应管控措施。
再次提醒市民朋友,请与官方公布的病例活动轨迹有交集人员、接到健康宝弹窗提示人员立即向社区报告,自觉履行防疫责任,遵守各项防疫要求。
如有交集,立即报备!
24小时值班电话
荣华街道值班电话:010-67828528
博兴街道值班电话:010-89028585
亦庄镇值班电话:010-67881505
瀛海镇值班电话:010-69277007
经开区疾控值班电话:010-67803017
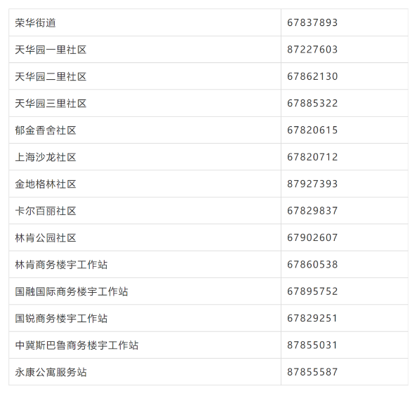
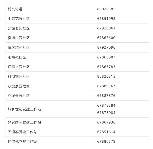
北京经开区各街道及社区联系电话如下
荣华街道及各社区联系电话

博兴街道及各社区联系电话图片

综合自北京日报