北京本土感染者+30!经开区+1,到过这11家酒吧的人员请主动报告

6月14日,在北京市新型冠状病毒肺炎疫情防控工作第365场新闻发布会上,市委宣传部副部长、市政府新闻办主任、市政府新闻发言人徐和建介绍,当前天堂超市酒吧聚集性疫情正处于发展阶段。在这个疫情防控的关键时刻,我们要全力以赴、争分夺秒,抓住关键环节,采取快速灵活、科学精准的综合防控措施。
徐和建介绍,餐饮机构要严格按照防疫指引,落实各项防疫要求,安排专人负责,认真查验进店顾客健康状况,严防出现疫情风险。
6月14日0—15时
北京新增本土感染者30例
市疾控中心副主任刘晓峰介绍,6月13日0时至24时,本市新增本土新冠肺炎病毒感染者74例,朝阳区44例,东城区9例,西城区5例,海淀区、丰台区、昌平区、大兴区各3例,通州区2例,门头沟区、经开区各1例;普通型1例、轻型41例、无症状感染者32例;隔离观察人员72例,社会面筛查人员2例(其中1例已通报)。
6月14日0时至15时,本市新增本土新冠肺炎病毒感染者30例,朝阳区20例,东城区4例,西城区、海淀区、丰台区、房山区、通州区、经开区各1例;轻型9例、无症状感染者21例;均为隔离观察人员。均已转至定点医院隔离治疗,相关风险点位及人员已管控落位。
6月13日发布会后感染者情况:
感染者2211:通过社会面核酸筛查发现,现住丰台区大红门街道东罗园小区,6月13日报告核酸检测结果为阳性,当日诊断为确诊病例,临床分型为轻型。
朝阳区2地升级中风险
刘晓峰介绍,截至6月13日24时,经市疾控中心评估,按照《北京市新冠肺炎疫情风险分级标准》,朝阳区2地调整风险等级如下:
朝阳区平房乡姚家园东社区、平房乡姚家园西社区近14天各累计报告3例本土确诊病例,即日起由低风险地区升级为中风险地区。
截至目前,全市共有中风险地区3个。
酒吧聚集性疫情感染者
活动范围广
增加了处置的复杂性
刘晓峰介绍,当前本市疫情防控处于关键时期,涉天堂超市酒吧聚集性疫情感染者活动范围广,增加了处置的复杂性。要以快制快,加快落实管控、流调、溯源、判密、转运、隔离等每个环节,坚决阻断疫情传播。
刘晓峰请市民继续严格遵守各项防疫规定,按要求核酸检测,进入社区(村)、单位、楼宇、商超市场等公共场所配合测温扫码、查验72小时内核酸阴性证明等防控措施。外出就餐时提倡预约就餐,配合测温扫码查验;非进餐时科学佩戴口罩,在店内外候餐区、取餐区要避免人员聚集,保持安全社交距离,注意手卫生;合理保持就餐间距,提倡隔位就坐;提倡打包外卖和无接触式点餐、结账等。
请与官方公布的病例活动轨迹有交集人员、接到健康宝弹窗提示人员立即向社区报告。如接到社区或疾控中心通知为风险人员的电话时,一定要积极配合,提供真实有效的个人信息,如实报告个人活动轨迹,立即主动向单位、宾馆等报告,不外出,不接待来访亲友,配合落实各项防控措施。
6月6日至9日到过这11家酒吧的人员
一定主动报告
在北京市新型冠状病毒肺炎疫情防控工作第365场新闻发布会上,朝阳区副区长孟锐提示,请6月6日至9日到访过工体西路6号天堂超市酒吧、拾叁酒吧、One Third酒吧、Fresh Club酒吧、PH酒吧、Kai Club酒吧;工体西路8号Coco酒吧、海伦斯酒吧;工体北路13号天堂超市酒吧、唱吧不是吧;通盈中心五层爱乐酒吧的人员;以及6月7日以来到访过花香盛世国际体育(锦裕写字楼店)、链家华贸公寓店、南京大排档(慈云寺远洋店)和6月8日以来到访过石佛营路丰苑大厦老路烤串店的人员,一定主动报告。
如有交集,立即报备!
24小时值班电话
荣华街道值班电话:010-67828528
博兴街道值班电话:010-89028585
亦庄镇值班电话:010-67881505
瀛海镇值班电话:010-69277007
经开区疾控值班电话:010-67803017
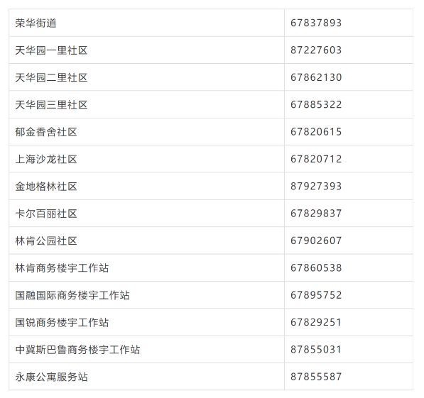
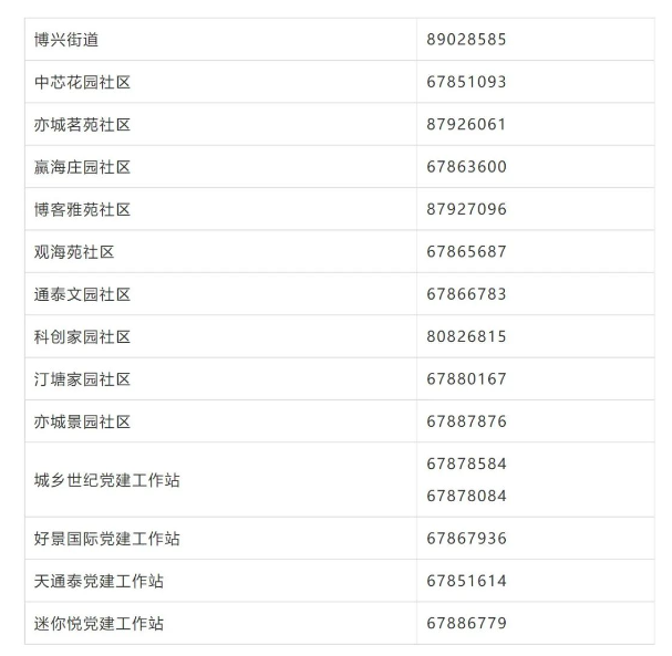
北京经开区各街道及社区联系电话如下
荣华街道及各社区联系电话

博兴街道及各社区联系电话

综合自人民日报、北京日报