北京涉酒吧疫情涉15区!最新风险点位公布!请自查
6月11日0时至15时,北京新增本土新冠肺炎病毒感染者46例(感染者2039至2084),朝阳区24例,西城区、通州区各4例,丰台区3例,东城区、海淀区、门头沟区、大兴区各2例,房山区、昌平区、经开区各1例;普通型2例,轻型22例,无症状感染者22例;均为隔离观察人员。
6月9日0时至11日15时,涉天堂超市酒吧聚集性疫情累计报告115例感染者,其中,天堂超市酒吧(工体西路6号)到访人员107例,酒吧工作人员2例,到访人员的续发关联人员6例。115例感染者涉及14个区和经开区。
另据朝阳区通报,截至目前,涉天堂超市酒吧疫情已判定密接6158人(含同时空人员),次密接901人。
北京疾控研判,目前本起疫情处于快速发展阶段,预计未来将从酒吧到访人员及其密切接触者中陆续发现续发病例,疫情扩散传播风险较大。
一图读懂感染者分布

北京疾控提示,请与官方公布的病例活动轨迹有交集人员,尤其是6月6日以来到访过天堂超市酒吧(工体西路6号)的人员,接到健康宝弹窗提示人员立即向社区报告,配合落实各项防控措施。
截至发稿时,6月11日北京已通报风险点位一览,请自查——
涉及经开区点位为6月8日22:00M-one酒吧(天宝南街店)

24小时值班电话
荣华街道值班电话:010-67828528
博兴街道值班电话:010-89028585
亦庄镇值班电话:010-67881505
瀛海镇值班电话:010-69277007
经开区疾控值班电话:010-67803017
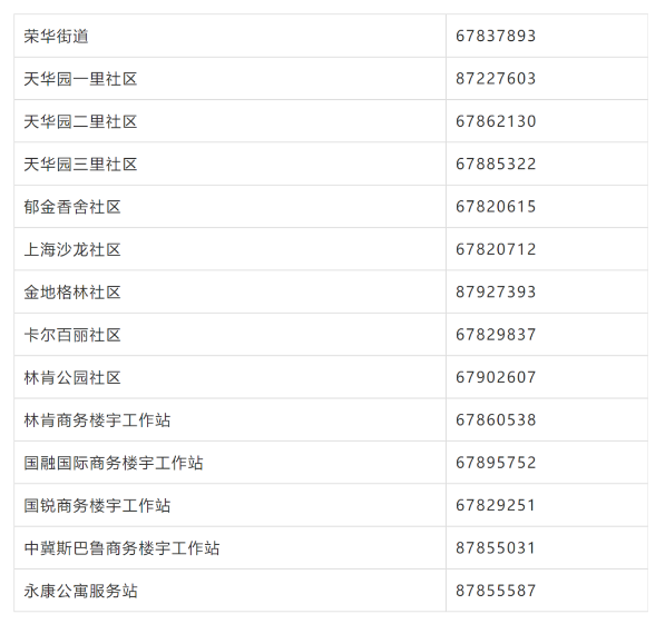
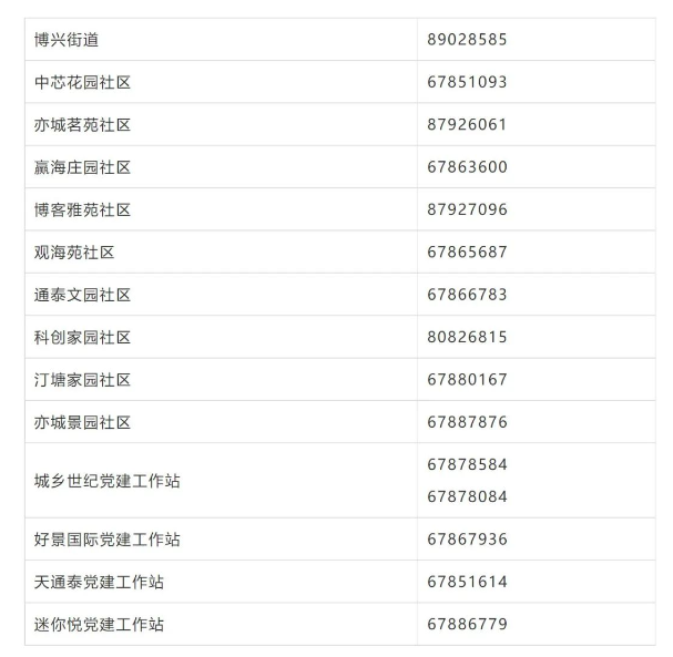
北京经开区各街道及社区联系电话如下
荣华街道及各社区联系电话

博兴街道及各社区联系电话

综合自北京日报客户端