三名感染者跨区活动,曾多次前往医院!风险点位请自查!
5月30日,北京新冠肺炎疫情防控工作新闻发布会通报,北京新冠肺炎感染者病例数连续八天出现明显下降,已经连续三天实现无社会面新增病例。但30日又出现了突发疫情,表明北京动态清零任务艰巨,必须时刻绷紧疫情防控这根弦。
据北京疾控通报,5月29日0时至24时,北京新增本土新冠肺炎病毒感染者11例,均为隔离观察人员,社会面筛查人员为零。另有1例无症状感染者转确诊病例已通报。
5月30日0时至15时,北京新增本土新冠肺炎病毒感染者18例(感染者1873至1890),丰台区9例,海淀区8例,石景山区1例;隔离观察人员17例,社会面筛查人员1例,在丰台区。
其中,丰台有3例感染者系同一家庭成员,曾跨区活动,还曾多次前往医院。石景山1例系密接人员转阳性,其在西城区金融街工作,风险点涉多路公交。

4月22日至5月30日15时,北京累计报告1752例本土新冠肺炎病毒感染者,涉及15个区和经开区,其中,朝阳区424例,房山区413例,丰台区385例,海淀区262例,通州区79例,顺义区44例,西城区41例,东城区31例,石景山区23例,昌平区22例,大兴区16例,门头沟区6例,密云区、延庆区各2例,怀柔区、经开区各1例。

5月30日北京报告1例社会面筛查感染者,提示动态清零的任务艰巨,反弹风险依然存在,防控成果还需巩固,切不可懈怠麻痹。
北京疾控提醒:请与官方公布的病例活动轨迹及丰台区政馨园、红狮家园等风险点位有时空交集的人员,接到健康宝弹窗提示人员立即向社区报告,配合落实各项防控措施。
截至发稿时,5月30日北京已通报风险点位一览——

小亦提醒
如有交集请报备24小时值班电话
荣华街道值班电话:010-67828528
博兴街道值班电话:010-89028585
亦庄镇值班电话:010-67881505
瀛海镇值班电话:010-69277007
经开区疾控值班电话:010-67803017
北京经开区各街道及社区联系电话如下
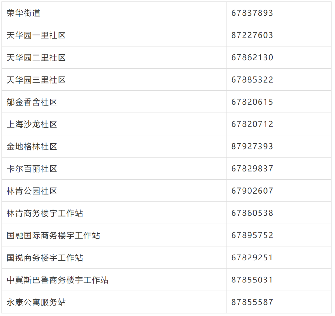
荣华街道及各社区联系电话

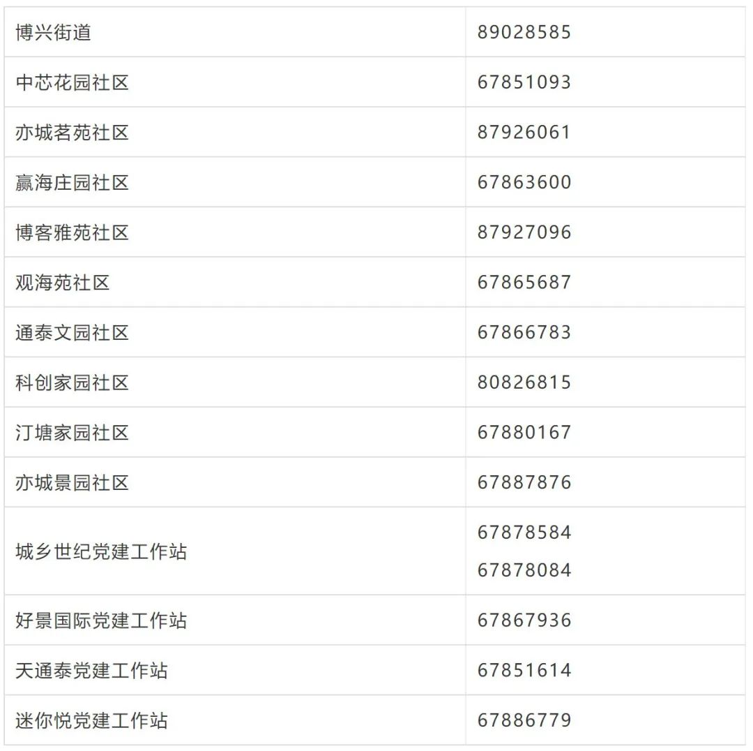
博兴街道及各社区联系电话
