北京本土感染者+55,一病例轨迹涉及经开区附近医院,如有交集请报备
5月15日,在北京市新型冠状病毒肺炎疫情防控工作第335场新闻发布会上,市疾控中心副主任、全国新型冠状病毒肺炎专家组成员庞星火介绍,5月15日0时至15时,本市新增本土新冠肺炎病毒感染者38例。自5月14日发布会后(5月14日15时至15日15时),新增本土新冠肺炎病毒感染者55例(感染者1158至1212),其中,丰台区17例、海淀区15例、房山区9例、朝阳区8例,西城区和通州区各3例;普通型5例、轻型30例、无症状感染者20例;管控人员45例,社会面筛查10例。均已转至定点医院隔离治疗,相关风险点位及人员已管控落位。
相关感染者情况:
感染者1167、1169、1170、1178至1180、1186至1190、1209、1210:感染者1167、1169、1170、1178、1209、1210通过社会面核酸筛查发现,其余通过密切接触者排查发现,现住址均位于丰台区,丰台区岳各庄市场工作人员9例,同住人员4例。感染者1167、1180、1188、1190诊断为确诊病例,临床分型均为轻型,其余诊断为无症状感染者。
感染者1173、1174:通过社会面核酸筛查发现,为母子关系,现住丰台区五里店街道彩虹家园。5月14日诊断为确诊病例,临床分型均为轻型。
感染者1192至1197:感染者1192、1196通过社会面核酸筛查发现,其余通过密切接触者排查发现,为同一家庭成员,现住址均位于海淀区中关村街道。感染者1192诊断为无症状感染者,其余诊断为确诊病例,感染者1195临床分型为普通型,其余均为轻型。
一病例轨迹涉及经开区附近医院
在北京市新型冠状病毒肺炎疫情防控工作第335场新闻发布会上,丰台区副区长孔钢城介绍,5月14日15时至15日15时,丰台区新增确诊病例3例,无症状感染者14例,现已转至定点医院。
会上,他通报了新增感染者活动轨迹,其中一处涉及北京经开区附近一家医院
5月9日 1:00-15:00 岳各庄市场蔬菜摊位;
7:20左右 燕山大酒店额尔敦传统涮(中关村店);
11:00左右 青塔第二社区卫生服务站,汇锦苑停车场;
15:00-19:00 新发地市场周转二区;
5月10日 1:00-15:00 岳各庄市场蔬菜摊位;
5:30左右 西什库大街31号;
6:40左右 金伟凯大厦;
7:20左右 燕山大酒店额尔敦传统涮(中关村店);
7:30左右 大兴区红星医院
9:40-11:40 宣武医院心内科、骨科;
15:00-19:00 新发地市场周转二区;
5月11日 1:00-15:00 岳各庄市场蔬菜摊位;
6:40左右 金伟凯大厦;
7:20左右 燕山大酒店额尔敦传统涮(中关村店);
8:00左右 新发地市场周转一区、二区;
8:20左右 正大优鲜(岳各庄店);
9:50左右 宛平便民综合服务中心;
10:20 左右 小屯生鲜超市;
11:00左右 程庄路8号院快递柜;
15:00-19:00 新发地市场周转二区;
5月12日 1:00-15:00 岳各庄市场蔬菜摊位;
5:30左右 西什库大街31号;
6:40左右 金伟凯大厦;
7:20左右 燕山大酒店额尔敦传统涮(中关村店);
7:30左右 大兴区红星医院;
8:00左右、10:50左右 早阳鲜包(小屯路店);
14:00-15:00 银铃中医医院内科、中医科;
17:50左右 石景山华奥学校门口
21:00-23:40 新发地市场周转二区;
5月13日 1:00-15:00 岳各庄市场蔬菜摊位;
8:00左右 岳各庄市场6号门馒头店、西库房1号,新发地市场周转一区、二区,永辉超市(千禧街店);
8:50左右 岳各庄市场食堂;
14:00-16:00 天元公园;
15:00-19:00 新发地市场周转二区;
5月14日 6:55 早阳鲜包(小屯路店);
他提示,请与上述风险点位有同时空交集或接到健康宝弹窗提示的人员,立即主动向所在社区(村)、工作单位、居住酒店报告,或者拨打丰台疾控部门热线电话63811956报告。
中高风险地区调整
庞星火介绍,截至2022年5月14日24时,朝阳区豆各庄乡朝丰家园社区、潘家园街道松榆里社区、潘家园街道松榆西里社区,房山区窦店镇芦村,通州区于家务回族乡西里社区、北苑街道官园社区近14天均无报告本土确诊病例,即日起由中风险地区降为低风险地区。
截至2022年5月14日24时,丰台区五里店街道彩虹北社区、海淀区北太平庄街道索家坟社区首钢小区近14天各累计报告2例本土确诊病例,即日起由低风险地区升级为中风险地区。
截至2022年5月14日24时,朝阳区南磨房乡南新园社区近14天累计报告13例本土确诊病例,即日起由中风险地区升级为高风险地区。海淀区北太平庄街道金晖远洋社区远洋风景小区近14天累计报告30例本土确诊病例,清河街道安宁北路社区安宁佳园小区近14天累计报告8例本土确诊病例,即日起由低风险地区升级为高风险地区。
小亦提醒广大市民朋友,请与官方公布病例活动轨迹有交集人员、接到健康宝弹窗提示人员立即向社区报告;
24小时值班电话
荣华街道值班电话:010-67828528
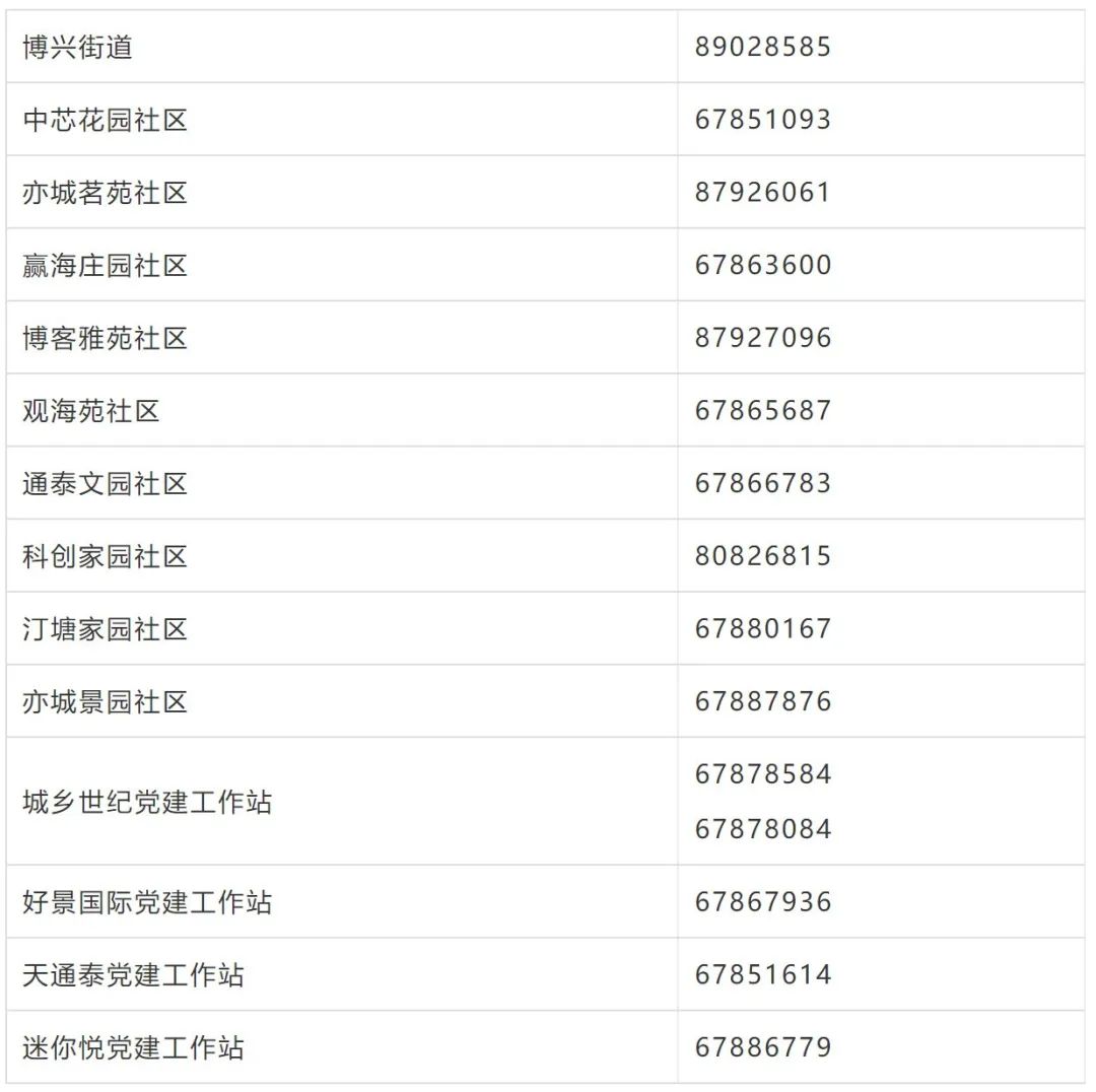
博兴街道值班电话:010-89028585
亦庄镇值班电话:010-67881505
瀛海镇值班电话:010-69277007
经开区疾控值班电话:010-67803017
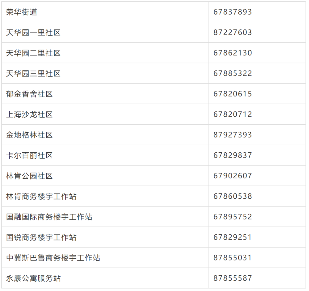
北京经开区各街道及社区联系电话如下:
荣华街道及各社区联系电话

博兴街道及各社区联系电话
