北京本土感染者+51,3名公交乘务员感染!乘坐过534路公交车人员请速速报备!

5月13日,在北京市新型冠状病毒肺炎疫情防控工作第333场新闻发布会上,市疾控中心副主任、全国新型冠状病毒肺炎专家组成员庞星火介绍,5月13日0时至15时,新增本土新冠肺炎病毒感染者32例。
自5月12日发布会后(5月12日15时至13日15时),北京新增本土新冠肺炎病毒感染者51例(感染者1067至1117),其中,海淀区24例,朝阳区和房山区各9例,丰台区和西城区各4例,大兴区1例;普通型5例、轻型28例、无症状感染者18例;管控人员40例,社会面筛查11例。均已转至定点医院隔离治疗,相关风险点位及人员已管控落位。现将相关感染者情况通报如下:
相关感染者情况
感染者1082、1090:通过社会面核酸筛查发现,现住址均位于西城区,有海淀区福华鸿源酒店暴露史。5月12日报告核酸检测结果为阳性,分别于5月12日、13日诊断为确诊病例,临床分型均为轻型。
感染者1084、1085:通过社会面核酸筛查发现,为夫妻关系,现住丰台区太平桥街道丽泽雅园。5月12日报告核酸检测结果为阳性,当日诊断为确诊病例,临床分型均为轻型。
感染者1089:通过社会面核酸筛查发现,现住西城区西长安街街道小酱坊胡同。5月12日报告核酸检测结果为阳性,5月13日诊断为确诊病例,临床分型为普通型。
感染者1091、1116、1117:感染者1091通过社会面核酸筛查发现,感染者1116、1117作为密切接触者核酸检测发现。现住海淀区马连洼街道安河公寓,为共同居住人员,534路公交场站公交车乘务人员。感染者1091自述5月11日出现头痛、流鼻涕等症状。感染者1091和感染者1116、1117分别于5月12日、13日报告核酸检测结果为阳性,5月13日感染者1091诊断为确诊病例,临床分型为轻型,感染者1116、1117诊断为无症状感染者。
感染者1103:通过社会面核酸筛查发现,现住丰台区云岗街道大灰厂村,货车司机。5月13日报告核酸检测结果为阳性,当日诊断为无症状感染者。
感染者1104、1105:通过社会面核酸筛查发现,现住房山区阳城环路,快递公司员工。5月13日报告核酸检测结果为阳性,当日诊断为确诊病例,临床分型均为轻型。
感染者1107:通过社会面核酸筛查发现,现住房山区石楼镇石楼村天合嘉园12号楼。5月13日报告核酸检测结果为阳性,当日诊断为无症状感染者。
感染者1111:通过社会面核酸筛查发现,现住房山区长阳镇碧波园小区。5月13日报告核酸检测结果为阳性,当日诊断为确诊病例,临床分型为轻型。
4月22日以来报告979例感染者
涉及15个区域
4月22日至5月13日15时,本市累计报告979例新冠肺炎病毒感染者,涉及15个区域,其中,朝阳区358例,房山区276例,海淀区88例,丰台区73例,通州区71例,顺义区44例,昌平区15例,西城区、石景山区各13例,大兴区12例,东城区8例,门头沟区3例,密云区、延庆区各2例,经开区1例。
中铁十一局三公司相关疫情
新增感染者19例
庞星火介绍,中铁十一局三公司相关聚集性疫情新增感染者19例,昨日通报的3例疑似关联感染者,经流调判定与其相关。新增19例感染者中除感染者1082和1090外,其余均来自管控人员。累计报告感染者41例,涉及4个区,其中海淀区31例,房山区8例,大兴区和西城区各1例,预计未来存在续发病例的可能。
新增一起534路公交场站
乘务人员相关聚集性疫情
庞星火介绍,本市新增一起534路公交场站乘务人员相关聚集性疫情,目前共有感染者3例,流调溯源工作正在进行中。
小亦提醒
本人或亲朋好友近期乘坐534路公交或到过534路公交场站及收到健康宝弹窗的请立即向所在社区、单位报备!
北京农商银行数据中心相关疫情
无新增感染者
庞星火介绍,北京农商银行数据中心相关聚集性疫情无新增感染者,目前已累计报告感染者34例,其中员工26例、员工亲友8例,目前疫情发展总体平稳。
1地风险升级
10地风险降级
庞星火介绍,截至2022年5月12日24时,经市疾控中心评估,按照《北京市新冠肺炎疫情风险分级标准》,朝阳区3地、房山区2地、通州区6地,调整风险等级如下:
房山区阎村镇大董村近14天累计报告2例本土确诊病例。本市即日起将房山区阎村镇大董村由低风险地区升级为中风险地区。
朝阳区十八里店乡吕家营村、通州区新华街道盛业家园社区近14天各累计报告5例本土确诊病例,通州区中仓街道新华园社区近14天累计报告3例本土确诊病例。本市即日起将朝阳区十八里店乡吕家营村,通州区新华街道盛业家园社区、中仓街道新华园社区由高风险地区降为中风险地区。
朝阳区高碑店乡方家园社区、潘家园街道松榆东里社区,房山区琉璃河镇兴礼村,通州区梨园镇颐瑞西里社区、永顺镇永顺西里社区、玉桥街道葛布店北里社区近14天各累计报告1例本土确诊病例,通州区通运街道通胡大街78号近14天无报告本土确诊病例。本市即日起将朝阳区高碑店乡方家园社区、潘家园街道松榆东里社区,房山区琉璃河镇兴礼村,通州区梨园镇颐瑞西里社区、永顺镇永顺西里社区、玉桥街道葛布店北里社区、通运街道通胡大街78号由中风险地区降为低风险地区。
截至目前,全市共有高风险地区14个,中风险地区34个。
24小时值班电话
荣华街道值班电话:010-67828528
博兴街道值班电话:010-89028585
亦庄镇值班电话:010-67881505
瀛海镇值班电话:010-69277007
经开区疾控值班电话:010-67803017
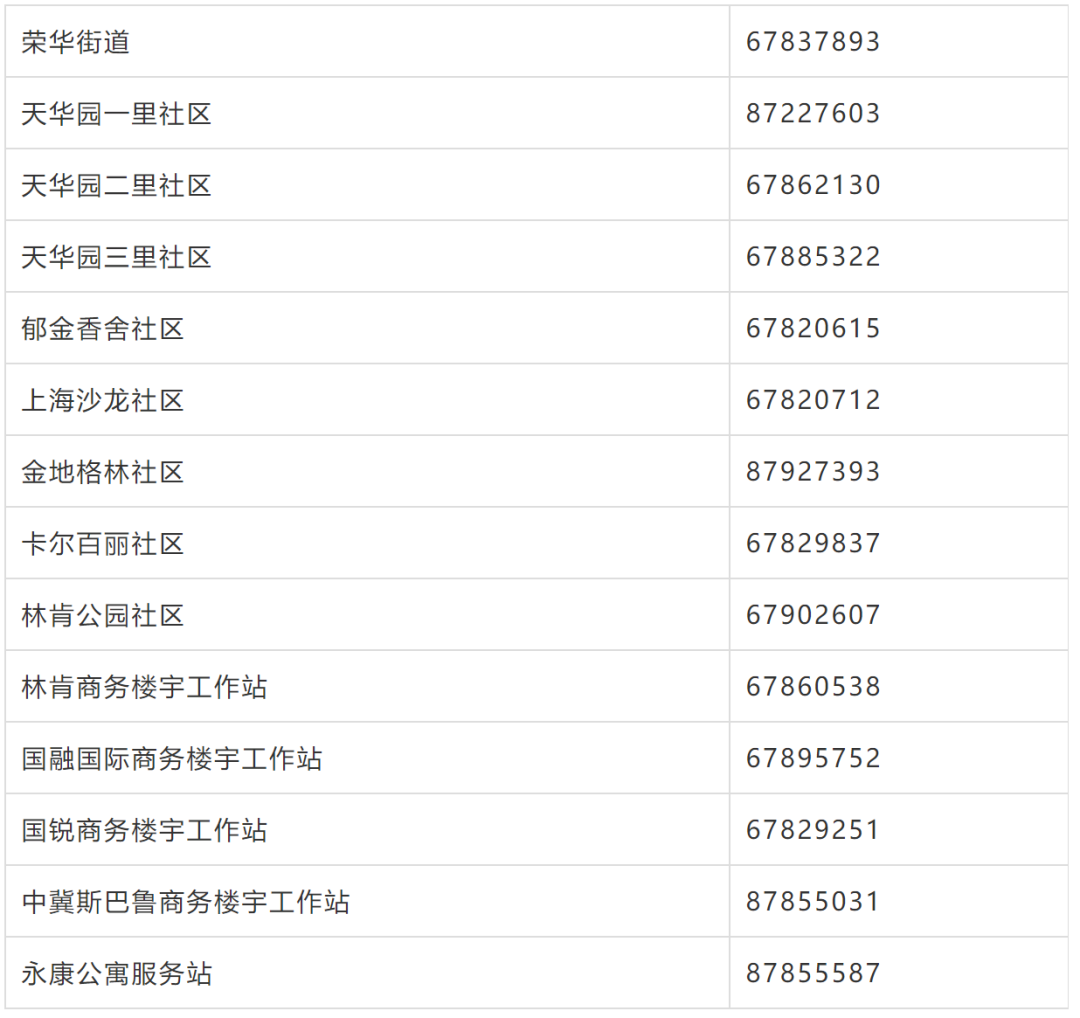
荣华街道及各社区联系电话

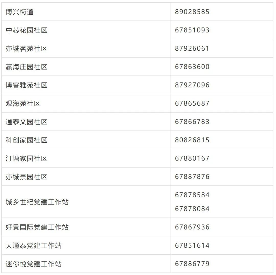
博兴街道及各社区联系电话
