北京经开区公布新增风险点位,涉市场、商超!有交集速报备
经开区疾控中心发布提醒
到访过以下风险点位的人员
立即报告!
11月26日
07:30-12:00 贵园路宏德利远菜市场一楼蔬菜区
09:50-10:10 荣京西街和西环中路交叉口东南角空地核酸检测点
11月27日
09:06-12:00 宏德利远菜市场一楼蔬菜区
09:34-09:45 小羊坊东路1号金色漫香林(商超)
11:59-12:05 源通百姓平安药房(贵园中路5号院1号楼东侧)
18:00-23:00 同济南路地铁站B1口门口小广场
11月28日
08:10-08:20 中和街20号
08:20-08:30 东环北路甲1号海顺德大厦4-5层
08:50-09:00 江湖小厨(荣京西街8号)
10:17-12:00 亦庄镇瀛景园13号楼2单元
请与上述风险点位有时空交集或接到健康宝弹窗提示的人员,立即主动向所在社区、工作单位、居住酒店报告,配合落实各项防控措施。
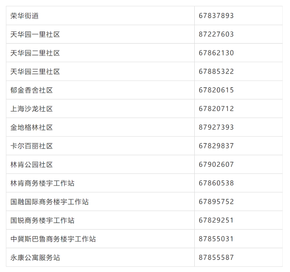
荣华街道及各社区联系电话

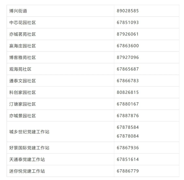
博兴街道及各社区联系电话

在此提醒广大市民朋友,冬季室外温度比较低,如果在单位或家附近做核酸,提前了解一下核酸检测点排队情况,如果时间允许,尽量避开排队高峰前往。个人在进行核酸检测采样过程中要规范戴好口罩,不聚集,同时与前后的人保持安全距离,自觉服从现场工作人员的指引,采样后尽快戴好口罩,迅速离开采样现场。居民如抗原自测阳性或出现新冠肺炎相关症状,请立即向社区报告,减少家庭传播风险,配合落实核酸检测、转运等管控措施,转运中服从安排,规范佩戴N95医用防护口罩,保持安全社交距离。