马驹桥镇发现一管10混1初筛阳性!到访过这个地方的人员请报备
据马驹桥镇政府官方微信公众号“魅力马桥”消息,2022年10月9日,北京通州马驹桥镇中集物流常态化核酸采样点发现一管“10混1”初筛阳性。目前相关部门正在进行复核检测。
按照疫情防控相关规定,对相关点位实行临时管控,请各位居民配合暂时居家隔离,“足不出户”,具体解除时间将依据核酸检测结果和疫情形势动态调整。
通州马驹桥镇将开展三轮区域核酸检测
今天(10月9日)起,马驹桥镇将开展三轮区域核酸检测,所有三方常态化检测点暂时关闭。具体安排是:
一、检测时间
10月9日、10日、11日每天14:00—20:00,每人每天检测一次。
提醒:10月9日已做过核酸检测的人员无需重复筛查,明天起参与第二轮、第三轮全员核酸筛查即可。
二、检测地点
78个区域核酸点位同时开放,居民群众可就近进行检测。
三、检测对象
全镇所有居民(包括本地常住人口、暂住人口、临时流动人口、外籍人口等)。居家隔离人员在家中等待统一安排。
北京通州疾病预防控制中心发布紧急提醒:
10月6日15:30-16:30到访过通州区永顺镇东阁雅舍小区南门及3号楼的人员,现住址为通州区的居民立即向所在街道、乡镇、工作单位及区疾控中心报告,本人及同住人确保居家不外出,涉疫风险人员建议通过电话方式报备。

东阁雅舍小区位置
↓↓↓

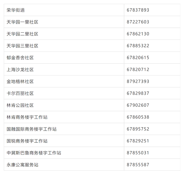
荣华街道及各社区联系电话

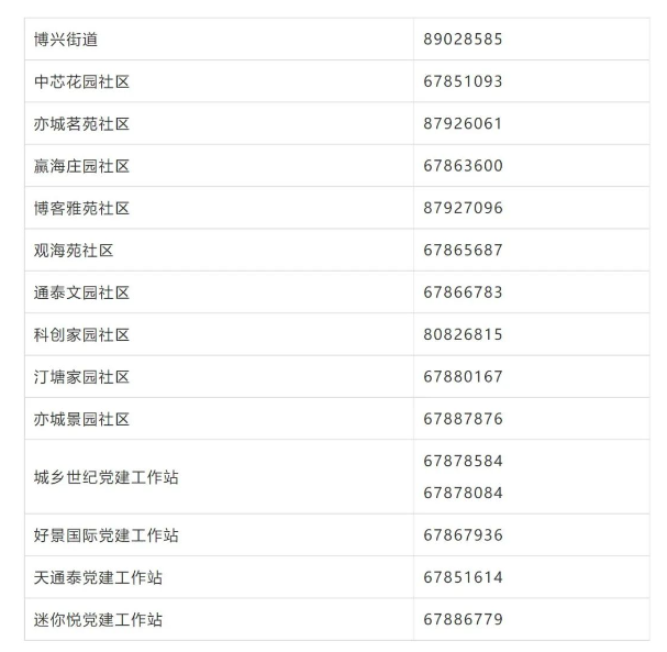
博兴街道及各社区联系电话
