北京新增4例本土感染者,均为进返京人员,轨迹涉高铁、航班、农贸市场,有交集者请报备!
8月15日,在北京市新型冠状病毒肺炎疫情防控工作第386场新闻发布会上,市疾控中心副主任刘晓峰介绍,8月15日0时至15时,本市在进返京人员中新发现4例本土新冠肺炎病毒感染者,昌平区2例、朝阳区和丰台区各1例;轻型2例、无症状感染者2例;隔离观察人员3例,社会面筛查人员1例(在昌平区)。已转至定点医院隔离治疗,相关风险点位及人员已管控落位。
感染者情况
感染者1:现住朝阳区劲松街道首城国际D区,为隔离观察人员。8月7日返京,8月8日作为京外病例密切接触者进行集中隔离,8月14日报告核酸检测结果为阳性,8月15日诊断为无症状感染者。
感染者2、4:为母女关系,现住昌平区北七家镇融尚未来。感染者2通过社会面核酸筛查发现,8月12日先后乘坐Z180次、G2458次列车抵京,自述8月14日出现发热等症状。感染者4作为密切接触者核酸检测发现,8月10日抵京。8月15日报告核酸检测结果均为阳性,当日诊断为确诊病例,临床分型均为轻型。
感染者3:现住丰台区太平桥街道丽新嘉园南区。7月27日至8月13日在京外,8月13日购买返京机票时发现健康宝弹窗3,随后进行申诉,8月14日乘坐3U8694航班到达成都双流国际机场,发现健康宝恢复正常,在机场内进行核酸检测后,当日乘坐CA4117航班返京。8月15日凌晨疾控部门接成都市疾控中心横传信息,其核酸检测初筛结果为阳性,立即对其进行管控、开展流行病学调查、核酸检测等工作,当日报告结果为阳性,诊断为无症状感染者。
疫情防控容不得丝毫松懈
刘晓峰介绍,当前国内疫情多点散发,境外输入病例持续增加,本市又正面临暑期进返京高峰,疫情防控形势严峻。这4例输入性病例再次警示我们,疫情防控容不得丝毫松懈,要坚决防松劲、防漏洞、防侥幸,始终绷紧防疫弦,慎终如始抓好防疫工作。要始终坚持“外防输入、内防反弹”总策略不动摇,压紧压实“四方责任”,加强流调溯源、信息横传,风险人员和风险点位第一时间落位管控,尽快阻断疫情传播链条。
要严格落实远端管控和进返京规范管理
刘晓峰介绍,要严格落实远端管控和进返京规范管理,加强机场、车站、公路卡口等风险人员排查工作,坚持做好国际航班入境旅客和高风险岗位相关工作人员闭环管理和安全防护。
风险人员请立即主动报备
刘晓峰提醒,请与病例同航班、列车等轨迹有交集的人员,海南、西藏、新疆等风险地区进返京人员,接到电话、短信、健康宝弹窗、健康宝黄码或红码提示风险人员,立即主动向社区、单位、宾馆等报告,配合做好集中隔离、居家隔离、健康监测、核酸检测等各项防控措施。
如接到社区或疾控中心通知为风险人员,要如实报告个人信息和行程轨迹,不外出,不接待来访亲友,配合落实各项防控措施,因瞒报、虚报或未按规定落实防控措施,引发疫情传播风险或其他严重后果的,要承担相应法律责任。居家隔离、居家健康监测及其同住人员,要严格居家、足不出户,一旦出现发热、干咳等症状,立即报告社区,配合相应管控措施。
丰台区活动轨迹如下:
7月27日—8月13日
外省旅游。
8月14日
11:55—13:55 乘坐3U8694航班;
17:00—20:15 乘坐CA4117航班;
20:20左右 首都机场T3航站楼核酸采样;
21:50左右 乘私家车返家,未再外出。
8月15日
5:00 转入北京地坛医院。
涉及昌平新增风险点位具体情况如下:
8月13日下午:
北七家镇融尚未来小区。
8月14日:
9:50—10:10 北七家镇金则新世纪商城核酸检测点。
10:40—11:00 北七家镇柏林在线小区南侧溪水源农贸市场,其间于10:46—10:51到该市场外的大傻炒栗子商店购物。
凡与上述点位行程有时空交集的人员,以及接到健康宝弹窗提示人员,请立即主动向所在社区(村)、工作单位、居住酒店报告,配合落实各项防控措施。
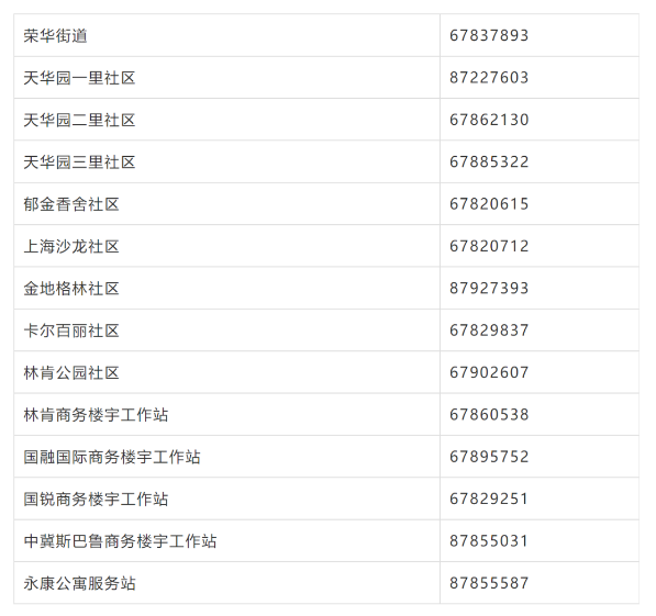
荣华街道及各社区联系电话

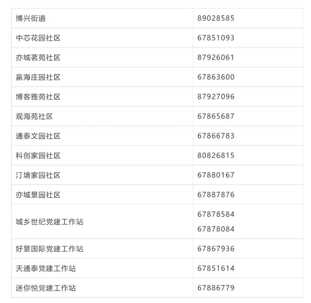
博兴街道及各社区联系电话

海南、西藏、新疆等风险地区进返京人员请立即报备
刘晓峰提醒,请与病例同航班、列车等轨迹有交集的人员,海南、西藏、新疆等风险地区进返京人员,接到电话、短信、健康宝弹窗、健康宝黄码或红码提示风险人员,立即主动向社区、单位、宾馆等报告,配合做好集中隔离、居家隔离、健康监测、核酸检测等各项防控措施;如接到社区或疾控中心通知为风险人员,要如实报告个人信息和行程轨迹,不外出,不接待来访亲友,配合落实各项防控措施,因瞒报、虚报或未按规定落实防控措施,引发疫情传播风险或其他严重后果的,要承担相应法律责任。
居家隔离、居家健康监测及其同住人员,要严格居家、足不出户,一旦出现发热、干咳等症状,立即报告社区,配合相应管控措施。
综合自北京日报