乘坐此次列车抵京人员,请报备!这些车厢按密接管理
北京市丰台区疾病预防控制中心发布消息:
8月10日从乌鲁木齐出发,8月12日到北京西站的Z180次列车上有1例新冠肺炎阳性感染者。
在此提醒广大居民朋友:乘坐此次Z180次列车抵京人员,请立即主动向居住地所在社区(村)、工作单位、居住酒店报告。
9车厢、10车厢、12车厢、15车厢的抵京乘客,按密接人员管理,采取“7天集中隔离医学观察+3天居家健康监测”管理措施。其余车厢的抵京乘客,按高风险人员管理,采取“7天居家隔离医学观察+3天健康监测”管理措施。
请与上述活动轨迹有时空交集的人员,立即主动向所在社区(村)、工作单位、居住酒店报告,或拨打丰台区疾控部门热线电话63811956进行报告。
Z180次列车站点信息

记者注意到,此前河北怀来县发现3例感染者,曾乘坐过8月10日Z180次列车。
8月13日,河北省张家口市怀来县新冠肺炎疫情防控指挥部消息,怀来县发现3例新冠肺炎无症状感染者,系一家三口,8月10日19时33分乘坐Z180次列车(座位号10车厢11号上铺、中铺,12号上铺)由新疆乌鲁木齐站到张家口市宣化区。
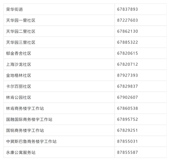
荣华街道及各社区联系电话

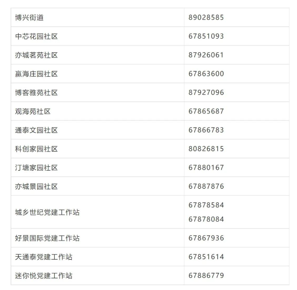
博兴街道及各社区联系电话

转载自北京日报