北京昨新增1例社会面筛查病例,去过北京南站这些地点,请立即报告!
7月31日0时至24时,北京新增1例本土确诊病例(为社会面筛查人员),无新增疑似病例和无症状感染者;新增5例境外输入确诊病例和3例无症状感染者,无新增疑似病例。治愈出院3例。
本土确诊病例
现住海淀区鲁园上河村小区三区,为社会面筛查人员,7月31日诊断为确诊病例。
境外输入确诊病例
确诊病例1:中国籍,7月29日从俄罗斯到达北京首都机场,海关经健康筛查并进行核酸检测后,经闭环管理送至集中隔离酒店,7月30日报告核酸检测结果为阳性,7月31日诊断为确诊病例。
确诊病例2:中国籍,7月30日从俄罗斯到达北京首都机场,海关经健康筛查并进行核酸检测后,经闭环管理送至集中隔离酒店,当日报告核酸检测结果为阳性,7月31日诊断为确诊病例。
确诊病例3:中国籍,7月27日从英国出发经德国到达北京首都机场,海关经健康筛查并进行核酸检测后,经闭环管理送至集中隔离酒店,7月31日报告核酸检测结果为阳性,当日诊断为确诊病例。
确诊病例4:韩国籍,7月30日从韩国到达北京首都机场,海关经健康筛查并进行核酸检测后,经闭环管理送至集中隔离酒店,当日报告核酸检测结果为阳性,7月31日诊断为确诊病例。
确诊病例5:中国籍,7月29日从塞内加尔出发经法国到达北京首都机场,海关经健康筛查并进行核酸检测后,经闭环管理送至集中隔离酒店,7月30日报告核酸检测结果为阳性,7月31日诊断为确诊病例。
上述病例均已转至定点医院,已开展流行病学调查,按要求落实管控措施。
海淀区疾病预防控制中心昨天通报:7月31日,海淀区一社会面核酸检测点发现一管“10混1”混采初筛阳性。7月30日该阳性人员与1名家人同乘高铁G10次13车厢返京(座位号:10B、10C),14:30到达北京南站从西出口出站,由家属开私家车接回。(此前消息:海淀社会面检测点发现一管“10混1”阳性,系入境人员乘高铁返京)
丰台区疾病预防控制中心发布了涉及北京南站轨迹,请与相关活动轨迹有同时空交集的人员,立即主动向所在社区(村)、工作单位、居住酒店报告。
感染者轨迹
14:31,从15站台G10车13车厢下车;
14:35,在站台接受抽查核验身份信息后从站台西侧第6通道乘坐自动扶梯下行;
14:38,下自动扶梯;
14:40,从第7出站口左侧第三个自动测温门通过,分别从左侧第3、4刷票闸机口出站;
14:42,从西北出租车通道(E/F口),步行走向西停车场;
14:44,从北京南站西北出租车通道E/F口方向,乘坐M层电梯出,步行至西停车场。
如有交集请报告
7月30日14:44-17:44,曾在北京南站西北出租车通道E/F口方向乘坐M层电梯的人员,立即主动向居住地所在社区(村)、工作单位、居住酒店报告。按照密接人员管理,采取“7天集中隔离医学观察+3天居家健康监测”管理措施。
7月30日17:45-7月31日17:44,曾在北京南站西北出租车通道E/F口方向乘坐M层电梯的人员,立即主动向居住地所在社区(村)、工作单位、居住酒店报告。按照高风险人员管理,采取“7天居家隔离医学观察+3天健康监测”管理措施。
7月30日14:31-7月31日17:44,除因同乘M层电梯被判定为密接和高风险的人员外,与以上活动轨迹有同时空交集的人员,立即主动向所在社区(村)、工作单位、居住酒店报告,落实健康监测,执行“三天两检”管控措施。
如有交集,立即报备!
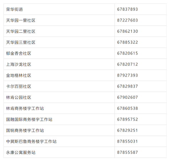
荣华街道及各社区联系电话

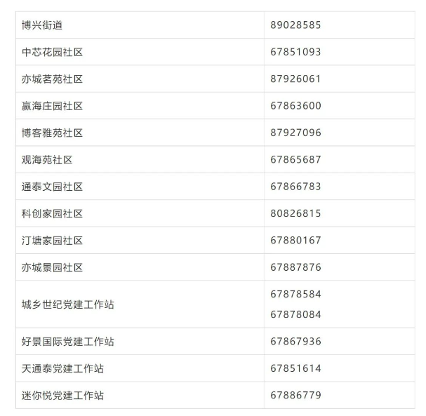
博兴街道及各社区联系电话

综合自北京日报