顺义两地发现10混1初筛阳性!有交集请速速报备
据北京日报微信公众号消息,7月18日,顺义区空港街道蓝星花园社区居委会发布通知,因发现1管10混1初筛阳性,按照防疫要求进行临时管控,只进不出。
南法信镇北法信村因出现10混1初筛阳性,采取临时管控措施,只进不出。
目前,两地疑似感染者正在进行复核,请广大居民积极配合防疫工作人员,做好防护措施,等待进一步消息。
请与上述风险点位有时空交集人员
立即主动向居住地所在社区(村)
工作单位、居住酒店报告
配合落实管控要求
及时完成核酸检测
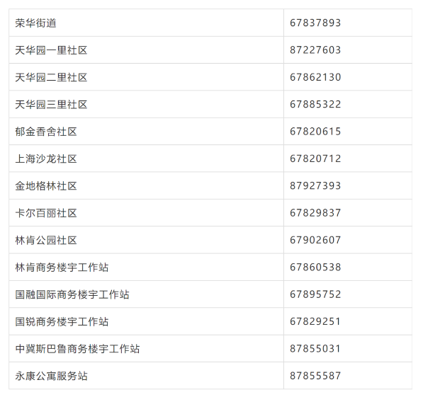
荣华街道及各社区联系电话

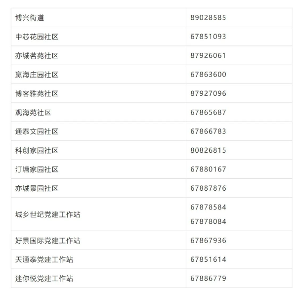
博兴街道及各社区联系电话

小亦提示
★ 有相关旅居史且已进京人员、接到健康宝弹窗提示人员,均请立即主动向社区、单位、宾馆等报告,配合做好集中隔离、居家隔离、健康监测、核酸检测等各项防控措施;
★ 机场、车站、道路卡口等交通枢纽,各宾馆、酒店、民宿、学校等单位加强排查管控,按照相关规定严格落实测温验码、查验核酸证明等各项防控措施。发现风险人员,要及时向所在社区(村)等相关部门报告,并配合落实管控措施。
居家隔离人员和共同居住者在居家隔离期间不得外出,一旦出现发热、干咳、咳痰、咽痛、乏力、腹泻、味觉异常、嗅觉异常等症状,不要自行购药、服药,不乘坐公共交通工具、不打网约车等,需立即报告社区,采集标本进行检测并采取相应管控措施。
坚持常态化疫情防控措施。科学佩戴口罩,不握手,勤洗手,常通风,尽量不去人群密集、空气不流通的场所。自觉遵守疫情防控措施。进入公共场所时,要坚持全员健康宝扫码登记入内,配合做好戴口罩、验码测温、查验核酸阴性证明、保持安全社交距离等防控措施。出现发热、咳嗽等症状按规定就医。
转载自北京日报