涉及马驹桥、旧宫等地!北京多区封管控区更新
马驹桥镇
封控区
马驹桥镇样本小区52号楼、57号楼
管控区
马驹桥镇样本小区50号楼、51号楼、53号楼
旧宫镇
封控区
旧宫镇德贤公馆6号楼
旧宫镇清逸园小区、清逸园甲区
管控区
旧宫镇德贤公馆6号楼以外的其他楼栋
请与岳各庄市场、新发地市场、东方新天地、优盛大厦、华熙广场、封管控区等风险点位有时空交集人员、接到健康宝弹窗提示人员立即向社区报告,配合落实各项防控措施。
小亦提醒
如有交集请报备
24小时值班电话
荣华街道值班电话:010-67828528
博兴街道值班电话:010-89028585
亦庄镇值班电话:010-67881505
瀛海镇值班电话:010-69277007
经开区疾控值班电话:010-67803017
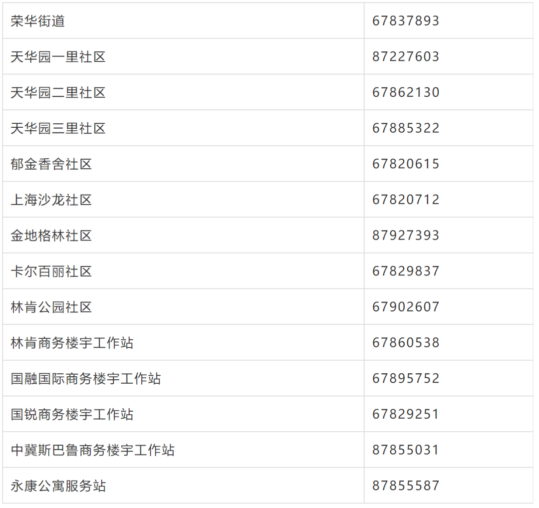
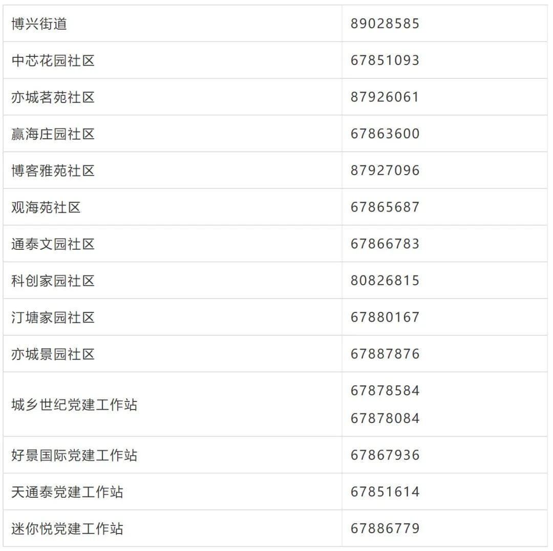
北京经开区各街道及社区联系电话如下
荣华街道及各社区联系电话

博兴街道及各社区联系电话



转载自北京日报