新增本土21+1,中高风险地区7+1,这些人请原地不动,马上报备
4月26日,在北京市新型冠状病毒肺炎疫情防控工作第316场新闻发布会上,市疾控中心副主任、全国新型冠状病毒肺炎专家组成员庞星火介绍,4月25日16时至26日16时,本市新增本土新冠肺炎病毒感染者22例,其中确诊病例21例、无症状感染者1例;朝阳区9例、房山区7例、顺义区2例、昌平区2例、丰台区1例、延庆区1例。
感染者209、214至217、221:均为在校学生,现住址均位于朝阳区。4月22日作为感染者143的密切接触者进行集中隔离,报告核酸检测结果均为阳性,已转至定点医院,诊断为确诊病例,临床分型均为轻型。
感染者210:现住房山区窦店镇于庄村。4月22日、23日曾与感染者204共同参加婚宴。4月24日作为风险人员进行核酸检测,4月25日报告结果为阳性,已转至定点医院,当日诊断为确诊病例,临床分型为轻型。
感染者211:为感染者140、141的家人,现住顺义区李桥镇后桥村。4月22日作为密切接触者进行集中隔离,4月25日报告核酸检测结果为阳性,已转至定点医院,当日诊断为确诊病例,临床分型为轻型。
感染者212:现住朝阳区六里屯街道棕榈泉小区5号楼。4月23日作为感染者145的密切接触者进行集中隔离,4月25日报告核酸检测结果为阳性,已转至定点医院,当日诊断为确诊病例,临床分型为轻型。
感染者213:为感染者185的妻子,现住址与感染者185相同。4月24日进行集中隔离,4月25日报告核酸检测结果为阳性,已转至定点医院,当日诊断为无症状感染者。
感染者218:现住昌平区北七家镇冠华苑4期6号楼。4月22日与感染者145共同在感染者173家中维修房屋,4月23日作为密切接触者进行集中隔离,4月25日报告核酸检测结果为阳性,已转至定点医院,4月26日诊断为确诊病例,临床分型为普通型。
感染者219:为感染者149的家人,现住址与感染者149相同。4月23日作为密切接触者进行集中隔离,4月25日报告核酸检测结果为阳性,已转至定点医院,4月26日诊断为确诊病例,临床分型为轻型。
感染者220:现住房山区窦店镇于庄村。4月23日感染者204、210曾参加其在家中举办的婚宴。4月24日作为风险人员进行居家隔离,当日报告核酸检测结果为阳性,已转至定点医院,4月26日诊断为确诊病例,临床分型为轻型。
感染者222:现住房山区窦店镇于庄村。4月23日参加感染者220举办的婚宴,4月25日作为密切接触者进行核酸检测,当日报告结果为阳性,已转至定点医院,4月26日诊断为确诊病例,临床分型为轻型。
感染者223:为感染者197的妻子,现住址与感染者197相同。4月24日作为密切接触者进行集中隔离,4月25日报告核酸检测结果为阳性,已转至定点医院,4月26日诊断为确诊病例,临床分型为轻型。
感染者224:为感染者145同院居住人员,现住址与感染者145相同。4月22日作为感染者140、141的次密接、4月23日作为感染者145的密切接触者进行集中隔离,期间多次核酸检测结果均为阴性,自述4月24日出现咳嗽、发热等症状,4月25日报告核酸检测结果为阳性,已转至定点医院,4月26日诊断为确诊病例,临床分型为轻型。
感染者225:为感染者158的同住人员,现住址与感染者158相同,工作地点为房山区窦店镇久安路38号。4月23日作为感染者158的密切接触者进行集中隔离,4月25日报告核酸检测结果为阳性,已转至定点医院,4月26日诊断为确诊病例,临床分型为轻型。
感染者226:现住房山区窦店镇瓦窑头村。4月21日曾与感染者165、167、189前往窦店镇瓦窑头村太和褡裢火烧店就餐,4月25日作为密切接触者进行集中隔离,自述当日出现咳嗽等症状,报告核酸检测结果为阳性,已转至定点医院,4月26日诊断为确诊病例,临床分型为普通型。
感染者227:现住房山区窦店镇于庄村,小区保安。4月24日作为风险管控人员进行核酸检测,4月25日报告核酸检测结果为阳性,已转至定点医院,4月26日诊断为确诊病例,临床分型为轻型。
感染者228:现住丰台区长辛店街道赵辛店东街150号。4月25日作为感染者186的密切接触者进行集中隔离,4月26日报告核酸检测结果为阳性,已转至定点医院,当日诊断为确诊病例,临床分型为轻型。
感染者229:现住房山区长阳镇金桥国际公寓A栋。曾于4月21日与感染者189共用公厕,自述4月24日出现发热、咽痛等症状,4月26日报告核酸检测结果为阳性,已转至定点医院,当日诊断为确诊病例,临床分型为轻型。
感染者230:为感染者188的妻子,现住址与感染者188相同。4月23日作为密切接触者进行集中隔离,自述4月24日出现咽痛等症状,4月25日报告核酸检测结果为阳性,已转至定点医院,4月26日诊断为确诊病例,临床分型为轻型。
庞星火介绍,截至2022年4月25日24时,朝阳区十八里店乡弘善家园、十八里店乡周家庄中路20号院、潘家园街道武圣东里、南磨房乡双龙南里和房山区窦店镇田家园村近14天各累计报告2例本土确诊病例;朝阳区双井街道广和南里二条、垡头街道垡头西里三区近14天各累计报告3例本土确诊病例。经市疾控中心评估,按照《北京市新冠肺炎疫情风险分级标准》,本市即日起将以上7个地区定为中风险地区。
朝阳区十八里店乡周家庄中路19号院近14天累计报告6例本土确诊病例。经市疾控中心评估,按照《北京市新冠肺炎疫情风险分级标准》,本市即日起将朝阳区十八里店乡周家庄中路19号院由中风险地区升级为高风险地区。
新闻发布会上,房山区委常委、常务副区长、区政府新闻发言人吕晨飞介绍,目前来看,太和褡裢火烧店是房山区此轮疫情的重点风险点位,截至目前,火烧店排查出顾客205人、判定密接219人。同时,昨天通报的病例8、病例9同在火烧店用餐,与外区确诊病例有同时空交集并感染,由于其工作的仙座·重庆市井火锅良乡店人流量也比较大,这是目前排查的另一个重点风险点位。截至目前,火锅店判定密接474人。
因此,再次提醒市民朋友,凡是4月19日12:10后到过太和褡裢火烧店、4月21日13:00后到过仙座·重庆市井火锅良乡店的,请您务必原地不动,马上报告。
北京经开区各街道及社区联系电话如下
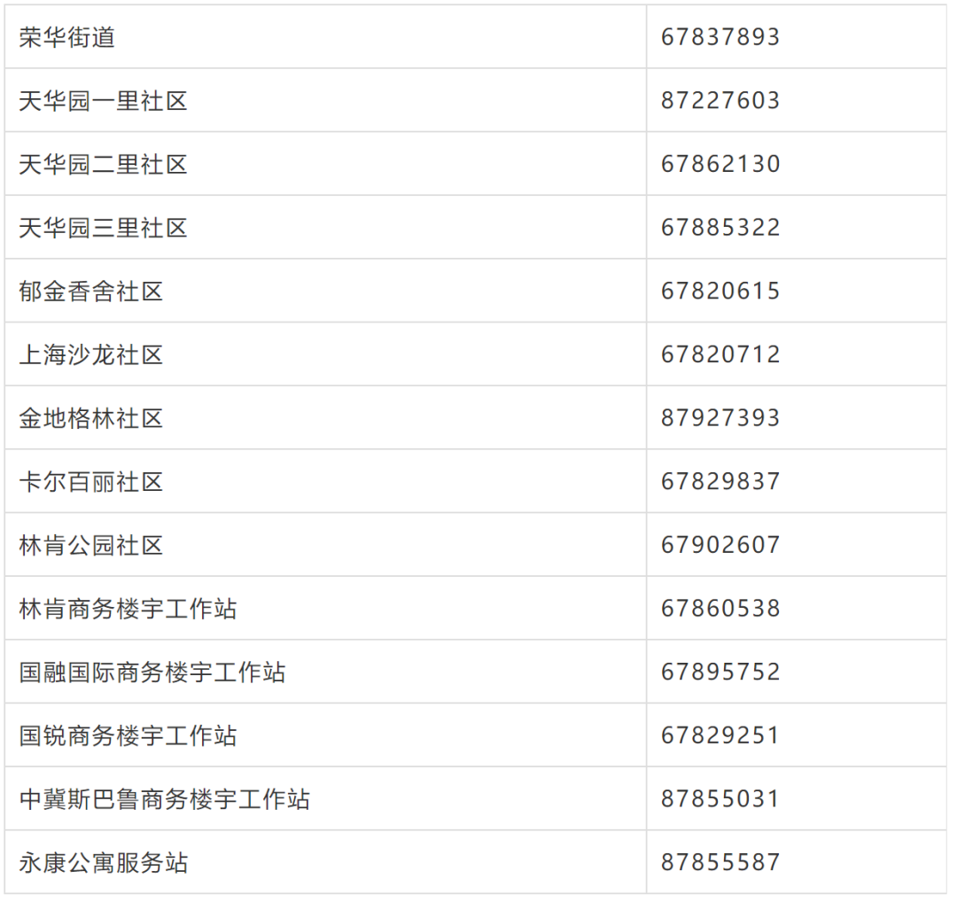
荣华街道及各社区联系电话

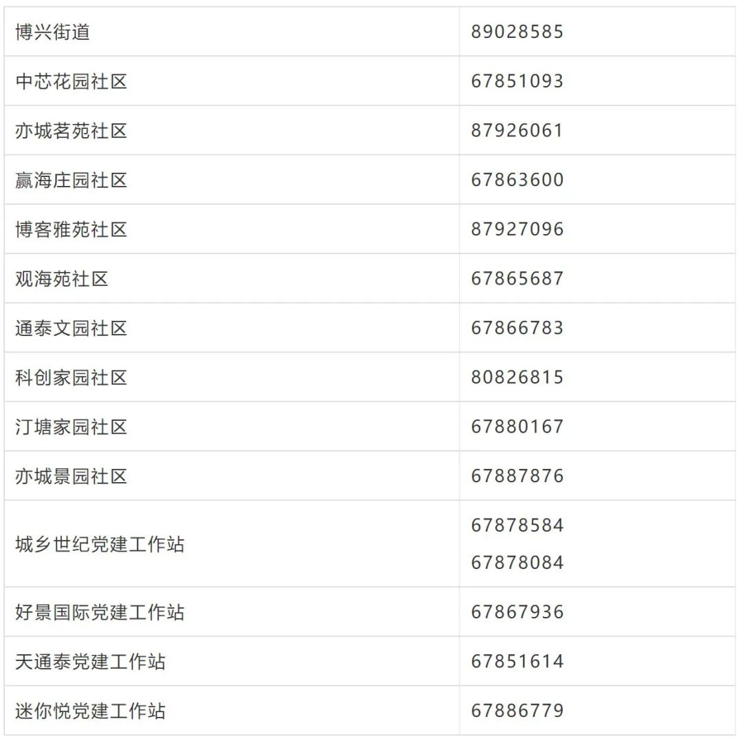
博兴街道及各社区联系电话

“五一”假期临近,不少小伙伴开始安排假期活动当前全球新冠肺炎疫情仍然十分严重,疫情防控形势依然严峻。
小亦提醒,“五一”防疫政策及时了解,快随小亦一起看看吧~

部分内容综合自北京日报客户端