再次提醒!到过这个地方,主动报告、配合监测
4月23日03:57,北京经开区发布紧急通知:4月17日到过南海子公园篮球场(一期南门对面)的人员,请立即就地自我隔离并报告。
北京市卫健委提醒当前疫情防控形势严峻复杂,防控工作不能有丝毫松懈,要继续坚持“动态清零”总方针不动摇,严格落实属地、部门、单位和个人“四方责任”,立足早发现、早报告、早隔离、早治疗,快速开展风险人员及物品排查,尽快阻断疫情传播风险。
请与病例轨迹有交集的人员、健康宝弹窗人员及进返京风险人员主动向所在社区报备,配合流行病学调查、集中隔离、居家隔离、核酸检测及健康监测等防控措施。
“五一”假期临近,人员往来频繁,流动性大,增加了疫情传播风险,市民朋友要绷紧疫情防控弦,非必要不出京,密切关注近期国内外疫情情况,不去中高风险地区和报告确诊病例地区旅游、探亲。
倡导就地过节,减少人员流动,减少不必要的聚餐聚会,尤其不要带儿童、老人及体弱者到人员密集的公共场所,如出现发热、咳嗽等症状,不带病上班、上学,不参加社会活动,不自行购药、服药,要主动筛查、及时就诊,主动告知医生旅行史、接触史等情况,以便于医生排查。
北京市疾控中心提醒广大市民朋友,与发布病例轨迹有交集人员,请立即报备:

图片有相关旅居史且已进京人员、接到健康宝弹窗提示人员,均请立即主动向社区、单位、宾馆等报告,配合做好集中隔离、居家隔离、健康监测、核酸检测等各项防控措施。
如果您是外省返京人员或与确诊病例存在时空交集,请主动联系社区报备,北京经开区各街道及社区联系电话如下:
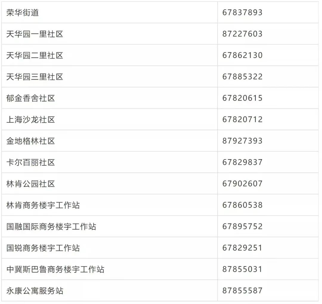
荣华街道及各社区联系电话

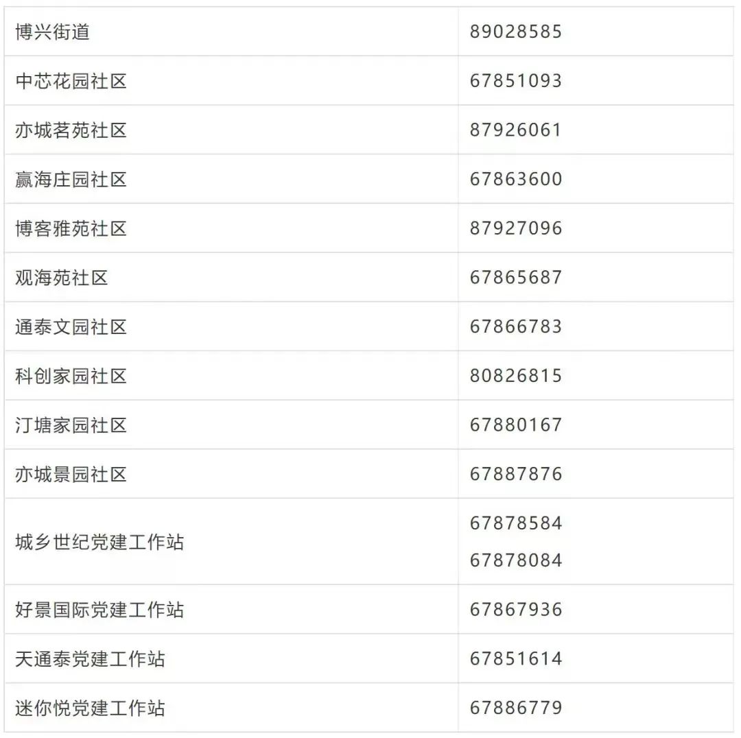
博兴街道及各社区联系电话

部分内容源自北京日报