突发!朝阳新增5名核酸阳性人员,去过这些地方请报备
4月3日0时至24时,北京新增1例本土确诊病例,无新增疑似病例和无症状感染者;新增3例境外输入确诊病例,无新增疑似病例和无症状感染者。治愈出院7例。
本土确诊病例
现住大兴区天恒世界集公寓8号楼。3月28日至31日曾前往外省出差,3月31日乘坐G530列车返京,4月3日报告核酸检测结果为阳性,已转至定点医院,综合流行病史、临床表现、实验室检测和影像学检查等结果,当日诊断为确诊病例,临床分型为轻型。
境外输入确诊病例
确诊病例1、2:均为中国籍,3月29日从奥地利到达北京首都机场,海关经健康筛查并进行核酸检测后,经闭环管理送至集中隔离酒店,4月3日报告核酸检测结果为阳性,已转至定点医院,综合流行病史、临床表现、实验室检测和影像学检查等结果,当日诊断为确诊病例,临床分型均为轻型。
确诊病例3:中国籍,3月23日从中国香港到达北京首都机场,海关经健康筛查并进行核酸检测后,经闭环管理送至集中隔离酒店,4月3日报告核酸检测结果为阳性,已转至定点医院,综合流行病史、临床表现、实验室检测和影像学检查等结果,当日诊断为确诊病例,临床分型为轻型。
已对上述病例开展流行病学调查,按要求落实管控措施。
当前,本市疫情防控形势仍然严峻,疫情防控一刻也不能放松,要坚持“外防输入,内防反弹”,严格落实四方责任。
提醒广大市民朋友在假期期间要做好个人防护,认真履行个人防控责任,非必要不出京,不去中高风险地区旅行或出差,进返京人员在持48小时内核酸检测阴性证明和北京健康宝绿码的基础上,需在抵京后72小时内再进行一次核酸检测。
进返京后要加强自身健康监测,7日内不聚餐、不聚会,不前往人群密集场所。如得知自己是密切接触者、风险人员后,务必立即向社区报告,服从管理,不要自行外出。与病例活动轨迹有交集人员、接到健康宝弹窗提示人员、进返京风险人员请立即主动向社区报告,配合落实各项防控措施。坚持常态化疫情防控措施,保持科学佩戴口罩、勤洗手、常通风、少聚集、一米线、用公筷等良好卫生习惯。做好个人健康监测,密切关注自身及家人的身体状况,如有发热、干咳等新冠肺炎相关症状,及早到附近医院发热门诊按规定就医。
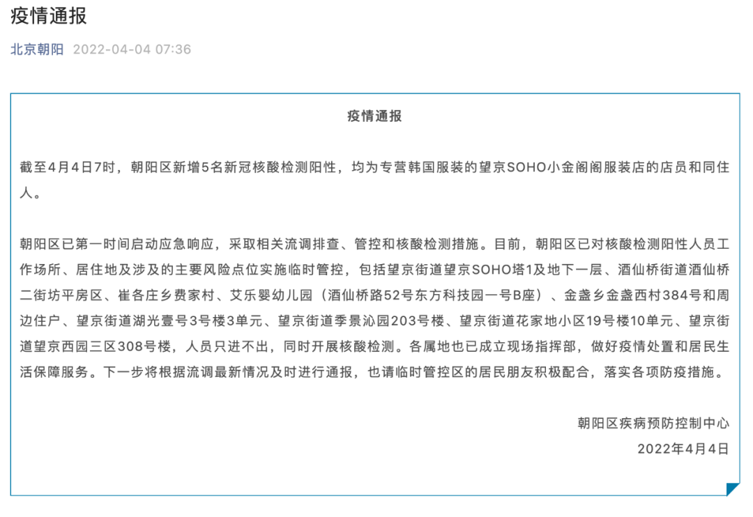
朝阳区新增5名新冠核酸检测阳性人员
截至4月4日7时,朝阳区新增5名新冠核酸检测阳性,均为专营韩国服装的望京SOHO小金阁阁服装店的店员和同住人。
朝阳区已第一时间启动应急响应,采取相关流调排查、管控和核酸检测措施。目前,朝阳区已对核酸检测阳性人员工作场所、居住地及涉及的主要风险点位实施临时管控,包括望京街道望京SOHO塔1及地下一层、酒仙桥街道酒仙桥二街坊平房区、崔各庄乡费家村、艾乐婴幼儿园(酒仙桥路52号东方科技园一号B座)、金盏乡金盏西村384号和周边住户、望京街道湖光壹号3号楼3单元、望京街道季景沁园203号楼、望京街道花家地小区19号楼10单元、望京街道望京西园三区308号楼,人员只进不出,同时开展核酸检测。
各属地也已成立现场指挥部,做好疫情处置和居民生活保障服务。下一步将根据流调最新情况及时进行通报,也请临时管控区的居民朋友积极配合,落实各项防疫措施。

大兴确诊病例有新增风险点位
有时空交集及时报告
2022年4月3日,大兴区疾控中心接报一人新冠核酸检测阳性。接报后,立即启动应急处置机制,经进一步详细流调,请与以下活动轨迹有时空交集的人员及时主动报告:
3月31日18:22-22:47,乘坐或去过G530列车1车厢(终点站北京西站);
3月31日-4月3日,去过大兴区盛坊路1号院天恒世界集公寓;
3月31日23:20-4月1日23:20,乘坐出租车(车牌号京BT6098);
4月1日-2日,去过大兴区北兴路30号中建·大兴之星;
4月1日8:30-4月2日8:30,乘坐滴滴车(车牌号京A1SF88);
4月1日11:00-4月2日13:00,进入大兴区北兴路30号中建·大兴之星负一层蝎子李(分店);
4月2日8:20-4月3日8:30,乘坐滴滴车(车牌号京PSV038);
4月2日10:40-4月3日12:30,进入中建·大兴之星旁边盛捷大兴酒店公寓自助餐(一层);
4月2日19:30-19:35,去过大兴区迪安兴丰采样点(龙河路)进行核酸采样;
4月2日18:40-22:30,进入大兴区金苑路17号徽州小馆大厅;
请以上人员立即采取以下防控措施:
1.主动向居住地所在社区(村)、工作单位、居住酒店报告;
2.配合属地落实集中隔离、居家隔离、核酸检测、健康监测等防控措施;
3.健康监测期间减少外出,不聚集、不聚餐。如出现发热、干咳、咳痰、咽痛、乏力、腹泻、味觉异常、嗅觉异常等11种症状,不要自行购药、服药,不乘坐公共交通工具、不打网约车等,及时到发热门诊就医。
该核酸检测阳性人员未接种新冠疫苗,在此提示广大市民:积极接种新冠疫苗,外地进(返)京后,72小时内完成核酸检测,检测结果未出之前,提倡居家办公,做好个人防护,不聚集、不聚餐,做好自我健康监测,尽可能工作地点、居住地点两点一线,最大限度降低疫情传播风险。
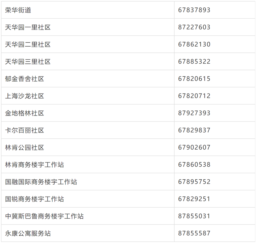
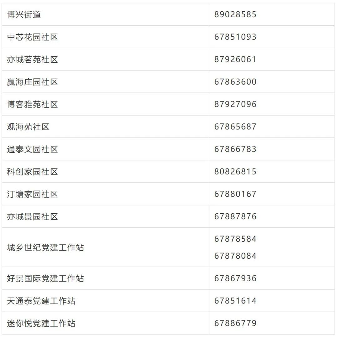
小亦提醒您,如存在时空交集或收到健康宝弹窗请迅速向所在单位或社区报备,北京经开区各街道及社区联系电话如下:
荣华街道及各社区联系电话

博兴街道及各社区联系电话

转载自北京日报