防疫快讯 | 北京近期报告61例本土感染者涉及地点一图速览,市疾控提醒以下人员主动报备
3月17日0时至24时,北京新增7例本土确诊病例和1例无症状感染者。自3月7日以来,北京累计报告61例本土感染者。




北京疾控提醒
当前,全球疫情呈高发态势,国内多地报告本土确诊病例,全市疫情防控面临境外境内双重风险,疫情防控一刻也不能放松,要继续坚持“外防输入、内防反弹”的防控策略,依据“四早”原则,严格落实四方责任,从严从紧,科学精准,有效控制和降低疫情传播风险。
北京市疾控中心提醒广大市民朋友,有以下情况人员,请立即报备:
与发布病例轨迹有交集人员;
3月11日(含)以来途经或旅居河北邯郸市邯山区;
3月10日(含)以来途经或旅居河北邯郸市丛台区、大名县;
3月5日(含)以来途经或旅居天津南开区长虹街道,红桥区邵公庄街道;
3月4日(含)以来途经或旅居天津南开区华苑街道,河北区铁东路街道;
3月3日(含)以来途经或旅居天津宝坻区大钟庄镇;
3月3日(含)以来途经或旅居河北保定市涿州市;
3月2日(含)以来途经或旅居福建泉州市;
2月28日(含)以来途经或旅居河北沧州市沧县、新华区;
2月27日(含)以来途经或旅居天津河东区大王庄街,津南区,武清区,东丽区新立街道,南开区嘉陵道街道、万兴街道,红桥区西沽街道、和苑街道,河西区,滨海新区,北辰区大张庄镇;
2月27日(含)以来途经或旅居河北沧州市河间市、运河区、肃宁县,廊坊市;
2月24日(含)以来途经或旅居河北沧州市青县;
2月20日(含)以来途经或旅居天津西青区;
2月20日(含)以来途经或旅居吉林吉林市,长春市;
2月19日(含)以来途经或旅居河北邢台市清河县;
2月18日(含)以来途经或旅居上海市;
3月14日(含)以来途经或旅居浙江温州市龙湾区,绍兴市柯桥区;
3月14日(含)以来途经或旅居广东惠州市大亚湾区,广州市花都区;
3月13日(含)以来途经或旅居河南商丘市永城市;
3月13日(含)以来途经或旅居湖南长沙市岳麓区;
3月13日(含)以来途经或旅居江苏无锡市江阴市;
3月13日(含)以来途经或旅居福建厦门市同安区、湖里区,龙岩市新罗区;
3月13日(含)以来途经或旅居江西宜春市奉新县;
3月13日(含)以来途经或旅居广东珠海市香洲区;
3月12日(含)以来途经或旅居吉林松原市乾安县;
3月12日(含)以来途经或旅居江苏无锡市新吴区;
3月12日(含)以来途经或旅居福建厦门市思明区;
3月12日(含)以来途经或旅居江西赣州市石城县;
3月11日(含)以来途经或旅居辽宁盘锦市大洼区;
3月11日(含)以来途经或旅居江苏南京市秦淮区,镇江市句容市;
3月11日(含)以来途经或旅居安徽滁州市南谯区;
3月11日(含)以来途经或旅居江西南昌市高新区;
3月11日(含)以来途经或旅居广东韶关市武江区;
3月10日(含)以来途经或旅居湖北咸宁市嘉鱼县;
3月10日(含)以来途经或旅居江苏泰州市泰兴市;
3月10日(含)以来途经或旅居安徽亳州市蒙城县,马鞍山市当涂县、花山区、雨山区,铜陵市铜官区;
3月9日(含)以来途经或旅居浙江湖州市南浔区、德清县;
3月9日(含)以来途经或旅居江西上饶市广信区;
3月8日(含)以来途经或旅居吉林四平市梨树县;
3月8日(含)以来途经或旅居安徽宿州市泗县、埇桥区;
3月8日(含)以来途经或旅居广东广州市海珠区;
3月8日(含)以来途经或旅居海南琼中黎族苗族自治县;
3月8日(含)以来途经或旅居陕西咸阳市杨凌区;
3月8日(含)以来途经或旅居内蒙古通辽市科尔沁左翼后旗;
3月7日(含)以来途经或旅居吉林松原市宁江区;
3月7日(含)以来途经或旅居辽宁阜新市细河区;
3月7日(含)以来途经或旅居江苏扬州市经济技术开发区;
3月7日(含)以来途经或旅居广东中山市沙溪镇、阳江市江城区;
3月7日(含)以来途经或旅居陕西咸阳市秦都区,铜川市新区、耀州区;
3月7日(含)以来途经或旅居贵州遵义市务川仡佬族苗族自治县;
3月6日(含)以来途经或旅居吉林松原市长岭县;
3月6日(含)以来途经或旅居辽宁阜新市海州区,营口市西市区;
3月6日(含)以来途经或旅居江苏常州市经开区;
3月6日(含)以来途经或旅居山东潍坊市寿光市;
3月6日(含)以来途经或旅居安徽铜陵市义安区;
3月6日(含)以来途经或旅居江西南昌市新建区;
3月6日(含)以来途经或旅居青海西宁市城北区;
3月5日(含)以来途经或旅居黑龙江哈尔滨市香坊区;
3月5日(含)以来途经或旅居辽宁大连市甘井子区、普兰店区,沈阳市苏家屯区;
3月5日(含)以来途经或旅居江苏南京市栖霞区;
3月5日(含)以来途经或旅居浙江湖州市吴兴区;
3月5日(含)以来途经或旅居山东滨州市邹平市;
3月5日(含)以来途经或旅居福建三明市永安市,宁德市蕉城区;
3月5日(含)以来途经或旅居广东汕尾市海丰县、陆丰市,广州市黄埔区、天河区;
3月5日(含)以来途经或旅居云南红河哈尼族彝族自治州金平苗族瑶族傣族自治县;
3月5日(含)以来途经或旅居甘肃天水市秦州区;
3月5日(含)以来途经或旅居重庆江津区鼎山街道;
3月4日(含)以来途经或旅居河南濮阳市华龙区;
3月4日(含)以来途经或旅居黑龙江哈尔滨市南岗区;
3月4日(含)以来途经或旅居吉林白城市洮北区;
3月4日(含)以来途经或旅居辽宁沈阳市沈河区、大东区、浑南区,营口市盖州市;
3月4日(含)以来途经或旅居江苏常州市武进区;
3月4日(含)以来途经或旅居浙江宁波市慈溪市;
3月4日(含)以来途经或旅居山东滨州市惠民县,潍坊市潍城区,临沂市蒙阴县;
3月4日(含)以来途经或旅居安徽安庆市迎江区,马鞍山市含山县;
3月4日(含)以来途经或旅居广东深圳市;
3月4日(含)以来途经或旅居广西北海市合浦县,百色市靖西市;
3月4日(含)以来途经或旅居甘肃兰州市永登县;
3月4日(含)以来途经或旅居重庆渝北区龙山街道;
3月3日(含)以来途经或旅居吉林延边朝鲜族自治州安图县,四平市伊通满族自治县;
3月3日(含)以来途经或旅居辽宁大连市金州区;
3月3日(含)以来途经或旅居江苏苏州市,宿迁市宿城区,常州市新北区;
3月3日(含)以来途经或旅居浙江金华市金东区;
3月3日(含)以来途经或旅居广东深圳市龙岗区;
3月3日(含)以来途经或旅居广西钦州市钦北区、钦南区,崇左市宁明县;
3月3日(含)以来途经或旅居重庆巴南区花溪街道,永川区;
3月3日(含)以来途经或旅居四川宜宾市珙县;
3月2日(含)以来途经或旅居黑龙江哈尔滨市道里区、松北区、宾县、五常市;
3月2日(含)以来途经或旅居吉林白山市靖宇县;
3月2日(含)以来途经或旅居浙江衢州市衢江区、柯城区;
3月2日(含)以来途经或旅居山东烟台市蓬莱区,滨州市阳信县、沾化区,潍坊市奎文区;
3月2日(含)以来途经或旅居云南红河哈尼族彝族自治州河口瑶族自治县;
3月2日(含)以来途经或旅居甘肃兰州市红古区、七里河区、城关区、榆中县,酒泉市金塔县,临夏州康乐县;
3月1日(含)以来途经或旅居湖南湘潭市岳塘区;
3月1日(含)以来途经或旅居辽宁沈阳市和平区,营口市鲅鱼圈区;
3月1日(含)以来途经或旅居江苏连云港市灌南县,常州市天宁区、钟楼区;
3月1日(含)以来途经或旅居浙江嘉兴市海宁市、平湖市,杭州市滨江区浦沿街道;
3月1日(含)以来途经或旅居山东烟台市芝罘区,聊城市高唐县;
3月1日(含)以来途经或旅居广东深圳市龙华区;
3月1日(含)以来途经或旅居广西柳州市柳江区、柳南区,崇左市大新县、龙州县;
3月1日(含)以来途经或旅居陕西西安市雁塔区(含高新区)、新城区、碑林区、莲湖区、灞桥区、西咸新区、未央区,宝鸡市渭滨区、金台区、陈仓区、凤翔县、陇县、岐山县,汉中市略阳县;
3月1日(含)以来途经或旅居重庆沙坪坝区;
2月28日(含)以来途经或旅居河南濮阳市清丰县;
2月28日(含)以来途经或旅居辽宁丹东市东港市;
2月28日(含)以来途经或旅居江苏连云港市连云区(含连云港开发区)、东海县;
2月28日(含)以来途经或旅居浙江杭州市萧山区、临平区、钱塘区;
2月28日(含)以来途经或旅居山东德州市平原县,滨州市滨城区;
2月28日(含)以来途经或旅居福建漳州市漳州台商投资区,厦门市海沧区;
2月28日(含)以来途经或旅居广东揭阳市惠来县;
2月28日(含)以来途经或旅居广西崇左市凭祥市;
2月28日(含)以来途经或旅居云南昆明市官渡区;
2月27日(含)以来途经或旅居江苏南京市江宁区;
2月27日(含)以来途经或旅居浙江杭州市余杭区;
2月27日(含)以来途经或旅居山东德州市禹城市,烟台市莱阳市;
2月27日(含)以来途经或旅居内蒙古阿拉善盟阿拉善左旗;
2月26日(含)以来途经或旅居江苏连云港市灌云县,苏州市太仓市;
2月26日(含)以来途经或旅居甘肃兰州安宁区,白银市白银区;
2月25日(含)以来途经或旅居浙江温州市鹿城区;
2月25日(含)以来途经或旅居山东淄博市周村区、桓台县、淄川区、张店区;
2月25日(含)以来途经或旅居广东广州市白云区、越秀区;
2月24日(含)以来途经或旅居黑龙江哈尔滨市道外区;
2月24日(含)以来途经或旅居吉林延边朝鲜族自治州敦化市,通化市梅河口市;
2月24日(含)以来途经或旅居山东威海市文登区、环翠区、荣成市、乳山市;
2月24日(含)以来途经或旅居云南昆明市盘龙区;
2月23日(含)以来途经或旅居浙江杭州市上城区,衢州市开化县;
2月23日(含)以来途经或旅居甘肃兰州市兰州新区,白银市景泰县;
2月22日(含)以来途经或旅居吉林延边朝鲜族自治州汪清县;
2月21日(含)以来途经或旅居山东青岛市;
2月21日(含)以来途经或旅居广西百色市那坡县;
2月21日(含)以来途经或旅居云南德宏傣族景颇族自治州陇川县;
2月18日(含)以来途经或旅居江苏连云港市海州区;
2月18日(含)以来途经或旅居山东青岛市黄岛区;
2月18日(含)以来途经或旅居广东深圳市宝安区;
2月17日(含)以来途经或旅居吉林延边朝鲜族自治州珲春市、延吉市;
2月16日(含)以来途经或旅居黑龙江牡丹江市绥芬河市;
2月12日(含)以来途经或旅居广西防城港市东兴市、防城区;
2月8日(含)以来途经或旅居广东东莞市;
2月8日(含)以来途经或旅居云南临沧市镇康县;
2月4日(含)以来途经或旅居广东深圳市福田区、罗湖区、南山区;
1月30日(含)以来途经或旅居内蒙古呼和浩特市土默特左旗;
1月29日(含)以来途经或旅居云南德宏傣族景颇族自治州瑞丽市;
接到外省(市、县、区)各级疾控中心电话告知的密切接触者等风险人员。
有相关旅居史且已进京人员、接到健康宝弹窗提示人员,均请立即主动向社区、单位、宾馆等报告,配合做好集中隔离、居家隔离、健康监测、核酸检测等各项防控措施。
机场、车站、道路卡口等交通枢纽,各宾馆、酒店、民宿、学校等单位加强排查管控,按照相关规定严格落实测温验码、查验核酸证明等各项防控措施。发现风险人员,要及时向所在社区(村)等相关部门报告,并配合落实管控措施。
需要居家隔离者请配合管理,足不出户。
健康监测期间应减少外出,必须外出时做好个人防护,本人和同住成员尽量不外出、不聚集、不聚餐。
健康监测期间,来(返)京人员和同住人员一旦出现发热、干咳、咳痰、咽痛、乏力、腹泻、味觉异常、嗅觉异常等症状,不要自行购药、服药,不乘坐公共交通工具、不打网约车等,需立即报告社区,采集标本进行检测并采取相应管控措施。
坚持常态化疫情防控措施。科学佩戴口罩,不握手,勤洗手,常通风,尽量不去人群密集、空气不流通的场所。自觉遵守疫情防控措施。进入公共场所时,要坚持全员健康宝扫码登记入内,配合做好戴口罩、验码测温、一米线等防控措施。出现发热、咳嗽等症状按规定就医。
如有交集,请迅速向所在单位和社区报备。
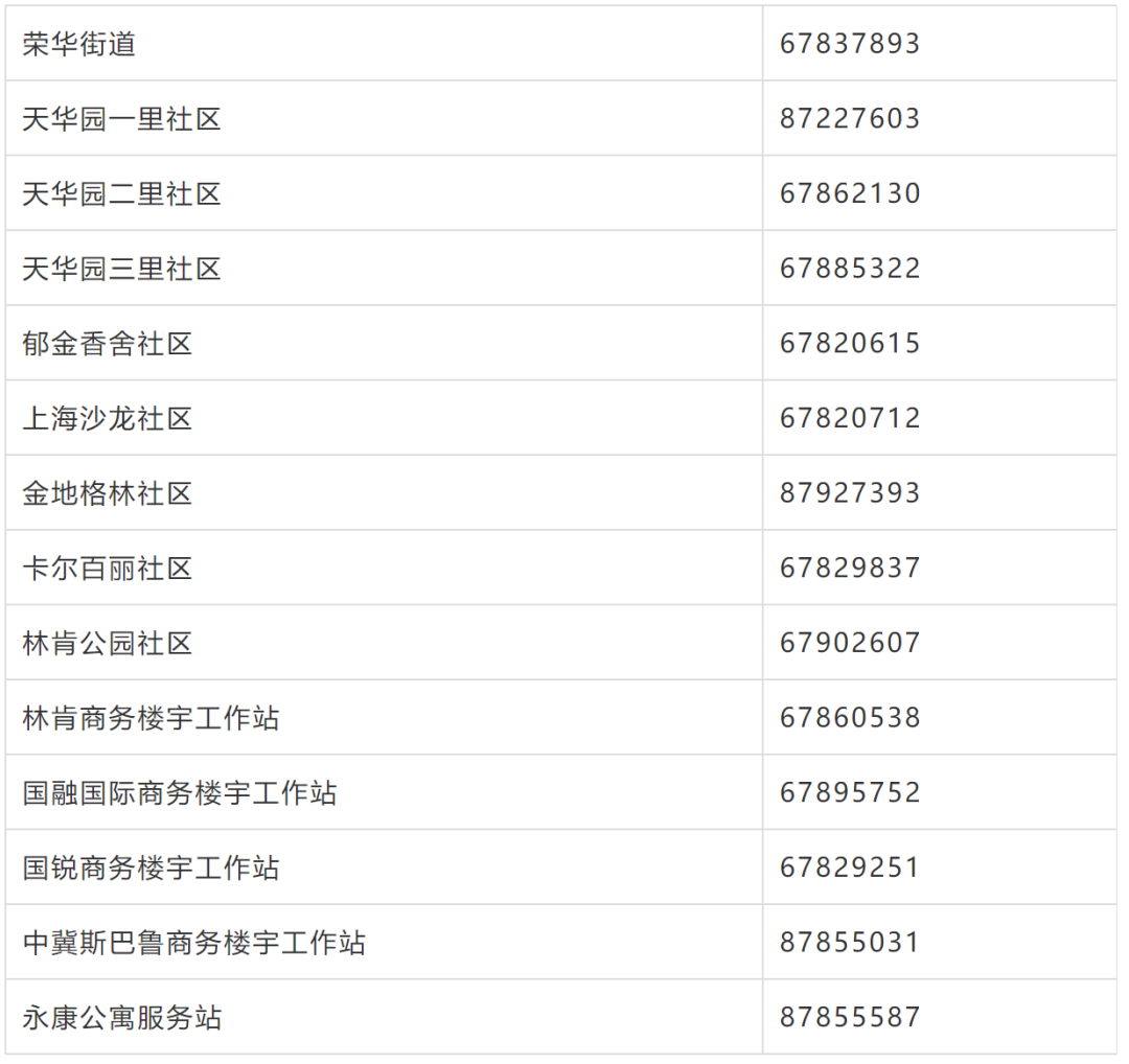
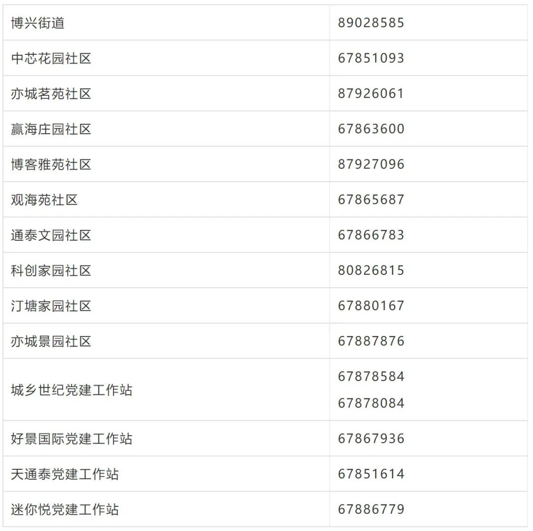
北京经开区各街道及社区联系电话如下
荣华街道及各社区联系电话

博兴街道及各社区联系电话
