本土病例+1,轨迹涉及石景山!北京近期新增感染者已涉七区→
10月7日,外区新增1名新冠病毒检测阳性者,为某搬家公司工作人员,10月6日下午曾为客户搬家至石景山区古城街道北辛安大街社区桃李苑6号楼。
以下人员请立即报告——
10月6日17:40-21:30
进入古城街道北辛安大街社区桃李苑6号楼,主动向石景山区疾控中心报告,联系电话88609310。
10月6日21:31-10月7日18:30
进入古城街道北辛安大街社区桃李苑6号楼,主动向所在社区、工作单位、居住酒店报告。
请相关风险人员致电社区,请勿前往居委会报告,防止因近距离接触造成传播风险。
北京昨日新增3例本土确诊病例,其中一例为为社会面筛查人员。
10月7日0时至24时,北京新增3例本土确诊病例(其中2例已通报),无新增疑似病例和无症状感染者;新增7例境外输入确诊病例(含2例无症状感染者转确诊病例)和7例无症状感染者,无新增疑似病例。治愈出院5例,解除医学观察的无症状感染者2例。
本土确诊病例:
确诊病例1:现住朝阳区东窑艺术区,为社会面筛查人员,10月7日诊断为确诊病例。
确诊病例2:现住延庆区康庄检查站停车场,为隔离观察人员,10月7日诊断为确诊病例。
确诊病例3:现住昌平区林溪小区,为隔离观察人员,10月7日诊断为确诊病例。
境外输入确诊病例:
确诊病例1:俄罗斯籍,10月6日从俄罗斯到达北京首都机场,经闭环管理送至集中隔离酒店,10月7日诊断为确诊病例。
确诊病例2、5:中国籍,10月4日从英国到达北京首都机场,经闭环管理送至集中隔离酒店,10月7日诊断为确诊病例。
确诊病例3:中国籍,9月28日从中国台湾到达北京首都机场,经闭环管理送至集中隔离酒店,10月7日诊断为确诊病例。
确诊病例4:中国籍,10月6日从法国到达北京首都机场,经闭环管理送至集中隔离酒店,10月7日诊断为确诊病例。
确诊病例6:中国籍,10月2日从德国到达北京首都机场,经闭环管理送至集中隔离酒店,10月6日诊断为无症状感染者,10月7日诊断为确诊病例。
确诊病例7:中国台湾籍,10月5日从中国台湾到达北京首都机场,经闭环管理送至集中隔离酒店,10月6日诊断为无症状感染者,10月7日诊断为确诊病例。
上述病例均已转至定点医院,已开展流行病学调查,按要求落实管控措施。
北京卫健委提醒:今天是假期后首个工作日,市民朋友返岗上班须持48小时核酸阴性证明,做好健康监测,出现疑似症状要及时主动报告,暂缓返岗。各单位要切实履行主体责任,公共场所要严格落实扫码测温、查验核酸阴性证明等防控措施。
进返京人员要切实履行个人防疫责任,严格执行进返京防疫政策,主动向社区、单位等相关部门报备,返京后开展3天2检,抵京24小时内完成一次核酸检测,间隔24小时后、72小时内完成第二次核酸检测,7日内不聚餐、不聚会、不前往人员密集场所,做好健康监测,出现发热、干咳等症状,及时主动向社区报告,按规定就医。请与官方公布的病例活动轨迹有交集人员,中高风险地区进返京人员,接到电话、短信、健康宝弹窗、健康宝黄码或红码提示风险人员,立即主动向社区、单位、宾馆等报告,配合做好集中隔离、居家隔离、健康监测、核酸检测等各项防控措施。
北京近期新增感染者已涉七区
10月6日0时至24时,北京新增本土新冠肺炎病毒感染者3例,均为隔离观察人员,朝阳区、大兴区、昌平区各1例,均为轻型。另有2例无症状感染者转确诊病例已通报。10月7日0时至18时,朝阳、延庆、昌平各报告1例本土感染者。
9月29日至10月7日18时,北京近期新增感染者已涉朝阳、延庆、通州、昌平、大兴、丰台六区。
小亦注意到,其中朝阳10月7日报告的一例新增病例,系物流公司货车司机,10月5日自新疆拉货返京,从风险区域返京后未严格落实报备要求,未严格遵守抵京后7天内不前往人群密集场所等防疫规定,轨迹涉多个公共场所。

据北京石景山消息,10月7日,外区新增1名新冠病毒检测阳性者,为某搬家公司工作人员,10月6日下午曾为客户搬家至石景山区古城街道北辛安大街社区桃李苑6号楼。至此,北京近期新增感染者已涉七区。
北京近期新增感染者所涉风险点位一览,新增风险点位涉药店、公厕及多个餐馆↓↓↓

有交集请报备!
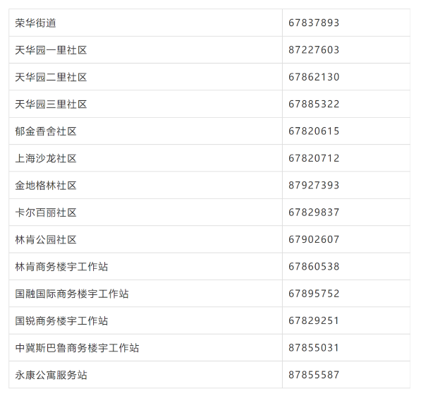
荣华街道及各社区联系电话

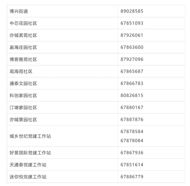
博兴街道及各社区联系电话
