北京本土+94,风险点位涉及商超、医院、多家餐厅!亦城人速速自查做好报备
5月22日,在北京市新型冠状病毒肺炎疫情防控工作第342场新闻发布会上,市疾控中心副主任刘晓峰介绍,5月22日0时至15时,新增本土新冠肺炎病毒感染者67例。自5月21日发布会后(5月21日15时至22日15时),新增本土新冠肺炎病毒感染者94例(感染者1538至1631),丰台区41例,海淀区24例,房山区14例,东城区7例,昌平区3例,西城区、朝阳区各2例,大兴区1例;重型1例,普通型14例,轻型66例,无症状感染者13例;管控人员77例,社会面筛查17例。均已转至定点医院隔离治疗,相关风险点位及人员已管控落位。
请与官方公布的病例活动轨迹及岳各庄市场、新发地市场、东方新天地、优盛大厦、华熙广场、封管控区等风险点位有时空交集人员、接到健康宝弹窗提示人员立即向社区报告,配合落实各项防控措施。
海淀区
5月22日,在北京市疫情防控工作第342场新闻发布会上,北京市海淀区委宣传部部长肖丹通报了海淀区通报新增病例相关风险点位,具体如下:
风险点位
5月14日
10:15—10:34 海淀街道友谊社区4号楼附近超市
5月15日
11:00 海淀区知春路96号
5月16日
10:45 爸爸糖五道口店
5月17日
8:46、19:10 盒马鲜生(双清路店)
15:30—18:00 四季青西四环北路63号
5月18日
6:00 921路公交车(四通桥西站—金安桥西站)
14:32—14:49盒马鲜生(双清路店)
18:10 海淀区北三环西路43号绝味鸭脖店、47号一手店
18:50—18:56 百德康药房
5月19日
6:00 425路公交车(四通桥西站—北沙滩桥西站)
8:54 超市发(学院路店)
13:00—13:18 便利蜂(华清嘉园12号楼店 )
13:37 便利蜂(东升南路龙湖唐宁ONE店)
13:00—17:00 西土城路31号院
15:13 盒马鲜生(双清路店)
16:00 五孔桥甲2号楼(西木社区)
19:29 爸爸糖五道口店
5月20日
6:00 921路公交车(四通桥西站—东冉村站)
5月21日
10:00—11:00 海淀区复兴路40号A座
17:12 复兴路32号院生鲜蔬菜超市
5月17日—19日7:30—13:00、16:30—19:00 海淀区交大嘉园3号楼3单元
5月17日12:37,5月18日9:40,5月19日19:10,5月21日11:00、17:00 复兴路32号院商业E中心水果店
5月18日14:23,5月19日8:37 超市发(蓝润店)
5月19日9:00—15:30,5月20日6:00-22:00,5月21日17:00—19:00分米鸡(华熙店)
东城区
5月22日,在北京市新型冠状病毒肺炎疫情防控工作第342场新闻发布会上,东城区副区长孙扬介绍,5月21日15时至22日15时,东城区新增新冠肺炎病毒感染者7名,其中,5名是在管控人员中发现,2名是在社会面筛查中发现,目前均已转入定点医疗机构。
风险点位
5月16日
7:30—11:10,新世界二期地下二层制冷机房
12:30—13:00,东直门中医院门诊楼
17:35—17:40,苏州胡同93号楼
5月17日
13:39,湖南人家私房菜(培新街店)
5月18日
13:59,北京稻香村(花市店)
20:27,35秒烤肉拌饭(广渠门内大街店)
5月19日
12:00—13:50,The WOODS(王府井澳门中心店)、工美大厦地下美食城、欧KoreaAsian融合菜(王府井店)、恺芮家私菜(王府井店)
13:57,湖南人家私房菜(培新街店)
5月21日
15:06,葱店西街平价超市
丰台区
5月22日,在北京市新型冠状病毒肺炎疫情防控工作第342场新闻发布会上,丰台区副区长孔钢城介绍,5月21日15时至5月22日15时,丰台区新增确诊病例38例,无症状感染者3例,均为管控人员,已转至定点医院。
风险点位
5月16日
6:55左右,北国宴西域美食
11:15左右,呷哺呷哺(王府井书店店)
5月17日
6:55左右,山东大煎饼(南顶早市店)
11:20左右,西部马华牛肉面(东单店)
18:05-18:30,鲜汇超市(石榴园店)
5月18日
7:05左右,塔里木食府(石榴园店)
11:30左右,庆丰包子铺(东单店)
11:35左右,中国体育彩票(东单北大街店)
18:05左右,果多美(石榴庄店)
18:10-18:20,特卖多超级折扣仓
5月19日
7:50左右,安徽早餐店(石榴庄店)
11:15左右,东单食府
18:25左右,鲜汇超市(石榴园店)
18:30左右,北平食府(光彩路店)
5月20日
7:35左右,北国宴西域美食
小亦提醒
如有交集请报备
24小时值班电话
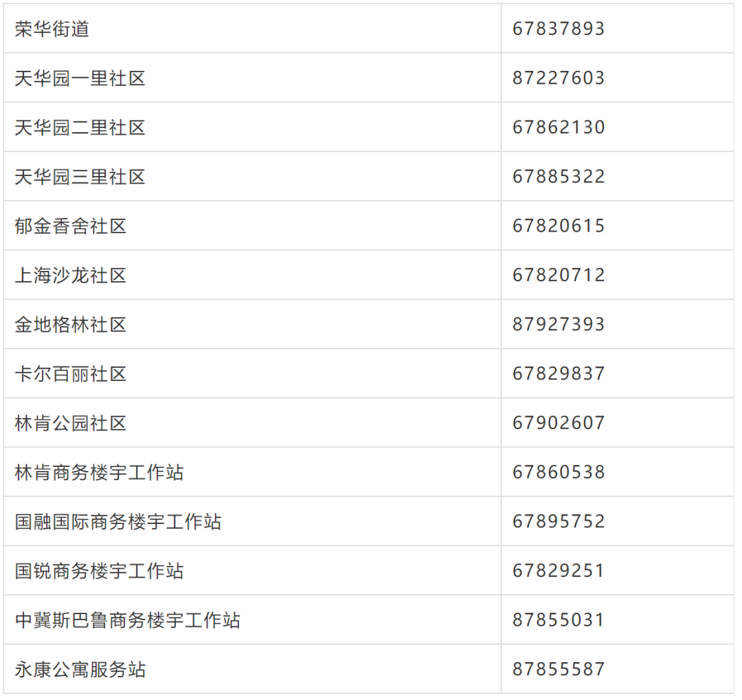
荣华街道值班电话:010-67828528
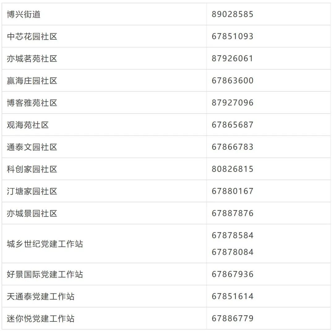
博兴街道值班电话:010-89028585
亦庄镇值班电话:010-67881505
瀛海镇值班电话:010-69277007
经开区疾控值班电话:010-67803017
北京经开区各街道及社区联系电话如下
荣华街道及各社区联系电话

博兴街道及各社区联系电话

相关感染者详情
感染者1538至1542:通过社会面核酸筛查发现,同一家庭成员,现住海淀区中关村街道熙典华庭小区。5月21日报告核酸检测结果为阳性,感染者1538当日诊断为无症状感染者,其余感染者诊断为确诊病例,临床分型均为轻型。
感染者1545:通过社会面核酸筛查发现,现住海淀区知春路。5月21日报告核酸检测结果为阳性,当日诊断为确诊病例,临床分型为轻型。
感染者1546:通过社会面核酸筛查发现,现住昌平区沙河镇辛力屯乐乎有朋公寓,海淀区优盛大厦(五道口购物中心)工作人员。自述5月18日至20日先后出现头疼、乏力、咽痛、轻咳等症状, 5月21日报告核酸检测结果为阳性,当日诊断为确诊病例,临床分型为轻型。
感染者1553:通过社会面核酸筛查发现,现住海淀区羊坊店街道西三环中路。5月21日报告核酸检测结果为阳性,当日诊断为确诊病例,临床分型为轻型。
感染者1600:通过社会面核酸筛查发现,现住东城区东华门街道南河沿大街,工作地点为东城区东华门街道东方新天地、南河沿大街23号院及朝内南小街439号。5月22日报告核酸检测结果为阳性,当日诊断为确诊病例,临床分型为轻型。
感染者1603:通过社会面核酸筛查发现,现住朝阳区潼城公寓,快递配送员,配送区域主要为东方广场、王府井百货和王府中環。5月22日报告核酸检测结果为阳性,当日诊断为确诊病例,临床分型为轻型。
感染者1608:通过社会面核酸筛查发现,现住大兴区旧宫镇清逸园,工作地点为东方广场。5月22日报告核酸检测结果为阳性,当日诊断为无症状感染者。
感染者1609至1612:为同住人员,通过社会面核酸筛查发现,现住海淀区万寿路街道复兴路,均为五棵松华熙LIVE下沉广场工作人员。5月22日报告核酸检测结果为阳性,当日诊断为无症状感染者。
感染者1613:通过社会面核酸筛查发现,现住海淀区万寿路街道复兴路。5月22日报告核酸检测结果为阳性,当日诊断为确诊病例,临床分型为轻型。
感染者1628:通过社会面核酸筛查发现,现住东城区体育馆路街道速8酒店(天坛公园东门店),外卖配送员。5月22日报告核酸检测结果为阳性,当日诊断为无症状感染者。
请市民理解支持一线防疫人员
配合做好防控措施
刘晓峰介绍,天气炎热,广大医务人员、流调人员、检测人员、社区工作者、公安干警、志愿者等坚守一线,连续作战,任务繁重,工作辛苦,请市民朋友理解、支持一线防疫人员,配合做好核酸检测、健康监测、隔离管控、居家办公等防控措施,齐心协力、共克时艰,以实际行动助力社会面实现动态清零。
转载自北京日报客户端