社会面隐匿传播风险依然存在!北京多区公布新增风险点位
11月8日,在北京市新型冠状病毒肺炎疫情防控工作第407场新闻发布会上,市疾控中心副主任刘晓峰提示:
当前本市社会面筛查持续发现病例,表明社会面隐匿传播风险依然存在。要从快从严从细从实抓好各项防控措施的落实,尤其要加强保安、快递、物流、餐饮、保洁、物业等重点单位、重点行业风险人员排查落位,建立人员台账,掌握员工动态,做好戴口罩、勤洗手等个人防护健康宣教,按规定频次进行常态化核酸检测,做到应检尽检、不漏一人;要加强城乡结合部、农村地区流动人口疫情防控工作,严格落实扫码测温、查验核酸阴性证明各项防控措施;要做好集中隔离、居家隔离和居家健康监测规范管理和服务保障,居家隔离、居家健康监测人员及其同住人员严格居家、非必要不外出,配合做好核酸检测、健康监测,一旦出现发热、干咳、乏力、嗅觉味觉减退等症状,立即报告社区并配合相应管控措施。
要做好转运中的防护工作,被转运人员在转运时应全程规范佩戴N95或KN95医用防护口罩和手套,与他人保持安全社交距离,有序上下车,间隔就坐,减少疫情传播风险;转运工作人员、医务人员、流调人员、采样人员、公安干警等一线疫情防控人员注意劳逸结合,做好个人防护,在高风险岗位工作过程中加强闭环管理,务必规范穿脱防护服、手套、N95口罩等防护用品,注意手部卫生,做好核酸检测及发热、咳嗽等相关症状监测,确保自身健康安全。
请广大市民朋友增强防护意识,坚持不去中高风险地区和7日内出现本土疫情的县(市、区、旗)旅行或出差,坚持戴口罩、勤洗手、常通风,保持安全社交距离,减少聚餐聚会,进入公共场所配合扫码测温、查验72小时内核酸阴性证明等常态化防控措施,如出现发热、干咳等症状,不带病上班上学、不参加社会活动、不乘坐公共交通工具、不打网约车等,戴好口罩,及早到附近医院发热门诊按规定就医,向医生告知活动史、接触史及身体异常情况,配合开展核酸检测、流行病学调查。
11月8日,在北京市新型冠状病毒肺炎疫情防控工作第407场新闻发布会上,朝阳区、海淀区、通州区、昌平区通报了新增感染者详情及所涉风险点位。
此外,顺义区、密云区等区通过官方微信通报了该区新增感染者的情况及风险点位。
请与风险点位有时空交集或接到健康宝弹窗提示的人员,立即主动向所在社区(村)、工作单位、居住酒店报告,配合落实各项防控措施。
朝阳区
朝阳区副区长孟锐介绍,11月8日0时至15时,朝阳区新增新冠肺炎病毒感染者21名,其中1人为社会面筛查发现,其余均为隔离观察人员,已转入定点医院治疗。
涉及主要风险点位:
11月2日
7:10-7:15 安华西里一区7号楼丰巢快递柜
7:30-7:50 永和大王(樱花东街店)
7:40-7:45 安华西里三区甲3号楼川坝子酒楼
7:40-16:30 朝花幼儿园东坝福润四季园
8:00-8:45 京旺家园牛奶店(京旺家园店)
8:00-9:00 中日医院肾内科14诊室
8:00-10:30 南湖东园北社区卫生服务站针灸室
8:00-17:00 安贞西里三区15号凯康海油大厦13层
8:10-18:00 建国路93号万达广场B座9层
9:20-9:25 建国路93号万达广场8号楼瑞幸咖啡
9:30-9:40 安华西里二区15号楼下菜店
10:55-11:00 和敬路4号院21号楼1层超市(新阜商贸有限公司)
11:40-12:00 安贞西里三区15号凯康海油大厦2层食堂
11:50-12:20 建国路93号万达广场4号楼员工二食堂
15:00-16:00 南湖东园一区小区物业办公室
18:05-18:10 萌它宠物(CBD万达店)
11月3日
4:30-17:20 外馆斜街甲1号极兔速递安外大街网点
5:30-12:00 421路公交车
7:50-8:00 安贞西里三区15号凯康海油大厦2层食堂
8:00-10:30 南湖东园北社区卫生服务站针灸室
8:00-次日0:30 安贞西里三区15号凯康海油大厦13层
8:00-次日10:20 桔子酒店(燕莎新源里店)
8:25-18:30 建国路93号万达广场B座9层
9:00-11:30 外馆斜街京惠生鲜超市
9:00-17:00 金和东路20号院正大中心2号楼19-25层北京市盈科律师事务所
10:55-11:00 安华西里一区21号楼华西北便民水果超市
11:40-12:00 安贞西里三区15号凯康海油大厦2层食堂
11:50-12:20 万达广场4号楼员工二食堂
13:00-13:30 外馆斜街1号一层临7号世间美食手擀面馆
15:30-15:40 安华路17号院北京住总第二开发建设有限公司
16:45-16:50 安华西里二区15号楼下菜店
19:00-19:20 安华西里三区南门顺丰快递点
19:05-19:10 铁憨憨麻辣烫(十里堡店)
19:10-19:20 多乐之日烘焙店(十里堡店)
20:00-20:20 七鲜生活超市(管庄店)
21:50-22:55 三间房南里2号
11月4日
0:00-7:15 安华里二区享缘精品智能酒店(安贞桥店)
0:50-0:55 安华西里小区丰巢快递柜
4:30-15:20 外馆斜街甲1号极兔速递安外大街网点
5:55-6:20 586路公交车(三岔河南-地铁常营)
6:20-6:50 地铁6号线(常营-金台路)、地铁14号线(金台路-北工大西门)
6:51-7:00 三间房南里2号
7:00-17:05 北京汇文中学朝阳垂杨柳分校
7:25-7:50 小辣妹烤鱼店朝阳北路店
7:30-22:00 外馆斜街1号中通快递网点
7:50-8:00 安贞西里三区15号凯康海油大厦2层食堂
8:00-19:00 安贞西里三区15号凯康海油大厦13层
8:20-8:50 京客隆(东坝红松园店)
8:20-18:00 建国路93号万达广场B座9层
9:00-17:00 金和东路20号院正大中心2号楼19-25层北京市盈科律师事务所
9:20-9:25 福润四季A区南口底商二商大红门冷鲜肉直营店(福润四季店)
10:00-11:00 金盏第二社区卫生服务中心全科诊室
11:30-12:30 81路公交场站(北土城公交场)
11:40-12:00 安贞西里三区15号凯康海油大厦2层食堂
11:50-11:55 外馆斜街1号一层临11京东便利店
11:50-12:30 建国路93号院万达广场香哈手工面(CBD万达店)
12:00-12:40 安华西里一区21号楼华西北便民水果超市
12:30-13:00 豆各庄乡再生资源中转站
12:30-19:00 慧忠里公交场站
12:45-12:50 安华西里二区15号楼下菜店
16:05-17:00 望和公园
16:05-17:50 北京市第一中西医结合医院
16:30-21:20 外馆斜街甲1号极兔速递安外大街网点
17:10-17:50 地铁14号线(北工大西门-金台路)、地铁6号线(金台路-常营)
17:50-19:05 龙湖长楹天街购物中心
18:20-18:25 烤面筋公社窗口 (双桥店)
18:30-18:35 京棉新城1号自助快递柜
18:30-19:05 永辉超市(长楹天街购物中心店)
18:35-18:55 惠万家果蔬社区便民店(双桥店)
19:15-19:45 586号公交车(地铁常营-三岔河南)
19:20-次日0:30 清林东路4号院林奥嘉园2号楼底商清林居
19:25-19:30 便利蜂(领地大厦店)
20:10-20:20 绿岛苑小区4号楼北侧底商妈妈驿站
11月5日
4:30-16:30 外馆斜街甲1号极免速递安外大街网点
4:30-17:00 飘亮阳光广场D3-6楼
7:30-22:00 外馆斜街1号中通快递网点
8:20-8:25 京客隆超市(安华店)
11:00-11:35 大山子北里甲1号京客隆超市(大山子店)
12:10-13:55 豆各庄乡再生资源中转站
17:45-18:15 安贞西里三区15号凯康海油大厦13层
18:55-19:05 福怡苑便民生鲜超市
19:00-20:55 湘爱梧桐(凤凰汇店)
11月6日
8:00-8:20 外馆东街51号凯景铭座大厦A号楼二层卫生间
9:40-9:45 中石化宝捷森加油站
11:00-11:05 康惠园1号院惠隆便利店
14:00-14:40 酒仙桥银河湾社区居委会
16:25-16:30 康佰馨大药房(十里堡店)
16:30-17:15 十里堡乙2号院5号楼新城市广场好特卖、名创优品、瑞幸咖啡、盒马鲜生超市
17:15-17:20 久久丫鸭脖(十里堡云柏店)
孟锐介绍, 经疾控专家研判,朝阳区划定中高风险区——
划定定福庄西里1号院15号楼为高风险区,实行“区域封闭,足不出户,上门服务”措施。
划定安苑东里一区5号楼、6号楼、7号楼及平房区域,小店村网格8区230号、232号、网格6区143号、144号、145号,定福庄西里1号院及底商(除15号楼外)为中风险区,实行网格化管理、“人不出网格、错峰取物”措施。
下一步,将根据疫情发展及核酸检测的结果动态调整管控措施。
海淀区
海淀区委常委、宣传部部长、新闻发言人肖丹介绍,11月7日15时至11月8日15时,海淀区新增本土新冠肺炎病毒感染者1例,为隔离观察人员,已转入定点医院治疗。
该感染者现居住地为海淀区清河街道清河三街93号平房,为海淀区11月5日确诊病例的密切接触者。11月5日进行集中隔离,11月6日核酸检测结果为阳性。
涉及主要风险点位:
11月4日
8:36 豪杰便利(上地七街店)
8:50-18:00 金远见大楼三层
19:00-19:05 清河惠民生活超市
19:20-19:25 田老师红烧肉(清河中街店)
目前,海淀区针对新增病例初步判定密切接触者和高风险人员148人,涉海淀区风险点位及人员均已落实管控措施,涉外区风险信息已同步横传到位。
通州区
通州区委常委、宣传部部长、新闻发言人汤一原介绍,11月8日0时至15时,通州区新增确诊病例1例,临床分型为轻型,无症状感染者4例,均为隔离观察人员,已转入定点医院治疗。
新增感染者的基本情况:
病例1,现住台湖镇东下营村。7日判定为密切接触者隔离观察,8日诊断为确诊病例,临床分型为轻型。
无症状感染者1,现住台湖镇玉甫上营村。6日判定为密切接触者隔离观察,8日诊断为无症状感染者。
无症状感染者2、3,现住台湖镇碱厂村。5日判定为密切接触者隔离观察,8日诊断为无症状感染者。
无症状感染者4,现住台湖镇西下营村。5日判定为密切接触者隔离观察,8日诊断为无症状感染者。
经初步流调,主要涉及以下风险点位:
11月2日-11月4日
5:30-6:00左右 通7路公交车(玉甫上营公交站至万盛东地铁站)
6:00-7:30左右 地铁7号线(万盛东地铁站进站,在磁器口地铁站换乘5号线到惠新西街北口站出站)
17:20-18:50左右 地铁7号线(磁器口地铁站至万盛东地铁站)
18:50-19:00左右 通7路公交车(万盛东地铁站至西下营公交站)
19:10左右 台湖镇西下营村西口张乐馒头店
11月3日
14:10左右 张湾祥和公寓核酸采样点
14:30左右 华远好天地蜜雪冰城店
14:58左右 华远好天地店杂粮店
21:39 台湖镇玉甫上营村安徽板面王店
21:55 台湖镇玉甫上营村华联超市
11月4日
15:50左右 张家湾镇老街三岔路口牛羊肉店
16:38左右 台湖镇玉甫上营村馒头店
11月5日
5:30-6:00 通7路公交车(玉甫上营公交站至万盛东地铁站)
6:00-7:30 地铁(7号线万盛东地铁站进站,在磁器口地铁站换乘5号线到惠新西街北口站出站)
10:02左右 台湖镇东下营公园核酸采样点
10:19左右 碱厂村村口菜店
10:48左右 西下营村世纪华联超市
10:30左右 东下营公园核酸采样点
10:45左右 东下营村唐大庄路口世纪华联超市
11月6日
9:40至11:00左右 台湖镇湖光家园小区门口老北京福字号医药、浪潮理发店、东下营村委会核酸采样点
17:30-18:15左右 张家湾镇太玉园北路口集市
通州区划定风险区域——
宋庄镇师姑庄村、白庙村,台湖镇玉甫上营村、西下营村、次一村481号及毗邻院落、碱厂村、东下营村,潞邑街道通瑞嘉苑小区14号楼,参照高风险区管理,期间“足不出户、上门服务”。
宋庄镇大邓村、小邓村、北刘村、摇不动村、白庙村(右堤路以西区域),张家湾镇宽街村,潞邑街道通瑞嘉苑小区除14号楼外区域,参照中风险区管理,期间“人不出区,错峰取物”。
昌平区
昌平区副区长郭清尧介绍,11月8日0时至15时,昌平区新增4例确诊病例和4例无症状感染者,目前均已转至定点医院隔离治疗。
新增病例涉及风险点位情况:
11月4日
8:40-12:00左右 三旗百汇商品城管理服务中心二层
12:15左右 龙华园东区一号楼底商电动车维修店
13:00-17:00左右 三旗百汇商品城管理服务中心二层
16:09-16:12左右 中国石油加油站(中海潮站)
17:03左右 鸭天下熟食店(朱辛庄南区西北角底商)
17:15左右 大药房龙堂连锁15店(朱辛庄新区南区9号楼外底商)
11月5日
8:00左右 百品尚生鲜超市领秀慧谷店
17:00左右 每日鲜超市(朱辛庄小区北门外)
顺义区
11月7日15时至8日15时,顺义区新增4名核酸检测阳性人员,均为隔离管控人员,已转运到定点医院治疗。
阳性人员1:现住地在顺义区南法信镇东杜兰村前街1号,为7日顺义区通报确诊病例的密切接触者,已于3日晚居家隔离观察,6日晚转运至集中隔离酒店。5日、6日核酸检测结果均为阴性,7日19时核酸检测结果为阳性。无新增风险点位。
阳性人员2:现住地在顺义区南法信镇三家店村后街15号,为6日顺义区通报确诊病例的密切接触者,已于6日上午集中隔离观察。5日、6日核酸检测结果均为阴性,7日21时核酸检测结果为阳性。
11月5日
8:00-8:30 顺义区南法信镇顺民汽配城B区5号;
8:30-8:45 顺义区南法信镇顺民汽配城食堂;
9:00-14:00 顺义区南法信镇顺民汽配城顺平路558号(期间:10:00左右 顺民汽配城公共厕所);
14:00-17:00 顺义区南法信镇顺民汽配城B区5号(期间:15:00左右 顺民汽配城公共厕所);
17:00-17:30 顺义区南法信镇顺民汽配城顺平路558号;
18:00-18:30 顺义区南法信镇三家店村核酸采样点;
18:30-24:00 顺义区南法信镇三家店村后街15号。
11月6日
0:00-11:00 顺义区南法信镇三家店村后街15号。
阳性人员3:现住地在顺义区双丰街道花溪渡社区1号楼,为外区确诊病例的密切接触者,已于6日下午居家隔离观察,7日下午转运至集中隔离酒店。5日、6日核酸检测结果均为阴性,8日2时核酸检测结果为阳性。
11月5日
0:00-6:10 顺义区双丰街道花溪渡社区1号楼;
7:00-17:00 北京地坛医院;
18:00-24:00 顺义区双丰街道花溪渡社区1号楼。
11月6日
0:00-6:10 顺义区双丰街道花溪渡社区1号楼;
7:00-12:45 北京地坛医院;
12:45-13:27 980路公交车东郊农场站-白各庄站;
13:35-13:43 顺32路公交车白各庄站-顺丰大街站;
13:43-24:00 顺义区双丰街道花溪渡社区1号楼。
11月7日
0:00-16:30 顺义区双丰街道花溪渡社区1号楼。
阳性人员4:现住地在顺义区南法信镇东杜兰村前街25号,为7日顺义区通报确诊病例的密切接触者,已于3日晚居家隔离观察,7日早转运至集中隔离酒店。5日、6日、7日核酸检测结果均为阴性,8日15时核酸检测结果为阳性。无新增风险点位。
密云区
11月7日15时至11月8日15时,密云区新增3例新冠肺炎病毒感染者,其中1例为社会面筛查人员。
感染者1,现住密云区果园街道果园新里北区,作为密接人员集中隔离,11月7日诊断为确诊病例。
感染者2,现住密云区果园街道涧桥山小区,作为密接人员集中隔离,11月8日诊断为确诊病例。
感染者3,现住密云区果园街道果园西里甲区,为社会面筛查人员,11月8日诊断为无症状感染者。
新增风险点位:
11月3日
11:00左右 果园街道果园西里甲区南门核酸采样点
14:00-15:00 果园街道果园新里北区19号楼楼下
11月4日
9:00左右-9:30左右 980快公交车(鼓楼站-万象汇橡树湾小区站)
9:30-18:00 鼓楼街道橡树湾小区2号楼
11:00左右 果园街道果园西里甲区南门核酸采样点
18:00左右-18:30左右 980快公交车(万象汇橡树湾小区站-鼓楼站)
19:30左右 果园街道果园西里甲区5号楼旁蜂巢快递柜
11月5日
9:00左右 果园街道果园新里北区南门核酸采样点
10:00左右 家联旺超市(西滨河店)
11:00左右 果园街道果园新里北区19号楼楼下、果园西里甲区南门核酸采样点
11月6日
11:00左右 果园街道果园西里甲区南门核酸采样点
有交集请报告!
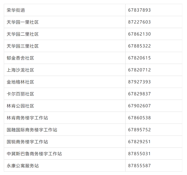
荣华街道及各社区联系电话

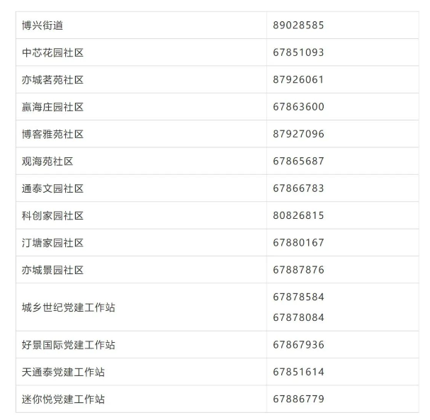
博兴街道及各社区联系电话

来源:北京日报