防疫快讯|更新!@亦城居民,有以下情况请立即报备!
当前,全球疫情呈高发态势,国内多地报告本土确诊病例,全市疫情防控面临境外境内双重风险,疫情防控一刻也不能放松,要继续坚持“外防输入、内防反弹”的防控策略,依据“四早”原则,严格落实四方责任,从严从紧,科学精准,有效控制和降低疫情传播风险。
北京市疾控中心提醒广大市民朋友,有以下情况人员,请立即报备:
与发布病例轨迹有交集人员;
4月2日(含)以来途经或旅居广东广州市花都区、佛山市禅城区;
3月30日(含)以来途经或旅居广东广州市海珠区,深圳市罗湖区;
3月29日(含)以来途经或旅居广东广州市番禺区,深圳市盐田区;
3月28日(含)以来途经或旅居广东广州市白云区、从化区、天河区、越秀区,深圳市南山区;
3月28日(含)以来途经或旅居福建宁德市蕉城区,莆田市涵江区;
3月27日(含)以来途经或旅居湖北鄂州市鄂城区;
3月27日(含)以来途经或旅居河北邯郸市丛台区、邢台市沙河市;
3月26日(含)以来途经或旅居江西南昌市青云谱区;
3月23日(含)以来途经或旅居河北邯郸市鸡泽县、邯山区、永年区、曲周县;
3月23日(含)以来途经或旅居江西南昌市南昌县;
3月21日(含)以来途经或旅居河北保定市安国市、博野县;
3月7日(含)以来途经或旅居江西南昌市红谷滩区;
3月6日(含)以来途经或旅居江西南昌市新建区、南昌经济技术开发区、西湖区、青山湖区;
2月20日(含)以来途经或旅居吉林长春市、吉林市;
2月18日(含)以来途经或旅居上海市;
4月9日(含)以来途经或旅居广东中山市三乡镇;
4月9日(含)以来途经或旅居陕西渭南市蒲城县;
4月8日(含)以来途经或旅居河北承德市隆化县;
4月8日(含)以来途经或旅居浙江金华市义乌市;
4月8日(含)以来途经或旅居云南昆明市五华区;
4月6日(含)以来途经或旅居陕西西安市临潼区、商洛市商州区;
4月6日(含)以来途经或旅居安徽宣城市广德市;
4月4日(含)以来途经或旅居湖北随州市随县;
4月3日(含)以来途经或旅居湖北荆州市松滋市;
4月3日(含)以来途经或旅居安徽芜湖市南陵县;
4月3日(含)以来途经或旅居山东青岛市即墨区;
4月2日(含)以来途经或旅居安徽阜阳市颍东区;
4月1日(含)以来途经或旅居河北石家庄市元氏县;
4月1日(含)以来途经或旅居山西大同市浑源县,太原市晋源区、万柏林区;
4月1日(含)以来途经或旅居浙江宁波市北仑区,绍兴市越城区;
4月1日(含)以来途经或旅居广东揭阳市揭东区;
4月1日(含)以来途经或旅居贵州安顺市普定县;
4月1日(含)以来途经或旅居四川南充市南部县,凉山彝族自治州盐源县;
4月1日(含)以来途经或旅居青海西宁市城东区;
3月31日(含)以来途经或旅居河北沧州市运河区;
3月31日(含)以来途经或旅居河南永城市;
3月31日(含)以来途经或旅居安徽合肥市瑶海区;
3月31日(含)以来途经或旅居江苏南京市栖霞区;
3月31日(含)以来途经或旅居江西吉安市吉州区;
3月31日(含)以来途经或旅居浙江杭州市上城区,温州市龙港市;
3月31日(含)以来途经或旅居海南儋州市儋州县;
3月31日(含)以来途经或旅居四川成都市青羊区、郫都区、双流区、高新区、蒲江县;
3月31日(含)以来途经或旅居宁夏吴忠市同心县;
3月30日(含)以来途经或旅居湖北武汉市新洲区、黄陂区、硚口区,黄冈市麻城市;
3月30日(含)以来途经或旅居山西临汾市洪洞县,太原市迎泽区;
3月30日(含)以来途经或旅居天津南开区体育中心街道;
3月30日(含)以来途经或旅居辽宁鞍山市海城市;
3月30日(含)以来途经或旅居吉林辽源市龙山区;
3月30日(含)以来途经或旅居安徽阜阳市阜南县,滁州市天长市;
3月30日(含)以来途经或旅居江苏苏州市姑苏区;
3月30日(含)以来途经或旅居陕西西安市高陵区;
3月30日(含)以来途经或旅居山东聊城市东昌府区,枣庄市峄城区;
3月30日(含)以来途经或旅居浙江温州市乐清市、苍南县,嘉兴市秀洲区,宁波市奉化区;
3月30日(含)以来途经或旅居云南昭通市镇雄县;
3月30日(含)以来途经或旅居重庆江北区观云桥街道;
3月30日(含)以来途经或旅居青海海东市循化撒拉族自治县;
3月29日(含)以来途经或旅居湖北武汉市江岸区、东西湖区,黄冈市团风县;
3月29日(含)以来途经或旅居山西太原市小店区;
3月29日(含)以来途经或旅居辽宁锦州市古塔区;
3月29日(含)以来途经或旅居江苏南京市江宁区,镇江市句容市;
3月29日(含)以来途经或旅居福建厦门市思明区;
3月29日(含)以来途经或旅居浙江绍兴市柯桥区;
3月29日(含)以来途经或旅居海南陵水县陵水黎族自治县;
3月29日(含)以来途经或旅居陕西西安市灞桥区;
3月29日(含)以来途经或旅居四川遂宁市船山区,成都市锦江区、武侯区;
3月29日(含)以来途经或旅居新疆乌鲁木齐市经济技术开发区(头屯河区);
3月29日(含)以来途经或旅居云南普洱市孟连傣族拉祜族佤族自治县,文山壮族苗族自治州马关县;
3月28日(含)以来途经或旅居辽宁锦州市凌河区;
3月28日(含)以来途经或旅居河南商丘市宁陵县;
3月28日(含)以来途经或旅居湖北武汉市江汉区、汉阳区;
3月28日(含)以来途经或旅居山东青岛市胶州市;
3月28日(含)以来途经或旅居安徽安庆市宿松县,合肥市肥西县;
3月28日(含)以来途经或旅居浙江杭州市西湖区
3月28日(含)以来途经或旅居广西玉林市容县;
3月28日(含)以来途经或旅居贵州黔西南布依族苗族自治州兴义市;
3月27日(含)以来途经或旅居江苏徐州市云龙区、邳州市、徐州淮海国际港务区;
3月27日(含)以来途经或旅居浙江宁波市余姚市,温州市平阳县,嘉兴市平湖市,杭州市钱塘区;
3月27日(含)以来途经或旅居山东枣庄市滕州市;
3月27日(含)以来途经或旅居山西运城市临猗县;
3月27日(含)以来途经或旅居河南郑州市二七区;
3月27日(含)以来途经或旅居安徽宿州市埇桥区;
3月27日(含)以来途经或旅居四川乐山市犍为县;
3月26日(含)以来途经或旅居河北定州市;
3月26日(含)以来途经或旅居安徽合肥市蜀山区;
3月26日(含)以来途经或旅居福建厦门市集美区;
3月26日(含)以来途经或旅居山东青岛市平度市;
3月26日(含)以来途经或旅居海南三亚市天涯区、崖州区,海口市秀英区;
3月26日(含)以来途经或旅居广西崇左市大新县;
3月26日(含)以来途经或旅居云南红河哈尼族彝族自治州金平苗族瑶族傣族自治县;
3月25日(含)以来途经或旅居江苏徐州市贾汪区,南通市崇川区;
3月25日(含)以来途经或旅居山东潍坊市坊子区,威海市文登区;
3月25日(含)以来途经或旅居安徽阜阳市颍上县,黄山市祁门县,六安市金安区;
3月25日(含)以来途经或旅居广东湛江市雷州市;
3月25日(含)以来途经或旅居湖南娄底市娄星区;
3月25日(含)以来途经或旅居浙江宁波市鄞州区,绍兴市上虞区;
3月25日(含)以来途经或旅居海南三亚市吉阳区;
3月25日(含)以来途经或旅居陕西西安市西咸新区;
3月25日(含)以来途经或旅居四川成都市金牛区、崇州市;
3月25日(含)以来途经或旅居云南德宏傣族景颇族自治州盈江县;
3月24日(含)以来途经或旅居山西晋中市榆次区;
3月24日(含)以来途经或旅居安徽六安市裕安区;
3月24日(含)以来途经或旅居吉林白城市洮北区;
3月24日(含)以来途经或旅居江苏苏州市虎丘区、吴中区;
3月24日(含)以来途经或旅居海南海口市龙华区;
3月24日(含)以来途经或旅居广东茂名市电白区;
3月24日(含)以来途经或旅居山东济南市历城区、历下区、开发区,威海市环翠区,潍坊市安丘市;
3月24日(含)以来途经或旅居浙江杭州市萧山区,宁波市象山县;
3月23日(含)以来途经或旅居天津南开区万兴街道;
3月23日(含)以来途经或旅居黑龙江大庆市红岗区;
3月23日(含)以来途经或旅居吉林白山市抚松县;
3月23日(含)以来途经或旅居浙江嘉兴市海宁市;
3月23日(含)以来途经或旅居山东临沂市临沭县、河东区、平邑县,德州市德城区,济南市商河县;
3月23日(含)以来途经或旅居安徽淮南市八公山区,芜湖市繁昌区;
3月23日(含)以来途经或旅居云南德宏傣族景颇族自治州陇川县;
3月22日(含)以来途经或旅居安徽滁州市琅琊区、南谯区;
3月22日(含)以来途经或旅居江苏宿迁市宿豫区;
3月22日(含)以来途经或旅居江西抚州市南城县;
3月22日(含)以来途经或旅居山东菏泽市鄄城县;
3月22日(含)以来途经或旅居浙江嘉兴市桐乡市;
3月22日(含)以来途经或旅居海南海口市琼山区;
3月21日(含)以来途经或旅居山东泰安市泰山区;
3月21日(含)以来途经或旅居黑龙江哈尔滨市平房区;
3月21日(含)以来途经或旅居安徽阜阳市太和县,淮南市谢家集区;
3月21日(含)以来途经或旅居广东东莞市石碣镇,佛山市南海区;
3月21日(含)以来途经或旅居海南海口市美兰区,琼海市;
3月21日(含)以来途经或旅居江西上饶市婺源县;
3月20日(含)以来途经或旅居湖北随州市曾都区;
3月20日(含)以来途经或旅居江苏苏州市工业园区,无锡市锡山区,徐州市泉山区、铜山区;
3月20日(含)以来途经或旅居山东济宁市曲阜市,烟台市芝罘区;
3月20日(含)以来途经或旅居新疆乌鲁木齐市水磨沟区;
3月19日(含)以来途经或旅居黑龙江牡丹江市爱民区;
3月19日(含)以来途经或旅居吉林白山市浑江区;
3月19日(含)以来途经或旅居江苏盐城市射阳县,镇江市扬中市;
3月19日(含)以来途经或旅居浙江杭州市余杭区,宁波市海曙区;
3月19日(含)以来途经或旅居新疆昌吉回族自治州昌吉市;
3月18日(含)以来途经或旅居浙江丽水市莲都区;
3月18日(含)以来途经或旅居黑龙江伊春市伊美区;
3月18日(含)以来途经或旅居江苏宿迁市宿城区,徐州市鼓楼区;
3月18日(含)以来途经或旅居安徽淮南市田家庵区;
3月17日(含)以来途经或旅居浙江嘉兴市南湖区;
3月17日(含)以来途经或旅居山东枣庄市台儿庄区、薛城区;
3月17日(含)以来途经或旅居广西百色市靖西市;
3月17日(含)以来途经或旅居安徽淮南市寿县;
3月16日(含)以来途经或旅居河南漯河市临颍县;
3月16日(含)以来途经或旅居黑龙江佳木斯市汤原县;
3月16日(含)以来途经或旅居吉林四平市铁西区;
3月16日(含)以来途经或旅居江苏南通市苏锡通产业园区、通州区;
3月16日(含)以来途经或旅居浙江杭州市临平区;
3月16日(含)以来途经或旅居安徽阜阳市颍州区,淮南市凤台县;
3月16日(含)以来途经或旅居广东肇庆市高要区;
3月16日(含)以来途经或旅居甘肃兰州市西固区;
3月15日(含)以来途经或旅居黑龙江哈尔滨市南岗区;
3月15日(含)以来途经或旅居辽宁鞍山市台安县;
3月15日(含)以来途经或旅居江苏苏州市相城区,南通市如皋市、南通开发区,徐州市睢宁县;
3月14日(含)以来途经或旅居广西百色市那坡县;
3月13日(含)以来途经或旅居吉林四平市铁东区;
3月13日(含)以来途经或旅居江苏苏州市常熟市、太仓市;
3月13日(含)以来途经或旅居广东东莞市高埗镇;
3月13日(含)以来途经或旅居广西防城港市防城区;
3月12日(含)以来途经或旅居黑龙江哈尔滨市呼兰区;
3月12日(含)以来途经或旅居辽宁葫芦岛市建昌县;
3月12日(含)以来途经或旅居江苏南通市海门区;
3月12日(含)以来途经或旅居福建福州市闽侯县;
3月11日(含)以来途经或旅居黑龙江黑河市爱辉区;
3月11日(含)以来途经或旅居河南周口市太康县;
3月9日(含)以来途经或旅居江苏苏州市昆山市;
3月7日(含)以来途经或旅居辽宁沈阳市;
3月5日(含)以来途经或旅居山东滨州市邹平市;
3月4日(含)以来途经或旅居辽宁沈阳市辽中区、沈河区、大东区、浑南区;
3月4日(含)以来途经或旅居山东临沂市兰陵县;
3月3日(含)以来途经或旅居辽宁大连市金州区;
3月2日(含)以来途经或旅居云南红河哈尼族彝族自治州河口瑶族自治县;
3月2日(含)以来途经或旅居甘肃兰州市七里河区、城关区;
3月2日(含)以来途经或旅居福建泉州市丰泽区、晋江市、鲤城区;
3月1日(含)以来途经或旅居辽宁沈阳市和平区;
3月1日(含)以来途经或旅居陕西西安市未央区;
2月26日(含)以来途经或旅居甘肃兰州市安宁区;
2月24日(含)以来途经或旅居黑龙江哈尔滨市道外区;
2月21日(含)以来途经或旅居山东青岛市莱西市;
2月20日(含)以来途经或旅居天津市西青区;
2月12日(含)以来途经或旅居广西防城港市东兴市;
1月29日(含)以来途经或旅居云南德宏傣族景颇族自治州瑞丽市;
接到外省(市、县、区)各级疾控中心电话告知的密切接触者等风险人员。
★ 有相关旅居史且已进京人员、接到健康宝弹窗提示人员,均请立即主动向社区、单位、宾馆等报告,配合做好集中隔离、居家隔离、健康监测、核酸检测等各项防控措施;
★ 机场、车站、道路卡口等交通枢纽,各宾馆、酒店、民宿、学校等单位加强排查管控,按照相关规定严格落实测温验码、查验核酸证明等各项防控措施。发现风险人员,要及时向所在社区(村)等相关部门报告,并配合落实管控措施;
★ 需要居家隔离者请配合管理,足不出户。
健康监测期间应减少外出,必须外出时做好个人防护,本人和同住成员尽量不外出、不聚集、不聚餐。
健康监测期间,来(返)京人员和同住人员一旦出现发热、干咳、咳痰、咽痛、乏力、腹泻、味觉异常、嗅觉异常等症状,不要自行购药、服药,不乘坐公共交通工具、不打网约车等,需立即报告社区,采集标本进行检测并采取相应管控措施。
坚持常态化疫情防控措施。科学佩戴口罩,不握手,勤洗手,常通风,尽量不去人群密集、空气不流通的场所。自觉遵守疫情防控措施。进入公共场所时,要坚持全员健康宝扫码登记入内,配合做好戴口罩、验码测温、一米线等防控措施。出现发热、咳嗽等症状按规定就医。
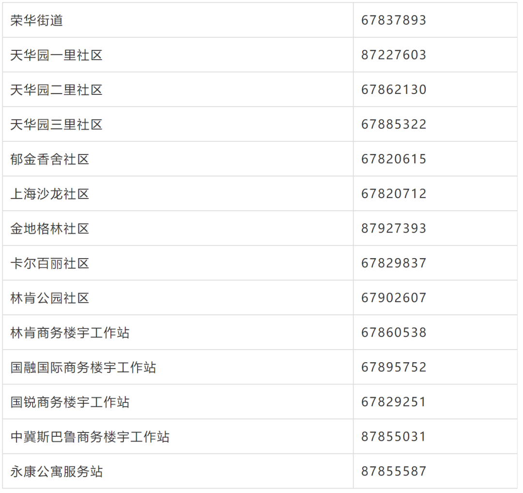
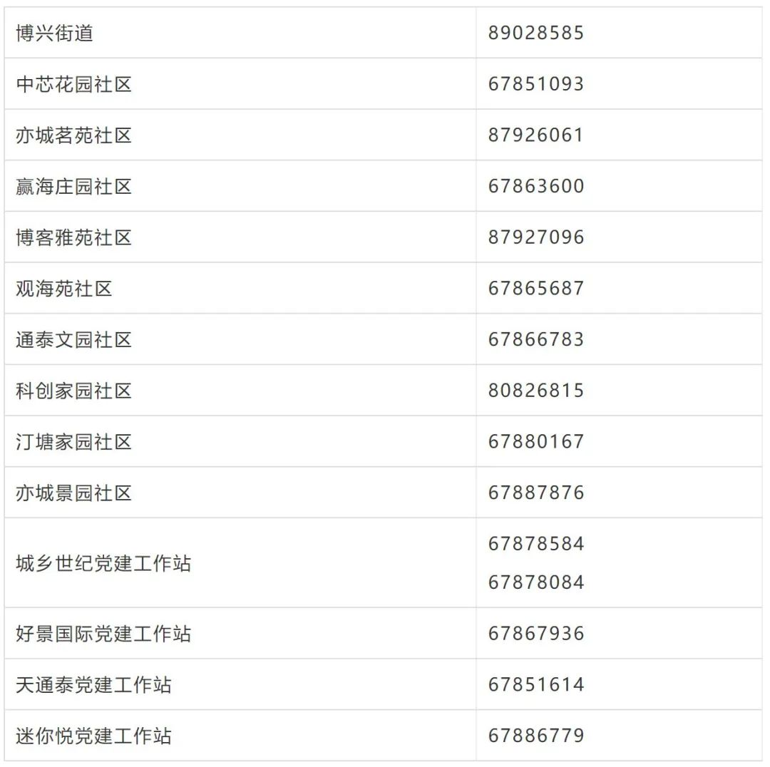
小亦提醒您,如与上述病例存在时空交集或收到健康宝弹窗请迅速向所在单位或社区报备,北京经开区各街道及社区联系电话如下:
荣华街道及各社区联系电话

博兴街道及各社区联系电话

转载自北京市疾病预防控制中心